Nội dung toàn văn Quyết định 31/2004/QĐ-BXD TCXDVN 331 : 2004 "Vật liệu xây dựng - Phương pháp thử tính không cháy"
|
BỘ XÂY DỰNG
|
CỘNG
HÒA XÃ HỘI CHỦ NGHĨA VIỆT NAM
|
|
Số:31/2004/QĐ-BXD |
Hà Nội, ngày 23 tháng 12 năm 2004 |
QUYẾT ĐỊNH
VỀ VIỆC BAN HÀNH TCXDVN 331 : 2004 " VẬT LIỆU XÂY DỰNG - PHƯƠNG PHÁP THỬ TÍNH KHÔNG CHÁY"
BỘ TRƯỞNG BỘ XÂY DỰNG
Căn cứ Nghị định số 36/2003/NĐ-CP ngày 4/4/2003 của Chính
phủ quy định chức năng, nhiệm vụ, quyền hạn và cơ cấu tổ chức của Bộ Xây dựng;
Xét đề nghị của Vụ trưởng Vụ Khoa học Công nghệ,
QUYẾT ĐỊNH
Điều 1. Ban hành kèm theo quyết định này 01 Tiêu chuẩn xây dựng Việt
Nam :TCXDVN 331:2004 " Vật liệu xây dựng -Phương pháp thử tính không cháy"
Điều 2. Quyết định này có hiệu lực sau 15 ngày, kể từ ngày đăng công báo
Điều 3. Các Ông: Chánh văn phòng Bộ, Vụ trưởng Vụ Khoa học Công nghệ và Thủ trưởng các đơn vị có liên quan chịu trách nhiệm thi hành Quyết định này ./.
|
Nơi nhận: |
BỘ TRƯỞNG BỘ XÂY DỰNG |
TCXDVN |
TIÊU CHUẨN XÂY DỰNG VIỆT NAM |
TCXDVN : 2004
en ISO 1182 : 2002
vật liệu xây dựng -
phương pháp thử tính không cháy
Building Materials - Non-combustibility test
Hà Nội - 2004
Lời nói đầu
TCXDVN : 2004 có nội dung kỹ thuật tương đương với EN ISO 1182 : 2002
TCXDVN : 2004 qui định phương pháp xác định tính không cháy cho sản phẩm xây dựng đồng nhất và các thành phần chủ yếu của sản phẩm xây dựng không đồng nhất.
TIÊU CHUẨN XÂY DỰNG VIỆT NAM TCXDVN : 2004
Vật liệu xây dựng -
Phương pháp thử tính không cháy
Building Materials - Non-combustibility test
1 Phạm vi áp dụng
Tiêu chuẩn này qui định phương pháp thử xác định tính không cháy của sản phẩm xây dựng đồng nhất và các thành phần chủ yếu của sản phẩm xây dựng không đồng nhất theo các điều kiện qui định.
Các thông tin về độ chụm của phương pháp được nêu trong phụ lục A.
2 Tài liệu viện dẫn
EN 13238 Reaction to fire tests for building products - Conditioning procedures and general rules for selection of substrates (Các phép thử phản ứng với lửa đối với các sản phẩm xây dựng - Các qui trình bảo dưỡng và các nguyên tắc chung lựa chọn chất nền).
EN ISO 13943 Fire safety Vocabulary (ISO 13943 : 1999) (An toàn cháy - Từ vựng)
EN 60584-2 Thermocouples - Part 2: Tolerances (IEC 60584-2 : 1982 + A1 : 1989) (Cặp nhiệt điện - Phần 2: Dung sai cho phép).
3 Thuật ngữ và định nghĩa
Trong tiêu chuẩn này sử dụng các thuật ngữ và định nghĩa nêu trong EN ISO 13943 và các thuật ngữ, định nghĩa sau:
3.1 Sản phẩm đồng nhất (homogeneous product)
sản phẩm được tạo thành từ một loại vật liệu có khối lượng riêng và thành phần không đổi trong toàn bộ sản phẩm.
3.2 Sản phẩm không đồng nhất (non-homogeneous product)
sản phẩm không thỏa mãn các yêu cầu của sản phẩm đồng nhất. Là một sản phẩm bao gồm nhiều thành phần chủ yếu và/hoặc không chủ yếu.
3.3 Thành phần chủ yếu (substantial component)
vật liệu tạo nên một phần đáng kể của một sản phẩm không đồng nhất. Một lớp có khối lượng/đơn vị diện tích ³ 1,0 kg/m2 hoặc có chiều dày ³ 1,0 mm có thể coi là thành phần chủ yếu.
4 Thiết bị thử
Thiết bị thử gồm một lò, lò này đặc biệt có ống lò chế tạo bằng vật liệu chịu lửa được quấn quanh bằng dây điện trở và xung quanh có lớp cách nhiệt. Ống ổn định dòng không khí hình nón cụt được gắn vào đế lò, trên đỉnh lò có cửa lò.
4.1 Lò, đế lò và cửa lò
4.1.1 Ống lò được chế tạo bằng vật liệu chịu lửa cao nhôm như qui định trong bảng 1, có khối lượng thể tích bằng (2800 ± 300) kg/m3 và chiều cao bằng (150 ± 1) mm với đường kính trong bằng (75 ± 1) mm và chiều dày thành ống bằng (10 ± 1) mm.
Bảng 1 - Thành phần hóa của vật liệu chịu lửa chế tạo ống lò
|
Chất |
Hợp phần, % khối lượng |
|
Nhôm oxit (Al2O3), hoặc Silic oxit và Nhôm oxit (SiO2, Al2O3) |
> 89 > 98 |
|
Sắt III oxit (Fe2O3) |
<> |
|
Titan đioxit (TiO2) |
<> |
|
Mangan oxit (Mn3O4) |
<> |
|
Các oxit dạng vết khác(các oxit natri, kali, canxi và magiê) |
Lượng còn lại |
4.1.2 Ống lò được đặt giữa tâm vỏ lò, lớp vỏ này được chế tạo từ vật liệu cách nhiệt có chiều cao 150 mm và chiều dày thành bằng 10 mm, phía trên và dưới gắn các tấm phẳng có lỗ để cố định ống lò. Khoảng không giữa ống lò và vỏ lò được nhồi bằng vật liệu cách nhiệt phù hợp. Ví dụ điển hình được nêu trong phụ lục B.
4.1.3 Phần dưới của ống lò nối với ống ổn định dòng không khí hình nón cụt dài 500 mm có đường kính trong giảm đều từ (75 ± 1) mm tại đỉnh đến (10 ± 0,5) mm tại đáy. Ống ổn định được chế tạo từ thép tấm có chiều dày 1 mm, mặt trong nhẵn bóng. Phía ngoài nửa trên của ống ổn định được cách nhiệt bằng vật liệu cách nhiệt phù hợp. Ví dụ điển hình được nêu trong phụ lục B.
4.1.4 Trên đỉnh lò có cửa lò được làm từ cùng loại vật liệu như ống ổn định hình nón cụt có chiều cao bằng 50 mm và đường kính trong bằng (75 ± 1) mm, cửa lò và chỗ nối với đỉnh lò có mặt trong nhẵn bóng, phía ngoài được cách nhiệt bằng vật liệu cách nhiệt phù hợp. Ví dụ điển hình được nêu trong phụ lục B.
4.1.5 Lò, ống ổn định và cửa lò được gắn trên chân đế chắc, nằm ngang có tấm chắn được gắn với bộ chân đế để giảm gió lùa quanh đáy của ống hình nón cụt. Tấm chắn có chiều cao 550mm và đáy của ống ổn định hình nón cụt cách bản đế 250 mm.
4.2 Giá để mẫu và bộ phận đưa mẫu vào lò
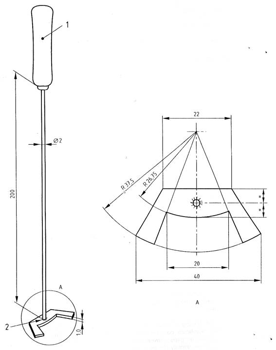
4.2.1 Giá để mẫu như qui định trên hình 1, được làm từ sợi thép bền nhiệt hoặc niken/crom. Dưới đáy của giá để mẫu đặt một khay kim loại mỏng làm bằng lưới thép bền nhiệt. Khối lượng giá đỡ là (15 ± 2) g.
4.2.2 Giá để mẫu được treo tự do ở đầu dưới của ống thép không gỉ, ống này có đường kính ngoài bằng 6 mm và đường kính lỗ bên trong bằng 4 mm.
4.2.3 Giá để mẫu được gắn với bộ phận đưa mẫu vào lò để đảm bảo đưa êm mẫu xuống chính xác trục lò. Bộ phận đưa mẫu gồm một que trượt kim loại chuyển động tự do theo thanh dọc định hướng lắp cạnh lò.
4.2.4 Đối với vật liệu rời, giá để mẫu phải là hình trụ có các kích thước ngoài bằng kích thước mẫu (xem 5.1) và được làm bằng lưới thép mỏng bền nhiệt, tương tự như lưới thép đặt tại đáy của giá để mẫu bình thường được qui định ở 4.2.1. Giá để mẫu loại này có đỉnh trên để mở, khối lượng giá không được vượt quá 30 g.
4.3 Cặp nhiệt điện (Nhiệt ngẫu)
4.3.1 Dùng cặp nhiệt điện có đường kính dây 0,3 mm, đường kính ngoài 1,5 mm. Đầu nóng được cách nhiệt và không nối đất. Có thể dùng cặp nhiệt điện loại K hoặc N, dung sai cấp 1, lớp vỏ bọc ngoài bằng thép không gỉ hoặc hợp kim gốc niken.
4.3.2 Tất cả các cặp nhiệt điện mới đều phải làm cũ nhân tạo trước khi sử dụng để giảm độ phản xạ.
4.3.3 Đầu nóng cặp nhiệt điện của lò được đặt cách thành ống (10 ± 0,5) mm và tại chiều cao tương ứng với tâm của ống lò (xem hình 2). Có thể dùng thanh dẫn định vị để đặt cặp nhiệt điện như mô phỏng trên hình 3 và phải duy trì vị trí này bằng sự trợ giúp của thanh dẫn gắn với cửa lò.
4.3.4 Các thông tin chi tiết về các cặp nhiệt điện cần dùng bổ sung và cách định vị chúng được nêu trong phụ lục C.
4.4 Bộ cảm biến nhiệt
Bộ cảm biến nhiệt được làm từ loại cặp nhiệt điện như qui định trong 4.3.1 và 4.3.2, là hình trụ bằng đồng có đường kính (10 ± 0,2) mm và chiều cao (15 ± 0,2) mm.
4.5 Gương
Để tiện quan sát sự duy trì cháy và để an toàn cho người vận hành cần lắp gương trên thiết bị, chú ý vị trí của gương để không ảnh hưởng đến phép thử. Đặt gương hình vuông có cạnh
300 mm, nghiêng một góc 30o so với phương nằm ngang, cách phía trên lò 1 m.
4.6 Cân
Yêu cầu cân có độ chính xác đến 0,01 g.
4.7 Ổn áp
Dùng máy ổn áp tự động một pha có công suất không nhỏ hơn 1,5 kVA.
Thiết bị này có khả năng duy trì độ chính xác điện áp đầu ra trong vòng ± 1 % của giá trị qui định từ 0 đến tải toàn phần.
4.8 Biến thế tự ngẫu
Biến thế tự ngẫu phải có khả năng duy trì được ít nhất 0,15 kVA và điều chỉnh điện áp đầu ra từ 0 đến giá trị lớn nhất bằng điện áp đầu vào. Điện áp đầu ra phải thay đổi tuyến tính trên toàn bộ dải điện áp.
Kích thước tính bằng milimét
![]() |
Chú dẫn
|
1 ống thép không gỉ |
Tc Cặp nhiệt điện ở trung tâm mẫu |
|
2 Kích thước mắt lưới 0,9 mm đường kính dây 0,4 mm |
Ts Cặp nhiệt điện ở bề mặt mẫu |
|
|
Chú thích: Sử dụng Tc và Ts tuỳ ý |
Hình 1 - Giá để mẫu
![]() |
Kích thước tính bằng milimét
Chú dẫn `
|
1 Thành lò |
TF Cặp nhiệt điện của lò |
|
2 Điểm giữa vùng nhiệt độ không đổi |
TC Cặp nhiệt điện ở trung tâm mẫu |
|
3 Cặp nhiệt điện có vỏ bọc |
TS Cặp nhiệt điện trên bề mặt mẫu |
|
4 Lỗ có đường kính 2 mm |
|
|
5 Điểm tiếp xúc giữa cặp nhiệt điện và vật liệu |
Chú thích: Sử dụng TC và TS tùy ý |
Hình 2 - Vị trí của lò, mẫu và cặp nhiệt điện
|
|
![]() |
Chú dẫn
1 Tay nắm bằng gỗ
2 Mối hàn
Hình 3 - Thanh dẫn định vị
4.9 Thiết bị kiểm soát dòng điện vào
Thiết bị gồm có amper kế, vôn kế hoặc oát kế. Thiết bị này phải có khả năng đo các thông số của dòng điện như qui định ở 6.2.3.
4.10 Thiết bị điều chỉnh năng lượng
Có thể dùng thiết bị này thay cho ổn áp, biến thế tự ngẫu và thiết bị kiểm soát dòng điện vào như qui định ở 4.7; 4.8 và 4.9. Thiết bị này phải là loại lắp với bộ thyristo có mồi lệch pha với công suất 1,5 kVA. Điện áp lớn nhất không được vượt quá 100V và giới hạn dòng điện phải được điều chỉnh để đạt "100% công suất" tương đương với thông số đặc trưng lớn nhất của cuộn gia nhiệt. Độ ổn định của thiết bị điều chỉnh năng lượng phải xấp xỉ 1,0% và độ lặp lại phải là ± 1,0%. Công suất đầu ra phải tuyến tính trong dải qui định.
4.11 Thiết bị hiển thị và ghi nhiệt độ
Thiết bị hiển thị nhiệt độ phải có khả năng đo được đầu ra của cặp nhiệt điện chính xác đến 1oC hoặc giá trị tương đương tính theo milivon. Thiết bị này có tốc độ ghi ổn định tại các khoảng thời gian không lớn hơn 1 s.
CHÚ THÍCH: thiết bị số hoặc thiết bị ghi dạng biểu đồ nhiều cấp có dải làm việc sai lệch toàn thang đo là 10 mV với điểm "0" bằng xấp xỉ 700 oC .
4.12 Thiết bị đo thời gian
Dùng đồng hồ bấm giây có độ chính xác đến 1 giây trong 1 giờ.
4.13 Bình hút ẩm
Sử dụng bình hút ẩm để bảo quản các mẫu đã bảo dưỡng (xem 5.2.3).
5 Mẫu thử
5.1 Qui định chung
Các mẫu thử có dạng hình trụ, mỗi mẫu có thể tích bằng (76 ± 8) cm3, đường kính bằng 45-2 mm và chiều cao bằng (50 ± 3) mm.
5.2 Chuẩn bị mẫu thử
5.2.1 Nếu chiều dày của vật liệu thử khác (50 ± 3) mm, thì tạo các mẫu có chiều cao (50 ± 3) mm bằng cách xếp các lớp vật liệu cho đủ độ dày hoặc điều chỉnh độ dày của vật liệu.
5.2.2 Xếp các lớp nằm ngang trong giá để mẫu và dùng hai dây thép nhỏ có đường kính lớn nhất bằng 0,5mm để buộc chắc các lớp lại, nhưng không cần nén quá, sao cho không còn không khí giữa các lớp. Các mẫu của vật liệu rời phải đại diện về ngoại quan, khối lượng riêng vv… như khi sử dụng.
CHÚ THÍCH: Khi mẫu được tạo thành từ nhiều lớp, khối lượng riêng tổng thể phải càng sát càng tốt so với khối lượng riêng của sản phẩm do nhà sản xuất công bố.
5.2.3 Trước khi thử, mẫu phải được sấy trong lò có quạt gió ở nhiệt độ (60 ± 5)oC trong khoảng thời gian từ 20 giờ đến 24 giờ, sau đó để nguội đến nhiệt độ phòng trong bình hút ẩm. Xác định khối lượng từng mẫu chính xác đến 0,01g trước khi tiến hành thử.
5.3 Số lượng mẫu
Lấy 5 mẫu để thử theo qui trình nêu ở 6.4.
CHÚ THÍCH: Đối với hệ thống phân loại có thể thử nhiều mẫu hơn so với yêu cầu.
6 Tiến hành thử
6.1 Môi trường thử
Không để thiết bị tiếp xúc với gió hoặc ánh sáng mặt trời hoặc ánh sáng nhân tạo mạnh rọi trực tiếp để tránh ảnh hưởng đến việc quan sát tình trạng cháy bên trong lò.
Trong khi thử nhiệt độ trong phòng không thay đổi quá 5 oC.
6.2 Qui trình lắp đặt thiết bị
6.2.1 Lấy giá để mẫu và giá đỡ ra khỏi lò.
6.2.2 Đặt cặp nhiệt điện như qui định trong 4.3.3 và nếu dùng các cặp nhiệt điện bổ sung thì đặt như qui định trong 4.3.4 và phụ lục C. Nối tất cả các cặp nhiệt điện này với thiết bị hiển thị nhiệt độ.
6.2.3 Nối phần gia nhiệt của lò với ổn áp, biến áp tự ngẫu và thiết bị kiểm soát điện đầu vào hoặc nối với thiết bị điều chỉnh năng lượng như thể hiện trên hình 4. Trong quá trình thử không dùng thiết bị kiểm tra tự động nhiệt của lò.
CHÚ THÍCH 1: Thông thường bộ phận gia nhiệt cần dòng điện giữa 9 A và 10 A tại khoảng 100 V dưới các điều kiện ổn định. Để tránh hiện tượng quá tải dùng dòng lớn nhất không vượt quá 11 A.
CHÚ THÍCH 2: Đối với ống lô mới, ban đầu phải nâng nhiệt từ từ. Áp dụng qui trình phù hợp để tăng nhiệt độ lò theo từng bước khoảng 200oC, giữ khoảng 2 giờ gia nhiệt tại mỗi mức nhiệt độ.
![]() |
Chó dÉn
1 Ampe kế 6 Cuộn dây điện trở
2 ổn áp 7 Cáp bù
3 Biến thế tự ngẫu 8 Thiết bị hiển thị nhiệt độ
4 Cặp nhiệt điện 9 Bộ điều chỉnh năng lượng
5 Hộp điện
Hình 4 - Sơ đồ lắp đặt thiết bị và phụ kiện
6.2.4 Điều chỉnh điện vào lò sao cho nhiệt độ trung bình của lò được ổn định tại (750 ± 5)oC trong vòng ít nhất 10 phút. Khoảng chênh lệch (hồi qui tuyến tính) không lớn hơn 2oC trong vòng 10 phút, và độ lệch lớn nhất cho phép so với nhiệt độ trung bình là không quá 10oC trong 10 phút (xem phụ lục D).
Liên tục ghi lại nhiệt độ.
6.3 Qui trình hiệu chuẩn
6.3.1 Nhiệt độ thành lò
6.3.1.1 Khi nhiệt độ lò ổn định ở (750 ± 5)oC, dùng cặp nhiệt điện và thiết bị hiển thị nhiệt độ để đo nhiệt độ của thành lò. Tiến hành các phép đo trên ba trục đứng của thành lò, khoảng cách giữa các trục bằng nhau. Ghi lại các giá trị nhiệt độ trên mỗi trục tại vị trí tương ứng với điểm giữa chiều cao của ống lò và tại các vị trí 30 mm phía trên và 30 mm phía dưới so với điểm giữa chiều cao này.
Có thể dễ dàng thực hiện qui trình này bằng cách sử dụng thiết bị quét cặp nhiệt điện phù hợp cùng với cặp nhiệt điện và các ống cách nhiệt tại các vị trí đã qui định trên. Phải đặc biệt chú ý sự tiếp xúc giữa cặp nhiệt điện và thành lò, vì nếu tiếp xúc kém dẫn đến các số đọc nhiệt độ thấp. Tại mỗi điểm đo, nhiệt độ đã ghi theo cặp nhiệt điện phải đạt ổn định trước khi ghi số đọc nhiệt độ.
Thu được 9 số đọc nhiệt độ Tij (i = trục 1 đến 3; j = mức a đến c tương ứng với +30 mm; 0 mm và -30 mm) như trên bảng 2.
Bảng 2 - Các vị trí đọc nhiệt độ thành lò
|
|
Mức |
||
|
Trục dọc |
a tại 30 mm |
b tại 0 mm |
c tại - 30 mm |
|
1 (tại 0 0) |
T1;a |
T1;b |
T1;c |
|
2 (tại 120 0) |
T2;a |
T2;b |
T2;c |
|
3 (tại 240 0) |
T3;a |
T3;b |
T3;c |
6.3.1.2 Tính và ghi lại giá trị trung bình cộng của 9 số đọc nhiệt độ đã ghi ở 6.3.1.1, đó là nhiệt độ trung bình của thành lò, Tthành lò.
T1:a + T1:b + T1:c + T2:a + T2:b + T2:c + T3:a + T3:b + T3:c
Tthành lò
= (1) 9
Tính giá trị trung bình cộng của các số đọc nhiệt độ trên 3 trục đã ghi ở 6.3.1.1, đó là nhiệt độ trung bình của thành lò trên 3 trục dọc:
T1:a + T1:b + T1:c
Tthành lò
trục 1 = (2a)
3
T2:a + T2:b + T2:c
Tthành lò
trục 2 = (2b)
3
T3:a + T3:b + T3:c
Tthành lò
trục 3 = (2c)
3
Tính giá trị phần trăm sai số tuyệt đối của nhiệt độ trên 3 trục so với nhiệt độ trung bình của thành lò.
| Tthành lò - Tthành lò trục 1 ½
T sai số
trục 1 = x 100% (3a)
Tthành lò
| Tthành lò - Tthành lò trục 2 ½
T sai số
trục 2 = x 100% (3b)
Tthành lò
| Tthành lò - Tthành lò trục 3½
T sai
số trục 3 = x 100% (3c)
Tthành lò
Tính và ghi lại trung bình cộng sai số của nhiệt độ trên ba trục so với nhiệt độ trung bình của thành lò.
T sai số trục 1 + T sai số trục 2 + T sai số trục 3
Ttrung bình sai số trục = % (4)
3
Tính các giá trị trung bình cộng của các số đọc nhiệt độ trên 3 mức đã ghi ở 6.3.1.1, đó là các nhiệt độ trung bình của thành lò ở 3 mức.
T1:a + T2:a + T3:a
Tthành lò
mức a = (5a)
3
T1:b + T2:b + T3:b
Tthành lò
mức b = (5b)
3
T1:c + T2:c + T3:c
Tthành lò
mức c = (5c)
3
Tính giá trị phần trăm sai số tuyệt đối của nhiệt độ ở 3 mức so với nhiệt độ trung bình của thành lò.
| Tthành lò - Tthành lò mức a½
Tsai
số mức a = x 100% (6a)
Tthành lò
| Tthành lò - Tthành lò mứcl b½
Tsai
số mức b = x 100% (6b)
Tthành lò
| Tthành lò - Tthành lò mức c½
Tsai số
mức c = x 100% (6c)
Tthành lò
Tính và ghi lại trung bình cộng sai số của nhiệt độ ở 3 mức so với nhiệt độ trung bình của thành lò.
Tsai số mức a + Tsai số mức b + Tsai số mức c
Ttrung bình sai số mức = % (7)
3
Sai số trung bình của nhiệt độ trên 3 trục dọc so với nhiệt độ trung bình của thành lò Ttrung bình sai số trục (4) sẽ nhỏ hơn 0,5 %.
Sai số trung bình của nhiệt độ trên 3 mức so với nhiệt độ trung bình của thành lò Ttrung bình sai số mức (7) sẽ nhỏ hơn 1,5 %.
Nhiệt độ trung bình của thành lò tại mức (+30 mm) Tthành lò mức a (5a) phải là nhỏ hơn so với nhiệt độ trung bình của thành lò tại mức (-30 mm), Tthành lò mức c (5c).
6.3.2 Nhiệt độ lò
Khi nhiệt độ lò đạt ổn định ở (750 ± 5)0C và nhiệt độ thành lò đã được kiểm tra như nêu ở 6.3.1 thì tiến hành đo nhiệt độ của lò dọc theo trục giữa tâm bằng bộ cảm biến như qui định ở 4.4 và bộ hiển thị nhiệt độ như qui định trong 4.11. Các bước dưới đây sẽ đạt được bằng cách sử dụng thiết bị định vị phù hợp để đặt chính xác bộ cảm biến nhiệt. Vật chuẩn để định vị theo chiều dọc sẽ là mặt trên của ống hình trụ bằng đồng của bộ cảm biến nhiệt.
Ghi lại nhiệt độ của lò dọc theo trục giữa tâm tại vị trí tương ứng với điểm giữa chiều cao của ống lò. Từ điểm này, dịch chuyển bộ cảm biến nhiệt xuống dưới theo từng mức, mỗi mức lớn nhất là 10 mm cho đến đáy lò và ghi lại nhiệt độ tại mỗi vị trí khi đạt ổn định.
Dịch chuyển bộ cảm biến nhiệt từ vị trí thấp nhất lên phía trên theo từng mức, mỗi mức lớn nhất là 10 mm cho đến đỉnh lò và ghi lại nhiệt độ tại mỗi vị trí khi đạt ổn định.
Từ trên đỉnh lò dịch chuyển bộ cảm biến nhiệt xuống dưới theo từng mức 10 mm cho đến điểm giữa lò và ghi lại nhiệt độ tại từng vị trí khi ổn định.
Tại mỗi vị trí ghi lại 2 số đo nhiệt độ, một số theo chiều đi lên, một số theo chiều đi xuống. Báo cáo giá trị trung bình cộng của các nhiệt độ này kèm theo khoảng cách.
Nhiệt độ trung bình tính được tại từng mức sẽ nằm trong phạm vi các giới hạn dưới đây (xem hình 5):
Tmin = 541,653 + (5,901 ´ x) - (0,067 ´ x2) + (3,375 ´ 10-4 ´ x3) - (8,553 ´ 10-7 ´ x4)
Tmax = 613,906 + (5,333 ´ x) - (0,081 ´ x2) + (5,779 ´ 10-4 ´ x3) - (1,767 ´ 10-6 ´ x4)
trong đó x là chiều cao của lò (tính bằng mm) và x = 0 mm tương ứng với đáy lò.
![]() |
Các giá trị trên hình 5 được nêu trong bảng 3.
|
1 ChiÒu cao lß (mm)
2 NhiÖt ®é
|
3 §Ønh lß
4 Giíi h¹n díi
5 Giíi h¹n trªn
6 §¸y lß
H×nh 5 - BiÓu ®å nhiÖt ®é däc theo trôc gi÷a lß ®îc ®o b»ng bé c¶m biÕn nhiÖt.
B¶ng 3 - Gi¸ trÞ biÕn thiªn nhiÖt ®é lß
|
ChiÒu cao lß (mm) |
Tmin (oC) |
Tmax (oC) |
|
145 135 125 115 105 95 85 75 65 55 45 35 25 15 5 |
639,4 663,5 682,8 697,9 709,3 717,3 721,8 722,7 719,6 711,9 698,8 679,3 652,2 616,2 569,5 |
671,0 697,5 716,1 728,9 737,4 742,8 745,9 747,0 746,0 742,5 735,5 723,5 705,0 677,5 638,6 |
6.3.3 Yêu cầu thực hiện qui trình
Thực hiện các qui trình nêu trong 6.3.1 và 6.3.2 khi lò mới đưa vào sử dụng hoặc khi thay một trong các chi tiết như: ống lò, cuộn dây, lớp cách nhiệt, nguồn điện cấp.
6.4 Qui trình thử tiêu chuẩn
6.4.1 Ổn định lò theo qui định ở 6.2.4
Nếu máy ghi không tính được thời gian thực thì ngay sau đó phải kiểm tra sự ổn định về nhiệt độ. Nếu không thoả mãn các điều kiện ghi trong 6.2.4 thì tiến hành thử lại.
6.4.2 Trước khi tiến hành thử, phải đảm bảo toàn bộ thiết bị sẵn sàng vận hành tốt, ví dụ ống ổn định sạch, thiết bị đưa mẫu vào làm việc trơn tru và giá để mẫu được đặt đúng vị trí trong lò.
6.4.3 Đưa mẫu đã được chuẩn bị và bảo dưỡng vào trong giá để mẫu và được treo trên giá đỡ. Đặt giá để mẫu vào lò tại đúng vị trí qui định, thời gian thao tác không quá 5 giây.
6.4.4 Bấm đồng hồ đo thời gian ngay sau khi đưa mẫu vào lò.
6.4.5 Trong suốt quá trình thử ghi lại nhiệt độ đo được bằng cặp nhiệt điện của lò (4.3.3) và nếu cần (xem phụ lục C) ghi lại nhiệt độ đo được bằng cặp nhiệt điện trên bề mặt và cặp nhiệt điện trung tâm.
6.4.6 Thực hiện phép thử trong 30 phút
Nếu sự cân bằng nhiệt độ cuối cùng đạt được (tức là khi sự chênh lệch nhiệt độ đạt được theo cặp nhiệt điện lò không quá 2 oC sau 10 phút) sau 30 phút thì dừng phép thử. Nếu ngược lại, tại thời điểm 30 phút không đạt được sự cân bằng nhiệt độ theo cặp nhiệt điện thì tiếp tục phép thử, cứ 5 phút kiểm tra lại sự cân bằng nhiệt độ cuối. Dừng phép thử khi sự cân bằng được thiết lập theo cặp nhiệt điện hoặc sau 60 phút và ghi lại khoảng thời gian của phép thử. Sau đó lấy mẫu ra khỏi lò. Kết thúc phép thử cũng là kết thúc của khoảng thời gian 5 phút cuối hoặc 60 phút (xem phụ lục D).
Nếu máy ghi không tính được thời gian thực thì sau phép thử phải kiểm tra lại các số ghi cuối cùng. Nếu không thoả mãn các yêu cầu đã qui định ở trên thì tiến hành thử lại.
Nếu dùng các cặp nhiệt điện bổ sung thì phép thử sẽ dừng khi tất cả các cặp nhiệt điện đạt được sự cân bằng nhiệt độ cuối cùng, hoặc sau 60 phút.
6.4.7 Sau khi để mẫu nguội đến nhiệt độ môi trường trong bình hút ẩm, tiến hành cân mẫu. Thu lại các mảnh cháy, tro và mảnh vỡ hoặc các mảnh rơi từ ống trong quá trình thử và gộp các mảnh vụn này vào phần chưa cháy của mẫu.
6.4.8 Tiến hành thử tất cả 5 mẫu như đã nêu từ 6.4.1 đến 6.4.7.
6.5 Quan sát trong quá trình thử
6.5.1 Trước và sau khi thử theo điều 6.4 cân khối lượng từng mẫu thử theo gam và ghi lại các quan sát liên quan đến phản ứng/biểu hiện của mẫu trong quá trình thử.
6.5.2 Theo dõi và ghi lại thời gian mẫu cháy thành ngọn lửa theo giây. Thời gian mẫu cháy thành ngọn lửa liên tục ít nhất trong 5 giây hoặc lâu hơn thì được coi là thời gian mẫu cháy.
CHÚ THÍCH: Đôi khi rất khó nhận ra sự cháy. Một vài mẫu chỉ thể hiện vùng khí sáng chói màu xanh ổn định; hiện tượng này không coi là thời gian mẫu cháy nhưng phải ghi vào mục "quan sát quá trình thử" trong báo cáo kết quả.
6.5.3 Ghi lại các nhiệt độ đo được theo các cặp nhiệt điện của lò:
a) Nhiệt độ ban đầu, T1, là nhiệt độ trung bình sau 10 phút cuối của quá trình ốn định như qui định trong 6.2.4;
b) Nhiệt độ lớn nhất, Tm, là giá trị riêng/rời rạc tại bất kỳ vị trí nào trong toàn bộ quá trình thử;
c) Nhiệt độ cuối cùng, Tf, là giá trị trung bình trong 1 phút cuối cùng của quá trình thử như qui định ở 6.4.6.
Phụ lục D nêu các ví dụ về cách ghi nhiệt độ.
Phụ lục C nêu cách ghi các nhiệt độ của cặp nhiệt điện bổ sung (nếu sử dụng).
7 Mô tả kết quả thử
7.1 Sự mất khối lượng
Tính và ghi lại sự mất khối lượng theo % cho từng mẫu trong 5 mẫu, biểu thị theo phần trăm của khối lượng ban đầu của mẫu như qui định ở 6.5.1.
7.2 Sự cháy
Tính và ghi lại tổng thời gian ngọn lửa cháy ổn định theo giây cho từng mẫu trong 5 mẫu thử như qui định ở 6.5.2.
7.3 Sự tăng nhiệt độ
Tính và ghi lại sự tăng nhiệt độ DT = Tm - Tf, theo oC cho từng mẫu trong 5 mẫu thử như qui định trong 6.5.3.
8 Báo cáo kết quả thử nghiệm
Báo cáo kết quả phải có ít nhất các thông tin dưới đây.
Phải phân biệt rõ số liệu được cung cấp và số liệu xác định được theo phép thử.
a) viện dẫn tiêu chuẩn này được áp dụng để tiến hành thử;
b) các sai lệch so với phương pháp thử;
c) tên và địa chỉ phòng thí nghiệm;
d) ngày và số nhận dạng của báo cáo;
e) tên và địa chỉ người đưa mẫu;
f) tên và địa chỉ của nhà sản xuất/người cung cấp, nếu có;
g) ngày gửi mẫu;
h) nhận dạng của sản phẩm;
i) mô tả qui trình lấy mẫu, nếu cần;
j) mô tả khái quát về sản phẩm đem thử, gồm khối lượng riêng, khối lượng/đơn vị diện tích và chiều dày cùng các thông tin về kết cấu của sản phẩm;
k) các thông tin về bảo dưỡng;
l) ngày thử;
m) biểu thị kết quả hiệu chuẩn theo 7.3.1 và 7.3.2;
n) biểu thị kết quả theo điều 8 và C.5 nếu sử dụng các cặp nhiệt điện bổ sung;
o) các quan sát trong khi thử;
p) Lưu ý: Dưới các điều kiện riêng của phép thử, các kết quả liên quan đến biểu hiện của các mẫu thử sản phẩm không phải là các chuẩn cứ duy nhất để đánh giá nguy hiểm cháy tiềm ẩn của sản phẩm khi sử dụng.
Phụ lục A
(Tham khảo)
Độ chụm của phép thử
Ban kỹ thuật CEN/TC27 đã thực hiện phép thử liên phòng. Thủ tục tiến hành thực hiện như qui định trong tiêu chuẩn này. Các sản phẩm đã được thử liên phòng được mô tả trong bảng A.1.
Bảng A.1 - Các sản phẩm thử liên phòng
|
Sản phẩm |
Khối lượng thể tích (kg/m3) |
Chiều dày (mm) |
|
Bông thuỷ tinh |
10,9 |
100 |
|
Bông khoáng |
145 |
50 |
|
Tấm canxi silicat kèm theo xenluloza |
460 |
50,8 |
|
Tấm sợi bông |
50 |
- |
|
Tấm sợi thạch cao (10 % khối lượng sợi giấy) |
1100 |
25 |
|
Vật liệu rời xenluloza FR |
30 |
- |
|
Vật liệu rời bông khoáng |
30 |
- |
|
Vermiculit |
190 |
50,1 |
|
Tấm bê tông polystyren |
- |
- |
Các giá trị trung bình thống kê (M), độ lệch chuẩn (Sr và SR), độ lặp lại (r) và độ tái lập (R) tại mức tin cậy 95 % đã được tính theo TCVN 6190-2 : 2001 (ISO 5725-2) (Bảng A.2) cho ba thông số: sự gia tăng nhiệt độ (DT theo (oC)), mất khối lượng (Dm theo %) và thời gian cháy (tf theo giây). Các giá trị r và R này bằng 2,8 lần độ lệch chuẩn tương ứng. Các giá trị này bao gồm các kết quả xác định là "lệch" nhưng không bao gồm các kết quả xác định là "nằm ngoài".
Bảng A.2 - Kết quả thử nghiệm liên phòng
|
DToC |
Giá trị trung bình thống kê M |
Độ lệch chuẩn Sr |
Độ lệch chuẩn SR |
r |
R |
Sr/m % |
SR/m % |
|
từ 1,60 đến 144,17 |
từ 1,13 đến 20,17 |
từ 1,13 đến 54,26 |
từ 3,15 đến 56,47 |
từ 3,15 đến151,94 |
từ 9,37 đến 70,36 |
từ ,64 đến 0,36 |
|
|
DmoC |
từ 2,12 đến 90,13 |
từ 0,25 đến 1,68 |
từ 0 ,33 đến 3,06 |
từ 0,71 đến 4,70 |
từ 0,93 đến 8,57 |
từ 0,55 đến 30,64 |
từ 1,34 đến 30,64 |
|
tf(s) |
từ 0 đến 251,22 |
từ 0 đến 37,07 |
từ 0 đến 61,75 |
từ 0,00 đến103,73 |
từ 0 đến 172,90 |
từ 9,19 đến 43,37 |
từ 23,94 đến136,19 |
Điều này có thể áp dụng cho tất cả các thông số để thu được các mô hình tuyến tính cho Sr, SR, r và R. Các hệ số được nêu trong bảng A.3. Biểu đồ đối với DT được thể hiện theo ví dụ trên hình A.1. Đối với sự mất khối lượng theo % và thời gian cháy theo giây, các kết quả dẫn đến các mô hình đều ít nhiều thiếu ý nghĩa thậm chí cả khi các kết quả này đúng về mặt thống kê. Các mô hình phức tạp hơn các mô hình tuyến tính đơn giản có thể phù hợp với các thông số này nhưng lại không được xem xét trong chương trình thử nghiệm liên phòng.
Bảng A.3 - Các mô hình thử nghiệm liên phòng
|
Các thông số |
Sr |
SR |
r |
R |
|
DT(oC) |
= 1,26 + 0,10 x DT |
= 0,96 + 0,26 x DT |
= 3,53 + 0,29 x DT |
= 2,68 + 0,73 x DT |
|
Dm (%) |
= 0,00 + 0,09 x Dm |
= 0,00 + 0,11 x Dm |
= 0,00+ 0,24 x Dm |
= 0,00+ 0,30 x Dm |
|
tf(s) |
= 0,00 + 0,14 x tf |
= 0,00 + 0,32 x tf |
= 0,00 + 0,38 x tf |
= 0,00 + 0,89 x tf |
Khi các mô hình phù hợp chính xác với thông số, thì chúng có thể là một công cụ để "đoán trước" kết quả. Điều này có thể mô phỏng theo ví dụ: Giả sử một phòng thử nghiệm tiến hành thử một mẫu đơn của một sản phẩm cho trước và xác định thấy sự gia tăng nhiệt độ DT bằng 25 oC. Nếu cùng phòng thử nghiệm này tiến hành phép thử thứ hai trên cùng một sản phẩm này, giá trị r được xác định là:
r = 3,53 + 0,29 x 25 » 11oC
Thì với xác suất bằng 95 %, kết quả của phép thử lần hai sẽ nằm giữa 14 oC và 36 oC.
Giả sử cùng sản phẩm này được thử ở phòng thử nghiệm khác. Giá trị R được xác định là:
R = 2,68 + 0,73 x 25 » 21 oC
Thì với xác suất bằng 95%, kết quả của phép thử tiến hành tại phòng thử nghiệm đó sẽ nằm giữa 4oC và 46oC.
|
Phụ lục B
(Tham khảo)
Thiết kế điển hình các thiết bị thử
B.1 Qui định chung
Sơ đồ bố trí điển hình của thiết bị được nêu trên hình B.1.
B.2 Ống lò
Ống lò được quấn quanh bằng một cuộn dây điện trở niken/crom 80/20 rộng 3 mm, dày 0,2 mm và có thể được quấn như qui định trên hình B.2. Có thể khứa các rãnh vào ống để quấn dây được chính xác, theo qui định của nhà sản xuất.
Khoảng không hình vành khuyên giữa ống và thành cách nhiệt bên ngoài có thể chèn đầy bằng bột magiê oxít có khối lượng thể tích bằng (170 ±30) kg/m3.
B.3 Ống ổn định dòng không khí
Nửa phần trên của ống ổn định có thể được cách nhiệt bên ngoài bằng một lớp vật liệu cách nhiệt sợi khoáng dày 25 mm có độ dẫn nhiệt bằng (0,04 ± 0,01) W/(m K) tại nhiệt độ trung bình 20oC.
B.4 Cửa lò
Mặt ngoài của cửa lò có thể được cách nhiệt bằng một lớp vật liệu cách nhiệt sợi khoáng có độ dẫn điện bằng (0,04 ± 0,01) W/(m K) tại nhiệt độ trung bình 20oC.
![]() |
Kích thước tính bằng milimét
Chú dẫn
|
1 Chân đế |
7 Thanh thép chịu nhiệt dùng để đưa mẫu |
13 Thành cách nhiệt bên ngoài |
|
2 Cách nhiệt |
8 Thanh chốt |
14 Xi măng sợi khoáng |
|
3 Bột magie oxít |
9 Cặp nhiệt điện của mẫu (tuỳ chọn) |
15 Lớp chèn |
|
4 ống lò |
10 ống thép không gỉ |
16 ống ổn định hình nón cụt |
|
5 Cuộn dây |
11 Giá để mẫu |
17 Tấm chắn kim loại |
|
6 Cửa lò |
12 Cặp nhiệt điện của lò |
|
Hình B.1 - Sơ đồ lắp đặt thiết bị thử
Kích thước tính bằng milimét
Chú dẫn
1 Đỉnh 3 Dây điện trở
2 Đáy 4 ống lò
Hình B.2 - Sơ đồ quấn dây điện trở của lò
Phụ lục C
(Qui định)
Cặp nhiệt điện dùng cho các phép đo bổ sung
C.1 Qui định chung
Ngoài các cặp nhiệt điện dùng để đo nhiệt độ lò và nhiệt độ thành lò, nếu cần thì phải có thêm các cặp nhiệt điện để đo nhiệt độ trong vùng trung tâm và trên bề mặt của mẫu. Các qui định cụ thể và cách sử dụng hai cặp nhiệt điện bổ sung này được nêu trong C.2 đến C.4.
C.2 Vị trí của cặp nhiệt điện
C.2.1 Cặp nhiệt điện đặt tại vùng trung tâm của mẫu
Cặp nhiệt điện này được định vị sao cho đầu nóng được đặt tại giữa tâm mẫu (xem hình 1 và 2). Để đạt được điều này, phần trên của mẫu thử tạo một lỗ dọc có đường kính 2 mm.
C.2.2 Cặp nhiệt điện ở trên mặt mẫu thử
Cặp nhiệt điện này được định vị sao cho đầu nóng tiếp xúc với mẫu tại khoảng giữa mẫu ngay khi bắt đầu phép thử và phải nằm đối diện hoàn toàn với cặp nhiệt điện của lò (xem Hình 1 và 2).
C.3 Tiến hành thử
Thực hiện phép thử như mô tả ở điều 6 và ghi lại các nhiệt độ đo được bằng cả hai cặp nhiệt điện trong suốt quá trình thử.
CHÚ THÍCH: Trong một vài trường hợp cặp nhiệt điện không cung cấp thêm các thông tin bổ sung thì khi đó không cần dùng nữa. Điều này áp dụng cho các loại vật liệu không ổn định nhiệt.
C.4 Quan sát trong khi thử
Ngoài các qui định về quan sát nêu trong 6.5, phải ghi các thông tin dưới đây;
a) nhiệt độ lớn nhất của cặp nhiệt điện ở tâm mẫu, Tc (max);
b) nhiệt độ cuối cùng của cặp nhiệt điện ở tâm mẫu, Tc (final);
c) nhiệt độ lớn nhất của cặp nhiệt điện ở bề mặt mẫu, Ts (max);
d) nhiệt độ cuối cùng của cặp nhiệt điện ở bề mặt mẫu, Tc (final);
Các nhiệt độ lớn nhất và cuối cùng đối với các cặp nhiệt điện ở tâm và trên bề mặt mẫu được qui định trong 6.5.3 là Tmax và T1 tương ứng.
C.5 Mô tả kết quả
Sự tăng nhiệt độ, theo oC, được tính từ các nhiệt độ ghi được trên hai cặp nhiệt điện cho từng mẫu như sau:
a) Cặp nhiệt điện ở giữa mẫu:
DTc = Tc(max) - Tc(final)
b) Cặp nhiệt điện ở trên bề mặt mẫu:
DTs = Ts(max) - Ts(final)
Phụ lục D
(Tham khảo)
Ghi nhiệt độ
D.1 Sự ổn định nhiệt độ ban đầu
Các tiêu chuẩn xác định về sự ổn định nhiệt độ ban đầu được nêu trong 6.2.4. Sau 10 phút các điều kiện là:
· nhiệt độ trung bình Tthành lò oC = (750 ± 5) oC và
· ½T - Tthành lò½ £ 10 oC và
· chênh lệch (hồi qui tuyến tính) £ 2 oC
Điều này được mô phỏng bằng ví dụ nêu trong hình D.1:
· nhiệt độ trung bình: 750,4 oC
· độ lệch tối đa của nhiệt độ = 4,3 oC
· chênh lệch = 0,7 oC
![]() |
Theo định nghĩa của nhiệt độ ban đầu đã nêu ở 7.5.3 là T1 oC = Tthành lò. Điều này được mô phỏng bằng ví dụ nêu ở hình D.1: Ti = 750,4 oC
CHÚ DẪN
1 Nhiệt độ oC
2 Thời gian (giây)
Hình D.1 - Thí dụ về sự ổn định nhiệt độ ban đầu
D.2 Sự ổn định nhiệt độ cuối cùng
Nếu trong vòng 30 phút đạt được tiêu chuẩn ổn định thì phép thử kết thúc tại thời điểm 30 phút. Nếu tiêu chuẩn ổn định đạt được trong khoảng từ 30 phút đến 60 phút thì thời gian đó sẽ là điểm kết thúc phép thử. Nếu không đạt tiêu chuẩn ổn định thì phép thử sẽ kết thúc tại thời điểm 60 phút.
Tiêu chuẩn ổn định đạt được khi chênh lệch (hồi qui tuyến tính) nhiệt độ là trong khoảng 2 oC đối với chu kỳ 10 phút, được hiệu chuẩn tại các khoảng thời gian 5 phút.
Điều này được mô phỏng bằng ví dụ nêu trên hình D.2 và bảng D.1
Sự chênh lệch (hồi qui tuyến tính) nhiệt độ là thấp hơn 2 oC trong khoảng 35 phút và 45 phút (chu kỳ 10 phút). Vì vậy tiêu chuẩn ổn định của nhiệt độ cuối cùng đạt được tại 45 phút, như vậy kết
![]() |
thúc phép thử là 45 phút.
Chó dÉn
1 Nhiệt độ oc
2 Thời gian (giây)
3 Sự chênh lệch (20 phút - 30 phút) = 2,76 oC
4 Sự chênh lệch (25 phút - 35 phút) = 2,15 oC
5 Sự chênh lệch (30 phút - 40 phút) = 2,80 oC
6 Sự chênh lệch (35 phút - 45 phút) = 0,84 oC
7 Kết thúc phép thử = 45 phút.
Hình D.2 - Thí dụ về sự ổn định nhiệt độ cuối cùng
D.3 Xác định sự tăng nhiệt độ
Mức gia tăng nhiệt độ được qui định trong 6.3, tính theo Tm oC và Tf oC. Điều này được mô phỏng bằng hai ví dụ điển hình về ghi nhiệt độ, thể hiện trên hình D.3 và D.4, các kết quả thử được tóm tắt trong bảng D.1.
![]() |
Bảng D.1 - Các kết quả thử
|
Ví dụ |
Kết thúc phép thử |
Ti |
Tm |
Tf |
Tm - Tf |
|
Hình D.3 |
30 phút |
750,4 oC |
877,8 oC |
802,3 oC |
75,5 oC |
|
Hình D.4 |
45 phút |
748,4 oC |
807,4 oC |
804,4 oC |
2,6 oC |
Chú dẫn
1 Nhiệt độ oc
2 Thời gian (giây)
3 Kết thúc phép thử = 30 phút.
Hình D.3 - Thí dụ về ghi nhiệt độ trong một phép thử A
Chú dẫn
1 Nhiệt độ oc
2 Thời gian (giây)
3 Kết thúc phép thử = 45 phút.
Hình D.4 - Thí dụ về ghi nhiệt độ trong một phép thử B
Phụ lục E
(Tham khảo)
Phân loại vật liệu xây dựng theo độ cháy
( ГOCT 30244-94: MATEPИAЛЫ CTPOИTEЛЪHЫE METOДЫ ИCПЫTAHИЙ HA ГOPЮЧECTЬ)
Để xác định vật liệu xây dựng thuộc nhóm cháy hay không cháy cần dựa vào các tiêu chí đánh giá sau:
- Sự tăng nhiệt độ lò trong quá trình thử;
- Sự mất khối lượng của mẫu sau khi thử;
- Thời gian mẫu cháy thành ngọn lửa liên tục trong quá trình thử.
Vật liệu xây dựng thuộc nhóm không cháy phải thỏa mãn các giá trị sau:
- Nhiệt độ lò tăng £ 500C
- Khối lượng mẫu giảm £ 50%
- Thời gian mẫu cháy thành ngọn lửa liên tục £ 10 giây.
Những vật liệu xây dựng không thỏa mãn dù chỉ một thông số trên cũng thuộc loại nhóm cháy








