Tiêu chuẩn quốc gia TCVN 6238-4A:2011 (ISO 8124-4:2010) về An toàn đồ chơi trẻ em - Phần 4A: Đu, cầu trượt và các đồ chơi vận động tương tự sử dụng tại gia đình đã được thay thế bởi Tiêu chuẩn quốc gia TCVN 6238-4A:2017 (ISO 8124-4:2014) về An toàn đồ chơi trẻ em - Phần 4A: Đu, cầu trượt và các đồ chơi vận động tương tự sử dụng tại gia đình .
Nội dung toàn văn Tiêu chuẩn quốc gia TCVN 6238-4A:2011 (ISO 8124-4:2010) về An toàn đồ chơi trẻ em - Phần 4A: Đu, cầu trượt và các đồ chơi vận động tương tự sử dụng tại gia đình
TIÊU CHUẨN QUỐC GIA
TCVN 6238-4A:2011
ISO 8124-4:2010
AN TOÀN ĐỒ CHƠI TRẺ EM - PHẦN 4A: ĐU, CẦU TRƯỢT VÀ CÁC ĐỒ CHƠI VẬN ĐỘNG TƯƠNG TỰ SỬ DỤNG TẠI GIA ĐÌNH
Safety of toys - Part 4: Swings, slides and similar activity toys for indoor and outdoor family domestic use
Lời nói đầu
TCVN 6238-4A:2011 hoàn toàn tương đương với ISO 8124-4:2010.
TCVN 6238-4A:2011 do Ban kỹ thuật Tiêu chuẩn quốc gia TCVN/TC 181 An toàn đồ chơi trẻ em biên soạn, Tổng cục Tiêu chuẩn Đo lường Chất lượng đề nghị, Bộ Khoa học và Công nghệ công bố.
Bộ TCVN 6238, An toàn đồ chơi trẻ em, gồm các phần sau:
- TCVN 6238-1:2011 (ISO 8124-1:2009), Phần 1: Các yêu cầu an toàn liên quan đến tính chất cơ lý;
- TCVN 6238-2:2008 (ISO 8124-2:2007), Phần 2 : Yêu cầu chống cháy;
- TCVN 6238-3:2011 (ISO 8124-3:2010), Phần 3: Giới hạn mức thôi nhiễm của một số nguyên tố độc hại;
- TCVN 6238-4A:2011 (ISO 8124-4:2010), Phần 4A: Đu, cầu trượt và các đồ chơi vận động tương tự sử dụng tại gia đình;
- TCVN 6238-4:1997 (EN 71-4:1990), Phần 4: Bộ đồ chơi thực nghiệm về hóa học và các hoạt động liên quan;
- TCVN 6238-5:1997 (EN 71-5:1993), Phần 5: Bộ đồ chơi hóa học ngoài bộ đồ chơi thực nghiệm;
- TCVN 6238-9:2010 (EN 71-9:2005), Phần 9: Hợp chất hóa học hữu cơ - Yêu cầu chung;
- TCVN 6238-10:2010 (EN 71-10:2005), Phần 10: Hợp chất hóa học hữu cơ - Chuẩn bị và chiết mẫu;
- TCVN 6238-11:2010 (EN 71-11:2005), Phần 11: Hợp chất hóa học hữu cơ - Phương pháp phân tích.
Lời giới thiệu
Tiêu chuẩn quốc tế này được xây dựng dựa phần lớn vào tiêu chuẩn EN 71-8 và ASTM F1148.
Tuy nhiên, một đồ chơi được sản xuất phù hợp với tiêu chuẩn này không có nghĩa là sẽ hoàn toàn phù hợp với các yêu cầu quốc gia về an toàn đồ chơi tại thị trường mà sản phẩm đó được phân phối. Vì vậy người sử dụng tiêu chuẩn này cần phải tham khảo thêm các yêu cầu quốc gia có liên quan.
Việc phù hợp với các yêu cầu của tiêu chuẩn này sẽ làm giảm thiểu các nguy cơ tiềm ẩn liên quan đến đồ chơi khi đồ chơi được sử dụng đúng với cách thức đã định (sử dụng thông thường) cũng như khi đồ chơi được sử dụng không đúng cách thức đã định (sử dụng sai có thể dự đoán trước do các hành vi thông thường của trẻ).
Tiêu chuẩn này không loại trừ cũng như không có mục đích loại trừ trách nhiệm của cha mẹ trong việc lựa chọn đồ chơi một cách phù hợp. Ngoài ra, tiêu chuẩn này không loại trừ việc cần thiết phải có sự giám sát của cha mẹ trong các trường hợp mà trẻ em ở các lứa tuổi khác nhau có thể tiếp xúc với cùng một (các) đồ chơi.
AN TOÀN ĐỒ CHƠI TRẺ EM - PHẦN 4A: ĐU, CẦU TRƯỢT VÀ CÁC ĐỒ CHƠI VẬN ĐỘNG TƯƠNG TỰ SỬ DỤNG TẠI GIA ĐÌNH
Safety of toys - Part 4: Swings, slides and similar activity toys for indoor and outdoor family domestic use
1. Phạm vi áp dụng
Xem A.1.
Tiêu chuẩn này quy định các yêu cầu và phương pháp thử đối với đồ chơi vận động sử dụng tại gia đình, dành cho trẻ em dưới 14 tuổi chơi.
Các sản phẩm thuộc phạm vi tiêu chuẩn này bao gồm đu, cầu trượt, đồ chơi bập bênh, đồ chơi cưỡi/quay tròn, đồ chơi cưỡi/ bập bênh, khung trèo, đu có ghế quây kín dành cho trẻ nhỏ đã biết ngồi và các sản phẩm mang khối lượng của một hoặc nhiều trẻ.
Các sản phẩm sau không thuộc phạm vi của tiêu chuẩn này:
a) thiết bị tập thể hình và thiết bị thể thao, trừ khi chúng được gắn cùng với đồ chơi vận động;
b) thiết bị sử dụng trong các trường học, trung tâm chăm sóc trẻ, nhà trẻ, các khu vui chơi công cộng, nhà hàng, các trung tâm mua sắm và các địa điểm công cộng tương tự;
c) các sản phẩm chăm sóc dành cho trẻ em, nhưng không giới hạn như đu dành cho trẻ sơ sinh, nôi cũi, giường hoặc các đồ dùng nội thất bao gồm bàn ăn ngoài trời, ghế/nôi/giường bập bênh và các sản phẩm được thiết kế sử dụng riêng trong chữa bệnh.
2. Tài liệu viện dẫn
Các tài liệu viện dẫn sau rất cần thiết cho việc áp dụng tiêu chuẩn này. Đối với các tài liệu viện dẫn ghi năm công bố thì áp dụng phiên bản được nêu. Đối với các tài liệu viện dẫn không ghi năm công bố thì áp dụng phiên bản mới nhất bao gồm cả các sửa đổi, bổ sung (nếu có).
TCVN 6238-1 (ISO 8124-1), An toàn đồ chơi trẻ em - Phần 1: Các yêu cầu an toàn liên quan đến tính chất cơ lý.
3. Thuật ngữ và định nghĩa
Trong tiêu chuẩn này áp dụng các thuật ngữ và định nghĩa nêu trong TCVN 6238-1 (ISO 8124-1) và các thuật ngữ, định nghĩa sau.
3.1. Đồ chơi vận động (activity toy)
Đồ chơi sử dụng tại gia đình, mang khối lượng của một hoặc nhiều trẻ, thường được gắn hoặc kết hợp với một xà ngang và trẻ chơi ở bên trong hoặc trên đồ chơi.
VÍ DỤ: Đu, cầu trượt, đồ chơi cưỡi/quay tròn và khung trèo (xem Hình 1).

Hình 1 - Ví dụ về các loại đồ chơi vận động (hình ảnh minh họa, không theo đúng tỷ lệ thực tế)
3.2. Neo (anchor)
Dụng cụ dùng để gắn đồ chơi với bề mặt sàn.
3.3. Cầu trượt gắn liền (attachment slide)
Cầu trượt mà người sử dụng chỉ có thể tiếp cận với vùng bắt đầu trượt bằng cách đi qua một thiết bị khác hoặc các bộ phận của một thiết bị khác.
3.4. Thanh chắn (barrier)
Dụng cụ bảo vệ để trẻ không bị ngã từ các bề mặt ở trên cao.
3.5. Xà ngang (crossbeam)
Thanh hoặc xà là phần chịu tải chính của đồ chơi.
3.6. Vướng/mắc kẹt (entrapment)
Tình trạng trong đó cơ thể, một phần cơ thể hoặc quần áo bị vướng/mắc kẹt lại và không gỡ ra được.
3.7. Chuyển động bắt buộc (forced movement)
Chuyển động mà hướng và phạm vi chuyển động của trẻ được xác định bởi sự vận hành của thiết bị, ví dụ đu, trượt, cưỡi/bập bênh hoặc quay tròn.
3.8. Chiều cao rơi tự do (free height of fall)
Khoảng cách lớn nhất theo chiều thẳng đứng từ vị trí được thiết kế để mang khối lượng của trẻ, ví dụ từ chỗ ngồi của đu đến vị trí va đập bên dưới.
3.9. Không gian vận động (free space)
Không gian bên trong, bên trên hoặc xung quanh đồ chơi vận động mà có thể bị tác động bởi người sử dụng do các chuyển động bắt buộc gây ra bởi thiết bị, ví dụ đu, trượt, cưỡi/bập bênh hoặc quay tròn.
CHÚ THÍCH: Định nghĩa về không gian vận động này không bao gồm khoảng không gian ba chiều trong đó xảy ra rơi ngã.
3.10. Ghế đu quây kín dành cho trẻ nhỏ đã biết ngồi (fully enclosed toddler swing seats)
Ghế đu có một chỗ ngồi được quây kín dành cho trẻ nhỏ đã biết ngồi.
CHÚ THÍCH: Chỗ ngồi được quây kín là chỗ ngồi có một hệ thống chặn dùng để đỡ ở xung quanh và giữa hai chân của trẻ (xem Hình 2).
3.11. Vùng chịu va đập (impact area)
Vùng ghế đu tiếp xúc với tải trọng thử trong phép thử va đập theo 6.4.

Hình 2 - Hình minh họa ghế đu quây kín dành cho trẻ nhỏ đã biết ngồi
3.12. Đu cho trẻ sơ sinh (infant swing)
Đu gắn trên một khung cố định có gắn động cơ để đu đưa phần ghế ngồi.
CHÚ THÍCH: Đu dành cho trẻ sơ sinh được sử dụng cho trẻ từ lúc mới sinh cho đến khi trẻ biết ngồi.
3.13. Tay vịn (handrail)
Thanh/dây giúp cho người sử dụng giữ thăng bằng hoặc có thể tự đứng vững.
3.14. Sàn (platform)
Bề mặt nằm ngang bất kỳ ở trên cao được sử dụng để trẻ chơi hoặc là chỗ chuyển tiếp giữa các bộ phận của đồ chơi.
CHÚ THÍCH: Vùng bắt đầu của cầu trượt có diện tích nhỏ hơn 129 000 mm2 không được coi là sàn.
3.15. Cầu trượt (slide)
Kết cấu có các bề mặt nghiêng mà người chơi có thể trượt theo đường trượt đã định.
Xem Hình 3.
CHÚ THÍCH: Các mặt phẳng nghiêng được thiết kế cho các mục đích khác, như các mái nhà và các đoạn đường dốc thì không được coi là cầu trượt.

CHÚ DẪN
A Vùng bắt đầu
B Vùng trượt
C Vùng kết thúc
D Chiều cao của cầu trượt
B + C Chiều dài của cầu trượt
CHÚ THÍCH: Các kích thước A, B và C được đo tại đường tâm của bề mặt trượt. Mỗi kích thước này đại diện cho một vùng của bề mặt trượt. Mỗi vùng của bề mặt trượt được xác định bởi giao điểm của đường cong của bề mặt trượt (tính từ đáy của bề mặt trượt) với đường chia đôi góc tạo thành giữa các vùng của bề mặt trượt.
Hình 3 - Hình minh họa cầu trượt
3.16. Móc treo (suspension connector)
Móc nối trực tiếp giữa xà ngang và cơ cấu đu.
Xem Hình 4.
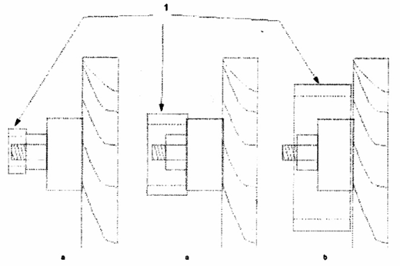
3.17. Đu (swing)
Cơ cấu thường gồm một xà ngang, các móc treo và cơ cấu đu gồm có ghế đu, phương tiện treo và dây treo.
Xem Hình 4.

CHÚ DẪN
1 Xà ngang để treo đu
2 Móc treo
3 Phương tiện treo
4 Dây treo
5 Cơ cấu đu
6 Ghế đu [ví dụ ghế ngồi, ghế ngồi dạng bánh xe, thanh ngang, ghế đôi (ghế đu kiểu gondola)]
Hình 4 - Hình minh họa đu
4. Yêu cầu
4.1. Quy định chung
Xem A.4.1.
4.1.1. Độ bền tĩnh
Các đồ chơi vận động, trừ đu, không được đổ sập khi thử theo 6.2.1. Sau khi thử, đồ chơi vẫn phải tiếp tục phù hợp với các yêu cầu có liên quan của tiêu chuẩn này. Các yêu cầu đối với đu được nêu tại 4.7.
4.1.2. Chiều cao tối đa
Xem A.4.1.2.
Các bộ phận của đồ chơi vận động được thiết kế để trẻ trèo, ngồi hoặc đứng lên trên không được có chiều cao lớn hơn hoặc bằng 2 500 mm khi được đo từ nền.
Điều này không áp dụng đối với các thanh chắn, các mái nhà, v.v... được thiết kế không phải để trèo, ngồi hoặc đứng lên trên.
Các thanh chắn, mái nhà, v.v... không phải để trèo lên phải được thiết kế sao cho hạn chế việc leo trèo của trẻ.
4.1.3. Góc và cạnh
Xem A.4.1.3.
Các góc và cạnh nhô ra phải được làm tròn.
Các góc và cạnh nhô ra trên các bộ phận chuyển động phải có bán kính tối thiểu là 3 mm. Điều này không áp dụng cho các ghế đu có khối lượng nhỏ hơn hoặc bằng 1 000 g, góc và cạnh của các bộ phận đó phải được làm tròn.
4.1.4. Các chi tiết nhô ra
4.1.4.1. Quy định chung
Các chi tiết nhô ra (như là đầu bulông hoặc đai ốc) phải được đặt lõm vào hoặc phải được bảo vệ sao cho chúng không gây ra các nguy cơ vướng/mắc kẹt hoặc các nguy cơ khác cho người sử dụng.
Nếu các chi tiết nhô ra không lọt được vào bên trong dụng cụ thử có đường kính ngoài 50 mm như quy định tại 6.7.1 thì các chi tiết này được coi là không tiếp xúc được và không phải áp dụng yêu cầu này (xem Hình 5).
Các dây nhô ra không phải áp dụng các yêu cầu tại 4.1.4.
Kích thước tính bằng milimét

CHÚ DẪN
1 chi tiết nhô ra không tiếp xúc được (không phải áp dụng yêu cầu này)
2 dụng cụ thử (đường kính 50 mm).
Hình 5 - Ví dụ về chi tiết nhô ra không phải áp dụng yêu cầu này
4.1.4.2. Tất cả các chi tiết nhô ra
Các chi tiết nhô ra không được nhô ra khỏi bề mặt của dụng cụ thử khi thử theo 6.7.1.
Phần trên của chi tiết nhô ra không được có kích thước lớn hơn kích thước của phần đế (xem Hình 6). Trong trường hợp chi tiết nhô ra là vật liệu cứng thì kích thước phần đế phải được coi là kích thước chính của đai ốc hoặc đầu bulông gắn trên đồ chơi.

a Đạt (y ≤ x).
b Không đạt (y > x).
Hình 6 - Ví dụ về hình dạng của các chi tiết nhô ra
4.1.4.3. Các chi tiết nhô ra thẳng đứng
Các chi tiết nhô lên phía trên và vuông góc hoặc tạo thành góc nhọn so với mặt phẳng có gắn chi tiết và lọt vào một trong các dụng cụ thử quy định tại 6.7.1 phải không được nhô ra quá 3 mm so với mặt phẳng này (xem Hình 7).
Ví dụ, các đầu bulông có hình bán cầu không phải áp dụng yêu cầu này vì chúng không nhô ra vuông góc với mặt phẳng có gắn chi tiết đó.
4.1.4.4. Đường chuyển động
Các chi tiết nhô ra ở mặt trước và mặt sau của các bộ phận treo của các ghế đu và các chi tiết nhô ra trên bề mặt trong của cầu trượt phải không được nhô ra khỏi bề mặt của dụng cụ thử khi thử theo 6.7.2.
4.1.4.5. Cầu trượt
Cầu trượt bao gồm cả thanh chắn bảo vệ và các chi tiết gắn kết chúng và các vùng chuyển tiếp có nguy cơ gây vướng mắc nhiều hơn các vùng khác của đồ chơi. Do vậy, các yêu cầu sau được áp dụng cho cầu trượt và các thiết bị trượt.
Bất kỳ chi tiết nhô ra nào tiếp xúc được và lọt được vào trong dụng cụ thử quy định tại 6.7.2 thì phần nhô ra vuông góc hoặc tạo thành một góc nhọn với mặt phẳng có gắn chi tiết không được cao quá 3mm. Các vùng là đối tượng của yêu cầu này được mô tả tại Hình 8. Bề mặt ngoài của các ống trượt kín không phải áp dụng yêu cầu này.
Cầu trượt phải có bề mặt trượt liên tục, nhẵn, không có khe hở hoặc khoảng trống có nguy cơ gây ra vướng mắc, nhưng không giới hạn như là khoảng trống giữa các thành của cầu trượt khi hai cầu trượt đơn được ghép với nhau để tạo thành cầu trượt đôi hoặc vị trí để gắn mái che vào thành cầu trượt. Cầu trượt con lăn không phải áp dụng yêu cầu này. Xem 4.6.4 về các yêu cầu riêng áp dụng cho cầu trượt con lăn.
Kích thước tính bằng milimét

a Các chi tiết nhô lên phía trên so với mặt phẳng ngang và vuông góc hoặc tạo thành góc nhọn so với mặt phẳng có gắn chi tiết phải phù hợp quy định về chiều cao tối đa là 3 mm.
b Các chi tiết nhô lên có phần đầu hình bán cầu không phải áp dụng yêu cầu về chiều cao tối đa 3 mm.
c Các phần nhô ra so với trục nằm ngang hoặc bên dưới trục nằm ngang không được nhô ra khỏi bề mặt của dụng cụ thử được quy định tại 6.7.1.
d Mặt phẳng nằm ngang.
e Các chi tiết nhô ra tạo thành góc tù so với mặt phẳng có gắn chi tiết không phải áp dụng yêu cầu về chiều cao tối đa 3 mm.
Hình 7 - Thử chi tiết nhô ra thẳng đứng
Kích thước tính bằng milimét

CHÚ DẪN
1 bề mặt trượt
2 vùng gạch chéo là vùng không được có chi tiết nhô ra có nguy cơ gây vướng mắc
3 chiều cao đứng
4 vùng bắt đầu
5 vùng kết thúc
6 thành cầu trượt
a đạt (nhỏ hơn hoặc bằng 3 mm)
b không đạt (lớn hơn 3 mm)
Hình 8 - Ví dụ về vùng không được có chi tiết nhô ra có nguy cơ gây vướng/mắc kẹt và ví dụ về sự nhô ra
4.1.5. Dây bện, dây xích và dây cáp dùng để trèo và đu
Xem A.4.1.5.
Dây bện, dây xích và dây cáp treo lơ lửng dùng để trèo phải được buộc chặt ở cả hai đầu để ngăn các dây này tự thắt lại, tạo thành một thòng lọng có chu vi bên trong lớn hơn hoặc bằng 130 mm (đường kính 41,4 mm).
Dây bện, dây xích hoặc dây cáp dùng để treo ghế đu không phải áp dụng yêu cầu này.
4.1.6. Ống hở
Tất cả các đầu của ống hở không nằm trên mặt nền hoặc không được che chắn phải có nắp đậy hoặc nút đậy nhẵn và vừa khít. Nắp hoặc chụp bảo vệ phải không được rời ra khi thử xoắn và thử kéo đối với các chi tiết bảo vệ như quy định tại TCVN 6238-1 (ISO 8124-1).
4.2. Thanh chắn
Xem A.4.2.
Bất kỳ sàn để ngồi hoặc đứng nào cao hơn so với mặt nền từ 760 mm trở lên phải có thanh chắn ở tất cả các mặt hướng ra phía ngoài của đồ chơi.
Cho phép có các khoảng hở tại các thanh chắn dẫn vào cầu trượt, khung trèo và thang.
Các thanh chắn của sàn cao hơn so với mặt nền từ 760 mm đến 1 000 mm phải có chiều cao tối thiểu là 630 mm.
Các thanh chắn của sàn cao hơn so với mặt nền từ 1 000 mm đến 1 830 mm phải có chiều cao tối thiểu là 720 mm.
Các thanh chắn của sàn cao hơn so với mặt nền từ 1 830 mm trở lên phải có chiều cao tối thiểu là 840 mm.
Đối với các sàn cao hơn so với mặt nền từ 760 mm đến 1 000 mm thì được phép có khoảng hở tối đa theo chiều thẳng đứng giữa phần thấp nhất của thanh chắn và sàn là 610 mm.
Đối với các sàn cao hơn so với mặt nền từ 1 000 mm trở lên thì phải thiết kế thanh chắn sao cho giảm thiểu việc trèo lên và không thể đưa được dụng cụ dò mô phỏng quy định tại 6.5.1 vào các khoảng hở giữa các thanh chắn hoặc giữa thanh chắn với bề mặt sàn.
Đối với các thanh chắn có phần đỉnh không bằng phẳng thì sử dụng một thước thẳng 200 mm ± 5 mm để đo chiều cao tối thiểu. Đặt thước thẳng nằm ngang trên đỉnh của thanh chắn. Đo khoảng cách thẳng đứng giữa sàn và mặt đáy của thước. Khoảng cách này không được nhỏ hơn chiều cao tối thiểu được quy định trong tiêu chuẩn.
CHÚ THÍCH: Xem 4.6.2 và 4.6.3 về các yêu cầu đặc biệt áp dụng cho cầu trượt.
Khi thử theo 6.3, không phần nào của thanh chắn hoặc tay vịn bị đổ sập làm cho đồ chơi không còn phù hợp với các yêu cầu có liên quan trong tiêu chuẩn này.
4.3. Thang leo, thang bậc và cầu thang
Các yêu cầu này không áp dụng cho các đồ chơi có chiều cao của sàn nhỏ hơn hoặc bằng 600 mm. Thang leo, thang bậc và cầu thang phải đáp ứng các yêu cầu sau.
a) Thanh thang hoặc bậc thang phải là một bề mặt nằm ngang chắc chắn, có chiều rộng lớn hơn hoặc bằng 240 mm (xem Hình 9).
b) Khoảng cách khi đo theo chiều thẳng đứng như mô tả tại Hình 9 giữa các mặt trên của các thanh thang hoặc bậc thang không được vượt quá 310 mm và không được vượt quá 230 mm đối với cầu thang.
c) Bề mặt của bậc thang không được trơn trượt.
CHÚ THÍCH: Để đáp ứng yêu cầu này có thể làm mặt bậc gợn sóng hoặc sử dụng vật liệu chống trơn trượt.
d) Đường kính hoặc kích thước mặt cắt các thanh thang của thang leo ít nhất phải là 16 mm nhưng không quá 45 mm. Phải cẩn thận khi thiết kế các thanh thang có mặt cắt không phải là hình tròn để đảm bảo khả năng gắn chặt không bị suy yếu đáng kể.
e) Chiều sâu của các bậc thang của thang bậc chắn kín ở mặt sau và chiều sâu của bậc cầu thang phải lớn hơn hoặc bằng 180 mm.
f) Độ dốc của cầu thang không được quá 50°. Độ dốc của thang bậc không được nhỏ hơn 65° và lớn hơn 75°. Độ dốc của thang ngang phải không được nhỏ hơn 60° và lớn hơn 90°.
g) Cầu thang và thang bậc cao hơn so với mặt nền 1 200 mm trở lên phải có tay vịn liên tục kể từ độ cao 760 mm so với mặt nền (xem Hình 9).
4.4. Vướng/mắc kẹt
Xem A.4.4.
4.4.1. Mắc kẹt đầu và cổ
Các yêu cầu này không áp dụng đối với các khoảng hở mà ranh giới ở phía dưới là nền.
Các đồ chơi vận động phải được chế tạo sao cho không có các khoảng hở gây nguy cơ mắc kẹt đầu hoặc cổ dù đưa chân vào trước hay đưa đầu vào trước.
CHÚ THÍCH: Các tình huống có thể gây mắc kẹt bao gồm:
- các khoảng hở được bao kín hoàn toàn mà người sử dụng có thể trượt đầu hoặc chân vào trước;
- các khoảng hở được bao kín một phần hoặc có dạng chữ V;
- các khoảng hở tạo ra do chuyển động tịnh tiến hoặc chuyển động cắt hoặc trượt.
Khi lựa chọn vật liệu, nhà sản xuất phải xem xét đến nguy cơ gây vướng/mắc kẹt có thể xảy ra do sự biến dạng của vật liệu trong quá trình sử dụng.
a) Khi thử theo 6.5.1, nếu có thể đưa được dụng cụ dò C (Hình 22) qua các khoảng hở được bao kín hoàn toàn và có thể tiếp xúc được thì cũng phải đưa được dụng cụ dò D (Hình 23) qua các khoảng hở này.
b) Khi thử theo 6.5.1, nếu không đưa được dụng cụ dò D qua khoảng hở cứng có thể tiếp xúc được thì cũng phải không đưa được dụng cụ dò E (Hình 24) qua khoảng hở này.
c) Các khoảng hở được bao kín một phần hoặc các khoảng hở có dạng chữ V phải được chế tạo sao cho hoặc:
1) khoảng hở này là không thể tiếp xúc được như minh họa tại Hình 26 và khi thử theo 6.5.2.3 a);
2) đầu của dưỡng thử tiếp xúc được với đáy của khoảng hở khi thử theo 6.5.2.3 b).
d) Phải đưa được dụng cụ dò D (Hình 23) qua các khoảng hở giữa các chi tiết không cứng của cầu treo và các phần cạnh cứng dưới điều kiện chịu tải xấu nhất. Phải tiến hành thử cả trường hợp chịu tải và không chịu tải.
e) Các chi tiết không cứng (ví dụ dây bện) phải không được chồng nhau nếu như khi chồng lên nhau chúng tạo thành các khoảng hở và các khoảng hở này lại không phù hợp với các yêu cầu tại mục a).
f) Tấm chắn để không tiếp xúc được với các khoảng hở không phù hợp với các yêu cầu từ a) đến e) phải
1) được chế tạo bằng vật liệu cứng;
2) không được gãy, hỏng hoặc bị rời ra và làm cho khoảng hở trở thành tiếp xúc được khi chịu va đập bởi một lực 27 J tạo ra bởi quả thép đường kính 127 mm tại điểm va đập nằm trong khoảng 25 mm so với tâm của tấm chắn;
3) không được gãy, hỏng hoặc bị rời ra làm cho khoảng hở trở thành tiếp xúc được khi thử xoắn và thử kéo theo quy định tại TCVN 6238-1 (ISO 8124-1).
4.4.2. Vướng mắc quần áo và tóc
Các tình huống mà quần áo hoặc tóc có nguy cơ bị vướng hoặc mắc vào có thể gây ra bởi:
a) các khe hở hoặc khoảng hở có dạng chữ V mà tại đó các chi tiết của quần áo có thể bị vướng vào trong khi hoặc ngay trước khi người sử dụng trải qua một chuyển động bắt buộc;
b) các chi tiết nhô ra;
c) các bộ phận quay.
Cầu trượt, ống tụt và các mái phải được chế tạo sao cho dây xích hoặc hạt ở đầu dây không bị mắc vào khi thử theo 6.6.
CHÚ THÍCH 1: Khi sử dụng các chi tiết có tiết diện tròn thì phải đặc biệt lưu ý để tránh gây vướng mắc quần áo và tóc. Điều này có thể đạt được bằng cách sử dụng các miếng đệm hoặc dụng cụ tương tự.
Cầu trượt, ống tụt và các mái phải được chế tạo sao cho các khoảng hở ở trong vùng không gian vận động không làm dây xích hoặc hạt ở đầu dây bị mắc vào khi thử theo 6.6.
Các bộ phận quay (ví dụ các trục) phải được che chắn để quần áo hoặc tóc không bị vướng mắc vào.
CHÚ THÍCH 2: Có thể sử dụng nắp đậy hoặc tấm che để quần áo hoặc tóc không bị vướng mắc vào các bộ phận quay.
Kích thước tính bằng milimét

a Độ dốc:
đối với thang bậc ≥ 65° và ≤ 75°;
đối với thang leo ≥ 60° và ≤ 90°.
Hình 9 - Kích thước của các loại thang
4.4.3. Kẹt chân
Các bề mặt để đứng, chạy hoặc đi không được có các khe hở có thể làm kẹt bàn chân hoặc ống chân. Không được có các khe hở có chiều rộng lớn hơn 30 mm khi đo theo một chiều (xem Hình 10) trừ khi có các thiết bị tạo cân bằng.
Kích thước tính bằng milimét

Hình 10 - Đo khe hở trên bề mặt của đường chạy và đi
4.4.4. Vướng mắc ngón chân, ngón tay
Đồ chơi vận động phải được chế tạo sao cho các lỗ, rãnh và khe hở không làm các ngón tay và ngón chân bị vướng mắc vào.
Đối với các lỗ, rãnh và khe hở tiếp xúc được ở trong hoặc ở giữa các vật liệu cứng (trừ các dây xích) tại nơi mà cơ thể tham gia vào chuyển động bắt buộc, nếu có thể cho que dò có đường kính 5 mm vào sâu trong các lỗ, rãnh và khe hở này một khoảng sâu hơn hoặc bằng 10 mm thì cũng phải cho được que dò có đường kính 12 mm vào các khe, lỗ, rãnh này.
Yêu cầu này không áp dụng đối với các khe nứt của gỗ cứng sinh ra do thời tiết.
4.5. Độ ổn định của các đồ chơi vận động không phải là cầu trượt, đu và đồ chơi có xà ngang
4.5.1. Quy định chung
CHÚ THÍCH: Các yêu cầu về độ ổn định của cầu trượt quy định tại 4.6.1, độ ổn định của đu và các đồ chơi vận động khác có xà ngang quy định tại 4.7.1.
Đồ chơi vận động loại có các neo gắn cố định (ví dụ gắn vào bêtông) khi được sử dụng theo hướng dẫn của nhà sản xuất thì không cần phải thử độ ổn định.
Đồ chơi vận động loại có các neo tháo lắp được, không gắn cố định vào nền phải được thử khi các neo được gắn cố định theo hướng dẫn của nhà sản xuất.
Đồ chơi vận động không có neo phải được thử độ ổn định.
4.5.2. Độ ổn định của đồ chơi vận động có chiều cao rơi tự do nhỏ hơn hoặc bằng 600 mm
Đồ chơi vận động có chiều cao rơi tự do nhỏ hơn hoặc bằng 600 mm phải không bị đổ khi thử theo 6.1.1.
4.5.3. Độ ổn định của đồ chơi vận động có chiều cao rơi tự do lớn hơn 600 mm
Đồ chơi vận động có chiều cao rơi tự do lớn hơn 600 mm phải không bị đổ khi thử theo 6.1.2.
4.6. Cầu trượt
Xem A.4.6.
4.6.1. Độ ổn định của cầu trượt
Cầu trượt loại có các neo gắn cố định (ví dụ gắn vào bêtông) khi được sử dụng theo hướng dẫn của nhà sản xuất thì không cần phải thử độ ổn định.
Cầu trượt loại có các neo tháo lắp được, không gắn cố định vào nền phải được thử khi các neo được gắn cố định theo hướng dẫn của nhà sản xuất.
Cầu trượt không có neo phải được thử độ ổn định.
Cầu trượt phải không bị đổ khi thử theo 6.1.3.
4.6.2. Các thành chắn của cầu trượt
Các thành chắn của cầu trượt phải tuân theo các yêu cầu sau (xem Hình 11).
a) Đối với cầu trượt cao hơn so với mặt nền từ 1 000 mm trở lên thì chiều cao, h, của các thành chắn cầu trượt phải lớn hơn hoặc bằng 100 mm.
b) Đối với cầu trượt cao hơn so với mặt nền từ 1 000 mm trở xuống thì chiều cao, h, của các thành chắn cầu trượt phải lớn hơn hoặc bằng 50 mm.
Không cần có các thành chắn tại vùng kết thúc của cầu trượt.

CHÚ DẪN
h chiều cao của thành chắn cầu trượt
w chiều rộng của cầu trượt
Hình 11 - Chiều cao của thành chắn cầu trượt
4.6.3. Vùng bắt đầu, vùng trượt và vùng kết thúc của cầu trượt
CHÚ THÍCH: Đối với cầu trượt gắn liền thì sàn có thể được sử dụng như là vùng bắt đầu.
Vùng bắt đầu và vùng kết thúc của cầu trượt phải tuân theo các yêu cầu sau (xem Hình 12).
a) Vùng bắt đầu của cầu trượt cao hơn so với mặt nền từ 1 000 mm trở xuống phải có:
- chiều rộng nhỏ hơn so với chiều rộng của vùng trượt, khoảng chênh lệch giữa các chiều rộng của vùng bắt đầu và vùng trượt phải nhỏ hơn 40 mm (cách đo chiều rộng xem Hình 11); ví dụ nếu vùng trượt có chiều rộng là 300 mm thì vùng bắt đầu phải có chiều rộng lớn hơn 260 mm;
- chiều dài lớn hơn hoặc bằng 150 mm;
- độ dốc từ 0° đến 10° so với phương ngang.
b) Vùng bắt đầu của cầu trượt cao hơn so với mặt nền từ 1 000 mm trở lên phải có:
- chiều rộng nhỏ hơn so với chiều rộng của vùng trượt, khoảng chênh lệch giữa các chiều rộng của vùng bắt đầu và vùng trượt phải 40 mm (cách đo chiều rộng xem Hình 11); ví dụ nếu vùng trượt có chiều rộng là 300 mm thì vùng bắt đầu phải có chiều rộng lớn hơn 260 mm;
- chiều dài lớn hơn hoặc bằng 250 mm;
- độ dốc từ 0° đến 10° so với phương ngang.
c) Tại vùng bắt đầu phải có các phương tiện hỗ trợ cho trẻ khi trẻ di chuyển từ cầu thang/thang leo vào vị trí ngồi, ví dụ các tay vịn. Có thể sử dụng các thanh chắn phù hợp với quy định tại 4.2 để làm tay vịn.
d) Độ dốc của toàn bộ vùng trượt so với mặt phẳng nằm ngang không được vượt quá 60°. Độ dốc của vùng trượt phải được đo tại đường tâm.
e) Vùng kết thúc của cầu trượt phải có:
- chiều dài lớn hơn hoặc bằng 150 mm;
- độ dốc từ 0° đến 10° so với phương ngang;
- độ cao tại đầu cuối của vùng kết thúc so với mặt nền nhỏ hơn hoặc bằng 300 mm.
f) Đầu cuối của vùng kết thúc phải được uốn cong tối thiểu là 90° và có bán kính cong lớn hơn hoặc bằng 25 mm. Yêu cầu này không áp dụng đối với cầu trượt có vùng kết thúc cao hơn so với mặt nền từ 25 mm trở xuống.
4.6.4. Cầu trượt kiểu con lăn
Cầu trượt kiểu con lăn phải phù hợp với các yêu cầu đối với cầu trượt tại 4.6.1 đến 4.6.3.
Giữa các chỗ nối của các bộ phận của cầu trượt không được có các vị trí có nguy cơ gây kẹp, làm trầy, đứt da hoặc làm vướng mắc khi sử dụng thông thường hoặc sử dụng sai có thể dự đoán trước do các hành vi thông thường của trẻ.
Các vị trí có nguy cơ gây kẹp, làm trầy, đứt da hoặc làm vướng mắc là các vị trí mà tại đó có thể đưa que dò có đường kính 5 mm vào sâu hơn hoặc bằng 10 mm tại một hoặc nhiều điểm, hoặc vị trí giữa các con lăn hoặc giữa các chi tiết liền kề nhau.
Kích thước tính bằng milimét

a Chiều dài của vùng bắt đầu:
≥ 150 mm đối với cầu trượt có chiều cao nhỏ hơn hoặc bằng 1 000 mm [xem 4.6.3 a)];
≥ 250 mm đối với cầu trượt có chiều cao lớn hơn 1 000 mm [xem 4.6.3 b)].
Hình 12 - Yêu cầu đối với cầu trượt
4.7. Đu
Xem A.4.7.
4.7.1. Độ ổn định của đu và các đồ chơi vận động khác có xà ngang
4.7.1.1. Quy định chung
Đu loại có các neo gắn cố định (ví dụ gắn vào bêtông) khi được sử dụng theo hướng dẫn của nhà sản xuất thì không cần phải thử độ ổn định.
Đu loại có các neo tháo lắp được, không gắn cố định vào nền phải được thử khi các neo được gắn cố định theo hướng dẫn của nhà sản xuất.
Đu loại không có neo phải được thử độ ổn định.
4.7.1.2. Đu có xà ngang cao hơn so với mặt nền từ 1 200 mm trở lên
Khi thử theo 6.1.4.1 đu phải không bị đổ.
4.7.1.3. Đu dành cho trẻ dưới 36 tháng tuổi có xà ngang cao hơn so với mặt nền từ 1 200 mm trở xuống
Khi thử theo 6.1.4.2 đu phải không bị đổ.
4.7.2. Độ bền của xà ngang, cơ cấu đu, móc treo và dây treo
Xem A.4.7.2.
Kết cấu và/hoặc xà ngang không được đổ sập khi thử theo 6.2.2.
Sau khi thử, đồ chơi vẫn phải tiếp tục phù hợp với các yêu cầu có liên quan của tiêu chuẩn này.
4.7.3. Đu dành cho trẻ dưới 36 tháng tuổi
4.7.3.1. Quy định chung
Ghế đu phải có lưng tựa và cơ cấu an toàn để trẻ không bị ngã khỏi ghế.
CHÚ THÍCH: Các giải pháp sau được cho là thích hợp:
- thanh hình chữ T hoặc thanh bảo vệ có dây đeo dạng chạc ba, khoảng cách giữa dây hoặc thanh ngang so với ghế khi đo từ phần thấp nhất của bề mặt ngồi của ghế đến mặt trên cùng của dây hoặc thanh ngang nằm trong khoảng từ 200 mm đến 300 mm;
- một cơ cấu để buộc trẻ vào ghế, ví dụ dây đeo dạng chạc ba.
Khung và/hoặc xà ngang không được đổ sập khi thử theo 6.2.2.3.2.
Sau khi thử, đồ chơi vẫn phải tiếp tục phù hợp với các yêu cầu có liên quan của tiêu chuẩn này.
4.7.3.2. Đu không có xà ngang dành cho trẻ nhỏ đã biết ngồi
Đu dành cho trẻ nhỏ đã biết ngồi phải giữ được ổn định khi thử theo 6.1.5.
4.7.4. Va đập từ ghế đu
Khi thử theo 6.4, các ghế đu không được truyền đi một gia tốc đỉnh trung bình lớn hơn 50 g, khi đo với tần số cắt là 10 kHz và phải có lực nén bề mặt trung bình không được lớn hơn 90 N/cm2.
Yêu cầu này không áp dụng cho các ghế đu mà tổng khối lượng của ghế đu và các phương tiện treo như minh họa tại Hình 4, nhỏ hơn 1,0 kg và có diện tích va đập ước lượng lớn hơn 20 cm2.
4.7.5. Khoảng cách tối thiểu giữa các ghế đu, giữ ghế đu với các thiết bị tương tự và các cấu trúc liền kề
Các yêu cầu này không áp dụng đối với các đu chỉ có một ghế trong bộ đu có chiều cao của xà ngang nhỏ hơn hoặc bằng 1 200 mm.
Khoảng cách tối thiểu giữa các ghế đu liền kề phải phù hợp quy định tại Bảng 1 khi được chất tải giống như sử dụng thông thường.
Bảng 1 - Khoảng cách tối thiểu giữa các ghế đu
Kích thước tính bằng milimét
|
Khoảng cách giữa |
Các ghế đu tự do |
Các ghế đu trừ ghế đu tự do |
Cấu trúc liền kề của cơ cấu đu |
|
Các ghế đu tự do |
450 |
450 |
300 |
|
Các ghế đu trừ ghế đu tự do |
450 |
300 |
300 |
Đối với các ghế du mềm, có thể sử dụng vật thử như mô tả tại Hình 13 để mô phỏng tải trọng điển hình.
Kích thước tính bằng milimét

a Kích thước ≥ độ sâu của ghế.
b Khối lượng 12 kg.
Hình 13 - Tải trọng thử điển hình cho ghế đu mềm
4.7.6. Độ ổn định ở phía các mặt bên của ghế đu
Xem A.4.7.6
Yêu cầu này không áp dụng cho đu loại có phương tiện treo cứng.
Khoảng cách tối thiểu giữa các điểm treo đu đo dọc theo xà ngang phải được tính toán như sau (xem Hình 14):
A = 0,04 h + B (1)
Trong đó
A là khoảng cách giữa các điểm treo đu dọc theo xà ngang;
B là khoảng cách giữa hai điểm nối ghế đu với phương tiện treo đu tính theo đường tâm;
h là khoảng cách từ nền đến mặt dưới của xà ngang.

Hình 14 - Khoảng cách tối thiểu giữa các điểm treo đu
4.7.7. Khoảng cách tối thiểu giữa các ghế đu và nền
Khoảng cách tối thiểu giữa các ghế đu và nền phải phù hợp quy định tại Bảng 2 khi đu được chất tải giống như sử dụng thông thường.
Bảng 2 - Khoảng cách tối thiểu giữa các ghế đu và nền
|
Ghế đu |
Khoảng cách
so với mặt nền |
|
Bề mặt ngồi của ghế đu có phương tiện treo không cứng trong đó chiều cao của xà ngang lớn hơn 1 200 mm. |
350 |
|
Bề mặt ngồi của ghế đu có phương tiện treo cứng trong đó chiều cao của xà ngang lớn hơn 1 200 mm |
400 |
|
Bề mặt ngồi của ghế đu trong đó chiều cao của xà ngang nhỏ hơn hoặc bằng 1 200 mm |
200 |
|
Chỗ để chân của ghế đu |
350 |
Đối với các ghế đu mềm, có thể sử dụng vật thử như mô tả tại Hình 13 để mô phỏng tải trọng điển hình.
4.7.8. Móc treo và phương tiện treo
Xem A.4.7.8.
a) Móc treo trên ghế đu phải được gắn sẵn khi cung cấp đồ chơi. Yêu cầu này không áp dụng đối với các đu có phương tiện treo cứng. Không được phép sử dụng phương pháp gắn cơ cấu treo vào xà ngang chỉ bằng cách yêu cầu người tiêu dùng cột dây vào xà ngang khi lắp đặt đu.
b) Các móc treo gắn trên xà ngang phải được thiết kế để không bị rời ra ngoài ý muốn.
VÍ DỤ: Các móc được quấn vào ít nhất 540° hoặc móc treo lò xo.
c) Dây treo đu phải có đường kính tối thiểu là 10 mm (giá trị trung bình của năm lần đo tại các vị trí đại diện dọc theo dây). Dây dạng dải và dây xích phải có chiều rộng tối thiểu là 10 mm.
d) Các dây xích treo đu tiếp xúc được phải có các khoảng hở tối đa là 5 mm để không làm kẹp ngón tay khi xích treo chịu tải (xem Hình 15).
e) Phải lưu ý người sử dụng về việc cần kiểm tra và bảo dưỡng định kỳ các bộ phận chính của đu (xem 5.3).
f) Khi thử theo 6.8 các móc treo gắn trên xà ngang phải không bị lỏng ra hoặc bị hư hỏng về kết cấu.
Kích thước tính bằng milimét

Hình 15 - Khoảng hở tối đa trong dây xích treo đu
4.8. Đồ chơi bập bênh
Các yêu cầu này áp dụng cho các đồ chơi bập bênh loại được đỡ bởi một trụ xoay ở tâm điểm bập bênh.
Tâm điểm của vị trí ngồi hoặc đứng của đồ chơi bập bênh không được cao quá 1 200 mm. Vị trí ngồi hoặc đứng của đồ chơi bập bênh chỉ được nâng lên và hạ xuống tối đa 30° so với phương ngang.
Đối với đồ chơi bập bênh có tâm điểm của vị trí ngồi hoặc đứng cao hơn hoặc bằng 1 000 mm thì ở mỗi đầu của đồ chơi bập bênh tại vị trí va chạm với nền phải có vật liệu giảm chấn hoặc phải có thiết bị giảm chấn lắp tại tâm của phần bập bênh lên xuống.
4.9. Đồ chơi cưỡi/quay tròn và đồ chơi cưỡi/bập bênh
Xem A.4.9
Đồ chơi cưỡi/quay tròn, đồ chơi cưỡi/ bập bênh và các đồ chơi tương tự phải tuân theo các yêu cầu sau.
Đồ chơi không được bị đổ khi thử theo 6.1.1.
Đồ chơi không được sập khi thử theo 6.2.1. Sau khi thử, đồ chơi vẫn phải tiếp tục phù hợp với các yêu cầu có liên quan của tiêu chuẩn này.
Chiều cao rơi tự do tối đa khi đo từ mặt nền đến vị trí ngồi hoặc đứng bất kỳ nào của đồ chơi cưỡi/quay tròn và đồ chơi cưỡi/bập bênh không được lớn hơn 600 mm.
5. Cảnh báo và ghi nhãn
5.1. Ghi nhãn
Nhãn phải được gắn chắc chắn và dễ nhìn cả trên đồ chơi và bao gói (nếu có). Trên nhãn phải có các thông tin sau:
- đồ chơi này chỉ được sử dụng tại gia đình;
- đồ chơi được sử dụng trong nhà hay ngoài trời;
- thông tin về khối lượng và/hoặc độ tuổi của trẻ sử dụng đồ chơi;
- nếu thích hợp, số lượng tối đa trẻ có thể đồng thời sử dụng đồ chơi một cách an toàn;
- thông tin chi tiết của nhà sản xuất hoặc phân phối đồ chơi.
5.2. Hướng dẫn lắp ráp và lắp đặt
5.2.1. Quy định chung
Thiết bị có chiều cao của bề mặt chơi nhỏ hơn hoặc bằng 600 mm không phải áp dụng quy định tại 5.2.
Các thông tin đưa ra trên nhãn/thông tin tại nơi bán hàng cũng phải được đưa ra trong hướng dẫn lắp đặt.
Các đồ chơi vận động yêu cầu người sử dụng lắp ráp phải có kèm theo các hướng dẫn lắp ráp thích hợp, kể cả các hình vẽ, để đảm bảo cả những người không có chuyên môn, kỹ năng cũng có thể lắp ráp được đồ chơi.
Hướng dẫn lắp ráp và lắp đặt, khi có thể, phải bao gồm:
- khuyến cáo đồ chơi vận động phải được đặt trên một nền phẳng, cách các kết cấu khác như hàng rào, gara, nhà, các cành cây, dây phơi, hoặc đường dây điện ít nhất là 1,8 m.
- hướng dẫn chi tiết về cách lắp đặt neo để không làm cho các bộ phận đỡ bị lật đổ hoặc bị bóc lên khi sử dụng thông thường hoặc sử dụng sai có thể dự đoán trước, cũng như cần xem xét đến các tính chất của đất nền;
- hướng dẫn về việc các neo cần được lắp ở vị trí ngang bằng hoặc ở dưới nền để giảm nguy cơ vấp ngã;
- hướng dẫn về việc các đồ chơi vận động (ví dụ đu, cầu trượt, khung trèo) phải được lắp trên các nền hấp thụ va đập như là cát, vỏ bào từ gỗ, cao su và tấm xốp và không được lắp đồ chơi vận động trên các nền bê tông, nền trải nhựa hoặc các nền cứng khác;
- bản vẽ thu nhỏ theo tỷ lệ cách lắp đặt phần cứng để tạo thuận lợi cho việc sử dụng đúng các chốt có chiều dài phù hợp;
- thông tin về việc cần giữ lại hướng dẫn lắp ráp và lắp đặt để sử dụng về sau.
5.2.2. Thông tin về các vật liệu dùng làm sàn cho thiết bị
5.2.2.1. Chiều cao rơi tối đa
Hướng dẫn sử dụng phải bao gồm cách xác định của nhà sản xuất về chiều cao rơi tối đa của sản phẩm.
Chiều cao rơi tối đa của sản phẩm được xác định như sau:
- đối với đu, chiều cao rơi tối đa là chiều cao của móc treo gắn trên xà ngang;
- đối với các sàn ở trên cao có thanh chắn, chiều cao rơi tối đa là chiều cao của mặt trên của thanh chắn;
- đối với các sàn ở trên cao không có thanh chắn, chiều cao rơi tối đa là chiều cao mặt trên của sàn;
- đối với khung trèo và thang, chiều cao rơi tối đa là chiều cao của bề mặt bậc trên cùng.
- đối với đồ chơi cưỡi/bập bênh và đồ chơi bập bênh, chiều cao rơi tối đa là chiều cao tối đa của bề mặt được thiết kế để người sử dụng ngồi hoặc đứng khi chơi.
5.2.2.2. Bề mặt làm giảm va đập
Hướng dẫn phải có “Phiếu thông tin cho khách hàng về vật liệu làm nền" như nêu tại Phụ lục B hoặc các hướng dẫn riêng về bề mặt làm giảm va đập đối với các sản phẩm được nêu tại Phụ lục B.
5.3. Hướng dẫn bảo dưỡng
Phải có hướng dẫn bảo dưỡng cung cấp kèm theo đồ chơi vận động trong đó lưu ý người sử dụng về sự cần thiết của việc kiểm tra và bảo dưỡng định kỳ các bộ phận chính của đồ chơi (như xà ngang, các móc treo, các neo, v.v...), và chỉ ra rằng nếu không tiến hành các kiểm tra này thì đồ chơi có thể bị đổ hoặc có thể gây ra các nguy cơ khác. Hướng dẫn này cũng phải đưa ra cách xác định khi nào xảy ra sự hư hỏng và các yêu cầu về việc phải thay thế các bộ phận khi cần thiết.
Hướng dẫn bảo dưỡng phải có dòng chữ "Giữ lại để tham khảo khi cần thiết".
Khi thích hợp, trong hướng dẫn bảo dưỡng cũng phải có các khuyến cáo về tầm quan trọng của việc phải tuân thủ theo các hướng dẫn bảo dưỡng vào thời kỳ đầu của từng mùa trong năm cũng như việc bảo dưỡng định kỳ trong quá trình sử dụng đồ chơi:
- kiểm tra tất cả các bulông và đai ốc xem có chặt không và nếu cần phải vặn chặt lại;
- tra dầu cho tất cả các bộ phận chuyển động bằng kim loại;
- kiểm tra tất cả các nắp chụp và bulông xem có bị sắc hay không và nếu cần thì thay thế;
- kiểm tra ghế đu, dây xích, dây treo đu và các chi tiết kết nối khác để đảm bảo chúng không bị hư hỏng; thay thế theo hướng dẫn của nhà sản xuất nếu cần;
- đánh bóng các phần bị rỉ và các ống và nếu cần thì sơn lại bằng sơn không có chì.
6. Phương pháp thử
6.1. Độ ổn định
6.1.1. Độ ổn định của đồ chơi vận động có chiều cao rơi tự do nhỏ hơn hoặc bằng 600 mm (xem 4.5.2 và 4.9)
6.1.1.1. Nguyên tắc
Đồ chơi được chất tải trên một mặt phẳng nghiêng để mô phỏng trường hợp trẻ ở vị trí lệch tâm.
6.1.1.2. Thiết bị, dụng cụ
- Tải trọng có khối lượng 50 kg ± 0,5 kg và kích thước như nêu tại Hình 16.
- Tải trọng có khối lượng 25 kg ± 0,2 kg và kích thước như nêu tại Hình 16.
- Mặt phẳng nghiêng 10° ± 1°.
6.1.1.3. Cách tiến hành
Đặt tải có khối lượng 50 kg ± 0,5 kg lên bề mặt đứng hoặc ngồi của đồ chơi tại vị trí kém ổn định nhất trong 5 min.
Đối với các đồ chơi có ghi nhãn là không phù hợp cho trẻ trên 36 tháng tuổi thì đặt tải có khối lượng 25 kg ± 0,2 kg lên đồ chơi.
Đặt đồ chơi lên mặt phẳng nghiêng 10° ± 1° tại vị trí kém ổn định nhất.
Đối với đồ chơi được thiết kế để mang khối lượng của nhiều trẻ cùng một lúc khi chơi thì đặt tải có các khối lượng (25 kg hoặc 50 kg) tương ứng với từng trẻ lên vị trí ngồi hoặc đứng kém ổn định nhất.
Quan sát xem đồ chơi có bị đổ hay không.
6.1.2. Độ ổn định của đồ chơi vận động có chiều cao rơi tự do lớn hơn 600 mm (xem 4.5.3).
6.1.2.1. Nguyên tắc
Tác động một lực theo phương ngang lên đỉnh của đồ chơi để mô phỏng việc trẻ trèo lên đồ chơi.
6.1.2.2. Thiết bị, dụng cụ
- Thiết bị phù hợp để tác động một lực (120 ± 5) N theo phương ngang.
- Dụng cụ chặn, nếu cần.
6.1.2.3. Cách tiến hành
Lắp ráp đồ chơi theo hướng dẫn của nhà sản xuất và đặt đồ chơi trên một mặt phẳng cứng nằm ngang.
Đối với đồ chơi không có chân đế, có thể phải dùng các dụng cụ chặn để đồ chơi không bị trượt trên nền. Tuy nhiên, các dụng cụ chặn này phải không được có tác dụng đỡ làm cho đồ chơi không bị đổ.
Các đồ chơi vận động có các neo tháo lắp được, không gắn cố định vào nền phải được thử khi các neo này được gắn cố định theo hướng dẫn của nhà sản xuất.
Tác động lực 120 N theo phương ngang theo hướng dễ làm cho đồ chơi bị đổ nhất. Lực này phải được tác động tại điểm xa nhất và cao nhất mà tay trẻ có thể nắm được. Tuy nhiên điểm có thể nắm được cao nhất được giới hạn đến độ cao hơn 1 500 mm so với bề mặt cao nhất có kích thước đủ để trẻ có thể đứng lên trên.
CHÚ THÍCH 1: 1 500 mm là chiều cao tối đa tính đến vai của 95 % trẻ ở độ tuổi đến 14 tuổi.
Tác động các lực 120 N theo phương ngang, số lượng lực tác động tối đa là bằng số lượng trẻ có thể sử dụng đồ chơi cùng một lúc theo thiết kế của nhà sản xuất (tham khảo thông tin của sản phẩm). Khoảng cách giữa hai điểm bất kỳ chịu tác động của lực phải ít nhất là 600 mm.
CHÚ THÍCH 2: Điều kiện kém ổn định nhất có thể xảy ra khi số lượng lực tác động lên đồ chơi nhỏ hơn số lượng lực tối đa.
Quan sát xem đồ chơi có bị đổ hay không.
6.1.3. Độ ổn định của cầu trượt (xem 4.6.1)
6.1.3.1. Nguyên tắc
Đồ chơi được chất tải trên một mặt nghiêng để mô phỏng trường hợp trẻ ở vị trí lệch tâm.
6.1.3.2. Thiết bị, dụng cụ
- Tải trọng có khối lượng 50 kg ± 2 kg và kích thước như nêu tại Hình 16.
- Mặt phẳng nghiêng 10° ± 1°.
6.1.3.3. Cách tiến hành
Đặt đồ chơi lên mặt phẳng nghiêng 10° ± 1° tại vị trí kém ổn định nhất.
Các cầu trượt có neo tháo lắp được, không gắn cố định vào nền phải được thử khi các neo được gắn cố định theo hướng dẫn của nhà sản xuất.
Đặt tải có khối lượng 50 kg ± 2 kg lên vị trí tâm hình học của từng bề mặt mà trẻ có thể đứng hoặc ngồi lên. Các bề mặt đó bao gồm vùng bắt đầu, thang leo, vùng kết thúc và vùng trượt. Buộc chặt tải trọng bằng phương pháp thích hợp để tải không bị trượt hoặc rơi.
Đối với đồ chơi được thiết kế để mang khối lượng của nhiều hơn một đứa trẻ thì có thể chất tải đồng thời hoặc chất tải riêng lẻ, tùy theo cách nào kém ổn định hơn.
Quan sát xem đồ chơi có bị đổ hay không.
6.1.4. Độ ổn định của đu và đồ chơi vận động khác có xà ngang (xem 4.7.1)
6.1.4.1. Độ ổn định của đu và đồ chơi vận động khác có xà ngang cao hơn so với nền từ 1200 mm trở lên (xem 4.7.1.1)
6.1.4.1.1. Nguyên tắc
Tác động đồng thời một lực theo phương ngang vào từng điểm treo để mô phỏng các lực tác động theo phương ngang gây ra bởi hiệu ứng con lắc.
6.1.4.1.2. Thiết bị, dụng cụ
- Thiết bị phù hợp để tác động một lực từ 125 N đến (2 000 ± 20) N theo phương ngang theo quy định tại Bảng 3.
- Dụng cụ chặn, nếu cần.
Bảng 3 - Ví dụ về các lực tác động theo phương ngang
|
Số lượng điểm treo |
1 đứa trẻ |
2 đứa trẻ |
3 đứa trẻ |
4 đứa trẻ |
|
Lực tính bằng niutơn trên một điểm treo |
||||
|
1 |
500 |
1 000 |
1 500 |
2 000 |
|
2 |
250 |
500 |
750 |
1 000 |
|
4 |
125 |
250 |
375 |
500 |
6.1.4.1.3. Cách tiến hành
Lắp ráp đồ chơi theo hướng dẫn của nhà sản xuất và đặt hoặc cố định đồ chơi trên một mặt phẳng cứng, nằm ngang.
Đối với đồ chơi không có chân đế, có thể phải dùng các dụng cụ chặn để đồ chơi không bị trượt trên nền. Tuy nhiên, các dụng cụ chặn này không được có tác dụng đỡ làm cho đồ chơi không bị đổ.
Đu và các đồ chơi vận động khác có xà ngang có các neo tháo lắp được, không gắn cố định vào nền phải được thử khi các neo được gắn cố định theo hướng dẫn của nhà sản xuất.
Tác động đồng thời các lực (500 ± 20) N theo phương ngang tương ứng với một người sử dụng theo hướng đu vào các điểm treo đu. Khi một ghế đu có nhiều điểm treo thì phân bố lực này đều lên các điểm treo (sử dụng hướng dẫn tại Bảng 3). Các lực tác động vào các điểm treo này phải được tác động đồng thời theo cùng một hướng.
Quan sát xem đồ chơi có bị đổ hay không.
6.1.4.2. Độ ổn định của đu và các đồ chơi vận động khác có xà ngang cao hơn so với nền từ 1 200 mm trở lên (xem 4.7.1.2)
6.1.4.2.1. Nguyên tắc
Đồ chơi được chất tải và được vận hành để mô phỏng việc sử dụng thông thường.
6.1.4.2.2. Thiết bị, dụng cụ
- Tải trọng có khối lượng 25 kg ± 0,2 kg và kích thước như nêu tại Hình 16.
- Các khối chặn, nếu cần.
6.1.4.2.3. Cách tiến hành
Đặt đồ chơi lên một mặt phẳng nằm ngang. Có thể sử dụng các khối chặn để chân trước của đồ chơi không bị trượt trên sàn. Tuy nhiên, các khối chặn này không được có tác dụng đỡ làm cho đồ chơi không bị đổ.
Buộc chặt tải trọng có khối lượng 25 kg ± 0,2 kg lên ghế đu của đồ chơi.
Nâng ghế đu lên cao về phía sau đến vị trí tối đa của nó nhưng không quá 45° so với phương thẳng đứng rồi thả ra (xem Hình 17).
Nếu đu có nhiều ghế đu thì buộc các tải trọng có khối lượng 25 kg ± 0,2 kg lên từng ghế đu. Nâng đồng thời tất cả các ghế lên cao về phía sau đến vị trí tối đa của chúng nhưng không quá 45° so với phương thẳng đứng rồi thả chúng ra đồng thời.
Quan sát xem đồ chơi có bị đổ hay không.
6.1.5. Độ ổn định của đu dành cho trẻ nhỏ đã biết ngồi (xem 4.7.3.2)
6.1.5.1. Nguyên tắc
Sử dụng một tải trọng có cấu trúc lúc lắc được để mô phỏng một trẻ nhỏ đã biết ngồi ngồi trên đu và người trẻ bị ngả ra phía trước và phía sau trong khi đu.
6.1.5.2. Thiết bị, dụng cụ
Thiết bị thử có cấu trúc lúc lắc được có kết cấu, kích thước và vật liệu như nêu tại Hình 18.
Kích thước tính bằng milimét

a Trọng tâm
Hình 16 - Tải trọng để thử độ bền và độ ổn định

CHÚ DẪN
1 Khối chặn các chân trước của đu 2 Tải trọng 25 kg
Hình 17 - Thử độ ổn định của các đu có xà ngang cao hơn so với nền từ 1 200 mm trở xuống
Kích thước tính bằng milimét

CHÚ DẪN
1 Bulông không vặn chặt để tải trọng có thể có chuyển động lúc lắc tự do
2 2 Ke nẹp góc bằng thép - 50 x 50 x 100 - dày 5 mm
3 1 ống thép - CO 25 mm x LG 464 mm - thành dày 1,5 mm
4 1 bulông C/S - UNC 13 - LG 2A x 64 mm
5 4 vòng đệm C/S - OD 13 x 35 mm
6 2 ống kẹp hình chuông bằng thép và bộ vít - OD 60 mm
7 1 đai ốc lục giác 13 UNC - 2H
8 2 đầu tạ có khối lượng 4,5 kg - đường kính tối đa 210 mm, dày 25 mm
9 bu lông có ren 4 x 6 mm - có chiều dài cần thiết
10 đai ốc 4 x 6mm
11 vòng đệm 4 x 6 mm
Hình 18 - Thiết bị thử có cấu trúc lúc lắc được để thử đu dành cho trẻ nhỏ đã biết ngồi
6.1.5.3. Cách tiến hành
Thiết bị thử có cấu trúc lúc lắc được dạng thanh tạ gồm một đầu tạ có khối lượng 4,5 kg đặt trên đỉnh của một trụ xoay tự do và một đầu tạ có khối lượng 4,5 kg được gắn cố định vào đáy của thiết bị thử. Các đầu tạ có đường kính tối đa là 210 mm. Khối lượng tổng cộng của thiết bị thử không được vượt quá 10,9 kg.
Treo ghế đu dành cho trẻ nhỏ đã biết ngồi theo hướng dẫn của nhà sản xuất. Nếu chiều cao của đu có thể điều chỉnh được thì tiến hành thử ở cả hai vị trí thấp nhất và cao nhất. Khi đu ở trạng thái nghỉ, kẻ một đường chuẩn so sánh theo phương ngang trên ghế đu.
Buộc chặt thiết bị thử có kết cấu lúc lắc được vào bề mặt ngồi của đu tại vị trí nằm trong khoảng 13 mm so với trọng tâm hình học của bề mặt ngồi sao cho hướng chuyển động của trục tạ trùng với hướng chuyển động của đu.
Nếu bề mặt ngồi của đu được làm bằng vật liệu mềm thì có thể gắn thêm vật liệu tăng cường vào mặt ngoài của đáy ghế ngồi để hỗ trợ cho việc buộc thiết bị thử có cấu trúc lúc lắc được vào ghế. Phải đảm bảo rằng việc gắn thêm vật liệu tăng cường này không làm ảnh hưởng đến kết quả thử.
Trọng tâm của tải trọng ở phía trên của thiết bị thử có kết cấu lúc lắc được phải ở độ cao là 410 mm so với điểm cao nhất của bề mặt ngồi khi trục của thiết bị thử ở vị trí thẳng đứng.
CHÚ THÍCH: Độ cao 410 mm được đưa ra trên cơ sở dữ liệu thử nghiệm của các đu bị thu hồi do bị đổ và dữ liệu thử nghiệm của các đu không bị đổ.
Trong khi giữ thiết bị thử hướng về
phía sau ghế ngồi, nâng ghế về phía sau đến khi góc tạo thành giữa đường nối trọng
tâm hình học của ghế và điểm chốt xoay trên móc treo so với phương thẳng đứng là
.
Thả đồng thời đu và thiết bị thử và để chúng đu tự do cho đến khi đường cung đu tạo thành theo hướng về phía trước và/hoặc phía sau đu nằm trong khoảng 15° so với phương thẳng đứng. Tại thời điểm đó, dừng chuyển động của đu bằng cách từ từ đưa đu về trạng thái nghỉ nhưng cần lưu ý để không làm thay đổi vị trí của thiết bị thử có cấu trúc lúc lắc được. Đo góc tạo thành giữa đường chuẩn so sánh trên ghế đu với mặt phẳng ngang.
Thực hiện quy trình này ba lần.
Lặp lại phép thử nhưng với thiết bị thử hướng về phía trước của đu.
Đu được đánh giá là không ổn định và không đáp ứng các yêu cầu của 4.7.3.2 nếu trong bất kỳ lần thử nào của sáu lần thử, thiết bị thử có cấu trúc lúc lắc được bị đổ hoặc rơi về phía trước hoặc phía sau và làm cho đường chuẩn so sánh nằm ngang của đu bị lệch đi một góc lớn hơn 30° so với vị trí ban đầu của nó (xem Hình 19).

a Điểm chốt xoay
b Nghiêng về phía trước 30°: không đạt.
c Đường nằm ngang.
d Nghiêng về phía sau 30°: không đạt
Hình 19 - Tiêu chuẩn để đánh giá đu dành cho trẻ nhỏ đã biết ngồi là đạt/không đạt
6.2. Độ bền tĩnh
6.2.1. Độ bền của đồ chơi không phải là đu (xem 4.1.1 và 4.9)
6.2.1.1. Nguyên tắc
Đồ chơi được chất tải để mô phỏng số lượng trẻ dự kiến sử dụng đồ chơi.
6.2.1.2. Thiết bị, dụng cụ
- Tải trọng có khối lượng 50 kg ± 0,5 kg và kích thước như nêu tại Hình 16.
- Tải trọng có khối lượng 25 kg ± 0,2 kg và kích thước như nêu tại Hình 16.
6.2.1.3. Cách tiến hành
Đặt tải khối lượng 50 kg ± 0,5 kg lên bề mặt ngồi hoặc đứng của đồ chơi tại vị trí kém bền nhất. Đối với đồ chơi có xà ngang, tác động tải lên tâm của xà ngang. Giữ tải trong 5 min.
Đối với đồ chơi có ghi nhãn không phù hợp cho trẻ lớn hơn 36 tháng tuổi thì đặt tải có khối lượng 25 kg ± 0,2 kg lên đồ chơi.
Đối với các đồ chơi được thiết kế để mang khối lượng của nhiều đứa trẻ cùng một lúc thì thử đồng thời mỗi bề mặt ngồi hoặc đứng hoặc tâm của xà ngang.
Đối với các đồ chơi mà do thiết kế không có độ ổn định thì các đồ chơi này cần được đỡ trong quá trình thử. Cần lưu ý để đảm bảo rằng việc đỡ đồ chơi như vậy không làm ảnh hưởng đến khả năng chịu tải của chúng.
Đối với các đồ chơi mà do thiết kế của nó, khối lượng của trẻ được phân bố tại các vị trí khác nhau trên đồ chơi thì phải phân bố tải trọng nêu trên một cách phù hợp với việc sử dụng đồ chơi theo khuyến cáo. Trong trường hợp này, cần xem xét đến việc chất các tải trọng khác tại các điểm phân bố này.
Kiểm tra xem đồ chơi có còn phù hợp với các yêu cầu có liên quan của tiêu chuẩn này nữa không.
6.2.2. Độ bền của đu và các đồ chơi tương tự (xem 4.7.2)
6.2.2.1. Nguyên tắc
Đồ chơi được chất tải để mô phỏng số lượng trẻ dự kiến sử dụng đồ chơi.
6.2.2.2. Thiết bị, dụng cụ
a) Đối với đu, trừ các loại được nêu tại khoản b):
- Tải trọng có khối lượng 200 kg ± 10 kg;
- Các tải trọng có khối lượng 50 kg ± 2 kg.
b) Đối với đu dành cho trẻ dưới 36 tháng tuổi có các điểm treo cao hơn so với nền từ 1 200 mm trở xuống:
- Tải trọng có khối lượng 66 kg ± 3 kg;
6.2.2.3. Cách tiến hành
6.2.2.3.1. Độ bền của đu dành cho trẻ trên 36 tháng tuổi (xem 4.7.2)
Đu dành cho trẻ trên 36 tháng tuổi có các điểm treo cao hơn so với nền từ 1 200 mm trở lên phải được thử như sau.
Lắp ráp đồ chơi theo hướng dẫn của nhà sản xuất và đặt hoặc gắn nó trên một mặt phẳng cứng, nằm ngang.
Đối với đồ chơi gồm nhiều đu và các khung trèo, xác định số lượng trẻ có thể sử dụng đồ chơi cùng một lúc (tham khảo hướng dẫn sử dụng của nhà sản xuất).
Đối với các đu dạng thuyền và đồ chơi bập bênh treo (nghĩa là đồ chơi đu đu có hai ghế nhưng chỉ có một điểm treo), phải đảm bảo tải trọng được phân bố đều trên cả hai ghế hoặc bề mặt đứng.
Đối với cột đu gắn trên khung trèo, thực hiện thử nghiệm giống như nó là một cái đu với tải trọng phù hợp.
Chất tải 200 kg lần lượt lên từng bề mặt ngồi hoặc đứng trong khoảng thời gian 1 h.
Sau đó, chất tải 50 kg đồng thời lên từng bề mặt ngồi và đứng trong 1 h.
Xác định xem đồ chơi có còn phù hợp với các yêu cầu có liên quan của tiêu chuẩn nữa hay không.
6.2.2.3.2. Độ bền của đu dành cho trẻ dưới 36 tháng tuổi (xem 4.7.3)
Đu dành cho trẻ dưới 36 tháng tuổi có các điểm treo cao hơn so với nền từ 1 200 mm trở xuống phải được thử như sau.
Chất tải có khối lượng 66 kg lên đồ chơi trong 1 h.
Phải đảm bảo tải trọng phân bố đều trên toàn bộ ghế ngồi.
CHÚ THÍCH: Có thể sử dụng một số phương pháp khác như sử dụng một khung hoặc treo tải trọng lên ghế.
Xác định xem đu có còn phù hợp với các yêu cầu có liên quan của tiêu chuẩn nữa hay không.
6.3. Độ bền động của thanh chắn và tay vịn (xem 4.2)
6.3.1. Nguyên tắc
Tạo một ứng suất va đập đột ngột theo phương ngang vào thanh chắn hoặc tay vịn gây ra bởi sự rơi của tải trọng thông qua một miếng đệm.
6.3.2. Thiết bị, dụng cụ
- Một miếng đệm dài 200 mm và dày tối thiểu 50 mm, được làm bằng vật liệu dệt, da hoặc vật liệu tương tự, được nhồi bằng vật liệu thích hợp và có hình dáng phù hợp để có thể buộc được vào đỉnh của thanh chắn hoặc tay vịn.
- Một thiết bị gồm có một ròng rọc và một tải trọng có khối lượng 25 kg ± 1 kg được gắn vào một đầu dây không đàn hồi, sao cho có thể tác động một lực va đập theo phương ngang vào miếng đệm trên thanh chắn hoặc tay vịn khi tải trọng rơi tự do.
Xem ví dụ tại Hình 20.
6.3.3. Cách tiến hành
Lắp ráp đồ chơi theo hướng dẫn của nhà sản xuất và đặt hoặc gắn nó vào một mặt phẳng cứng, nằm ngang.
Buộc chặt miếng đệm vào đỉnh của thanh chắn hoặc tay vịn tại vị trí kém thuận lợi nhất nhưng không được làm hư hại đồ chơi. Buộc đầu dây còn lại của thiết bị thử vào miếng đệm.
Điều chỉnh dây và ròng rọc sao cho tải trọng treo tự do. Nâng tải trọng lên 125 mm ± 10 mm theo phương thẳng đứng và để nó rơi tự do (điều này sẽ gây ra một năng lượng va đập xấp xỉ 30 J). Trong vòng 10 s, tháo thiết bị ra khỏi thanh chắn.
Kiểm tra xem đồ chơi có còn phù hợp với các yêu cầu có liên quan của tiêu chuẩn nữa hay không.

CHÚ DẪN
1 nền
2 thanh chắn hoặc tay vịn
3 miếng đệm
4 ròng rọc
5 độ cao rơi
6 tải trọng
Hình 20 - Ví dụ về thiết bị thử độ bền động của thanh chắn và tay vịn
6.4. Xác định sự va đập của ghế đu (xem 4.7.4)
6.4.1. Nguyên tắc
Ghế đu được nâng lên rồi cho đu để va đập vào một tải trọng thử. Tín hiệu phát ra bởi dụng cụ đo gia tốc trong mỗi lần va đập được xử lý (tần số cắt là 10 kHz) để xác định giá trị gia tốc đỉnh. Đo diện tích va đập giữa đu với tải trọng thử và tính toán lực nén tác động lên ghế đu.
6.4.2. Thiết bị, dụng cụ
- Tải trọng thử là một quả nhôm hình cầu hoặc hình bán cầu có bán kính 80 mm ± 3 mm, và khối lượng tổng cộng (kể cả dụng cụ đo gia tốc) là 4,6 kg ± 0,05 kg. Phần chịu va đập nằm giữa bề mặt bị va đập và dụng cụ đo gia tốc phải đồng nhất và không có các lỗ rỗng. Các cáp nối với dụng cụ đo gia tốc phải được đặt sao cho ảnh hưởng của chúng lên khối lượng của tải trọng thử là nhỏ nhất. Xem ví dụ tại Hình 21.
- Dụng cụ đo gia tốc được gắn vào trọng tâm của tổ hợp tải trọng có trục của độ nhạy nằm trong khoảng 2° so với hướng chuyển động của tải trọng thử và có khả năng đo gia tốc theo ba chiều với phạm vi đo nằm trong khoảng ± 500 g và độ chính xác ± 0,1 g với khoảng tần số từ 0 Hz đến 10 000 Hz.
- Bộ khuếch đại với tần số lấy mẫu là 10 kHz và tần số cắt là 10 kHz.
- Hai dây xích, trong đó mắt xích có độ dày của vật liệu (đường kính) là 6 mm ± 0,5 mm và kích thước chính của dây xích là 47 mm ± 2 mm. Các dây xích nối vào quả thử phải có chiều dài bằng nhau và được treo từ các trục nằm cách nhau 600 mm tại độ cao bằng với độ cao của các móc treo đu gắn trên xà ngang sao cho đoạn kéo dài tưởng tượng của trục các dây này gặp nhau tại tâm của tải trọng thử (xem Hình 21).
6.4.3. Cách tiến hành
Lắp ráp ghế đu cần thử theo hướng dẫn của nhà sản xuất.
Treo đu bằng phương tiện treo được cung cấp cùng với đu ở độ cao tối đa cho phép. Nếu phương tiện treo là dây bện hoặc dây cáp thì chúng phải được kéo thẳng ra để có thể chuyển động trơn tru khi thả đu trong lúc thử. Nếu cần có thể treo tải trọng vào mỗi đầu dây, ví dụ treo tải 5 kg và để như vậy trong 6h hoặc cho đến khi dây được kéo thẳng ra.
Điều chỉnh toàn bộ hệ thống sao cho dây xích treo tải trọng thử song song với phương tiện treo ghế đu.
Treo và điều chỉnh tải trọng thử sao cho điểm tiếp xúc của ghế đu với tâm của tải trọng thử và trọng tâm của tải trọng thử cùng nằm trên một mặt phẳng ngang. Phải đảm bảo dây xích treo tải trọng thử không bị xoắn và tải trọng thử được treo theo phương thẳng đứng.
Đánh một dấu hiệu vào phía mặt bên của ghế đu được treo bởi dây xích, dây bện, dây cáp hoặc các phương tiện treo không cứng khác. Dấu hiệu này cần được đánh dấu ngay dưới điểm chốt xoay khi đu ở trạng thái nghỉ, treo tự do.
Nâng ghế đu được treo bởi dây xích, dây bện, dây cáp hoặc các phương tiện treo không cứng khác lên theo hành trình chuyển động của nó cho đến khi hình chiếu bên của đường thẳng nối điểm chốt xoay và điểm đánh dấu tạo thành một góc 60° ± 1°so với phương thẳng đứng. Khi cơ cấu treo được nâng đến vị trí thử sẽ tạo thành một vài chỗ cong trên dây treo đu vì vậy cần điều chỉnh vị trí của cơ cấu treo để các chỗ cong này là không bị thay đổi.
Kích thước tính bằng milimét

CHÚ DẪN
1 Dụng cụ đo gia tốc
2 Đối trọng
3 Điểm gắn của dây xích vào tải trọng thử
Hình 21 - Ví dụ về tải trọng thử và các điểm nối với xích treo
Đối với các ghế đu được treo bởi phương tiện treo cứng (phương tiện treo này thẳng đứng khi đu ở trạng thái nghỉ), nâng ghế lên theo hành trình chuyển động của nó cho đến khi hình chiếu bên của phương tiện treo tạo thành góc 60° ± 1° so với phương thẳng đứng hoặc cho đến khi đạt được góc lớn nhất, tùy theo giá trị nào là nhỏ hơn.
CHÚ THÍCH: Cần lưu ý để không làm hỏng thiết bị thử. Nếu thử đu nặng hoặc cứng hơn bình thường thì cần thử sơ bộ trước ở góc thử nhỏ hơn (ví dụ, 10°, 20°, 30°, v.v...). Nếu kết quả thử sơ bộ tại các góc thử nhỏ hơn góc thử quy định vượt quá mức cho phép thì mẫu được đánh giá là không đạt và không cần thử tiếp ở các góc thử lớn hơn.
Đỡ ghế đu ở vị trí thử bằng một cơ cấu có thể thả ghế đu ra mà không cần sử dụng lực tác động từ bên ngoài có thể làm ảnh hưởng đến quỹ đạo của ghế đu. Trước khi thả ra, ghế đu và phương tiện treo phải đứng yên. Khi được thả ra, tổ hợp này phải chuyển động hướng xuống phía dưới một cách trơn tru, ghế đu không bị xoay hoặc lắc làm cho nó không thể đập vào quả thử tại điểm tiếp xúc. Nếu quan sát thấy ghế đu bị xoay hoặc lắc thì phải thử lại.
Trước khi tiến hành một loạt phép đo, phải đảm bảo rằng đã có được điểm va đập theo dự kiến. Dùng phấn đánh dấu (+) ở tâm của tải trọng thử sao cho vết đánh dấu này có thể dính lại trên bề mặt va đập của ghế đu. Nếu cần phải kiểm tra và điều chỉnh lại tải trọng theo chiều dọc và chiều ngang. Lặp lại quy trình này cho đến khi đạt được sự tái lặp đối với điểm va đập dự kiến.
Đối với một số ghế đu mềm thì cần có một vật đỡ để duy trì hình dạng của ghế trong suốt quá trình thử. Khối lượng của vật đỡ này không được vượt quá 10 % khối lượng của ghế. Trong trường hợp sử dụng vật đỡ thì yêu cầu về gia tốc đỉnh trung bình tối đa 50 g phải được tăng bằng với tỷ lệ tăng khối lượng của ghế do sử dụng vật đỡ tính theo % (tăng tối đa 10 %).
Điểm va đập dự kiến được định nghĩa là tâm hình học của bề mặt va đập của đu.
Đánh dấu (+) bằng phấn tại tâm của tải trọng thử sao cho dấu này có thể dính lại trên bề mặt va đập của ghế đu.
Phải đảm bảo rằng tải trọng thử ở trạng thái nghỉ hoàn toàn và được điều chỉnh chính xác theo ba trục
Nâng ghế đu lên và thả như quy định ở trên sao cho ghế đu va chạm với tải trọng thử.
Kiểm tra xem dấu để lại trên bề mặt va đập của ghế đu có nằm trong khoảng ± 5 mm (theo phương thẳng đứng) và ± 10 mm (theo phương ngang) tính từ điểm va đập dự kiến hay không.
6.4.4. Kết quả
6.4.4.1. Gia tốc đỉnh
Thu thập các số liệu của năm lần va đập (khi ghế đu không bị xoay hoặc lắc). Đo gia tốc đỉnh của từng va đập, tính bằng g. Tính gia tốc đỉnh trung bình và kiểm tra xem có phù hợp với quy định không. Gia tốc đỉnh của mỗi va đập phải được tính toán là căn bậc hai của tổng bình phương các giá trị tối đa đo được theo mỗi chiều:
Gia tốc đỉnh
=
(2)
Lưu ý rằng giá trị tối đa theo mỗi chiều cần đo không nhất thiết phải xảy ra cùng một lúc (giá trị X tối đa có thể xuất hiện tại thời điểm khác với thời điểm đạt giá trị Y lớn nhất).
Giá trị gia tốc, tính bằng g phải được biểu thị đến một chữ số sau dấu phẩy.
6.4.4.2. Sự nén ép bề mặt
Từ hai trong năm lần thử va đập, đo diện tích va đập như sau:
- đánh dấu phấn lên tải trọng thử trước khi thử va đập và đo diện tích của vết phấn để lại trên ghế đu sau khi va đập;
- dùng một màng cellulo trong suốt (ví dụ màng được sử dụng trong máy chiếu) để vẽ lại diện tích va đập;
- đặt một "tờ giấy có kẻ các ô vuông 1 milimét” dưới màng cellulo và tính chính xác diện tích va đập theo centimét vuông đến một chữ số sau dấu phẩy.
Tính diện tích va đập trung bình của hai lần thử và từ đó tính lực nén tác động lên ghế theo đơn vị niutơn trên centimét vuông theo công thức sau:
Lực nén tác động lên ghế = F/A (3)
Trong đó
A là diện tích va đập trung bình;
F = m x a;
Trong đó
m là khối lượng của tải trọng thử (4,6 kg ± 5 %);
a là giá trị gia tốc đỉnh trung bình của năm lần va đập.
CHÚ THÍCH 1: Nếu ghế đu bị biến dạng trong quá trình thử, thì phải sử dụng mẫu mới cho các phép thử còn lại.
CHÚ THÍCH 2: Có thể cần phải dùng cồn để làm sạch tải trọng thử giữa các lần thử.
6.5. Thử mắc kẹt đầu và cổ
6.5.1. Sự mắc kẹt đầu và cổ vào các khoảng hở được bao kín hoàn toàn (xem 4.2 và 4.4.1)
6.5.1.1. Nguyên tắc
Sử dụng dụng cụ dò để đánh giá các khoảng hở được bao kín hoàn toàn đối với nguy cơ gây mắc kẹt đầu và cổ.
6.5.1.2. Thiết bị, dụng cụ
Dụng cụ dò được làm bằng vật liệu cứng phù hợp và có kích thước như mô tả tại Hình 22, 23 và 24.
6.5.1.3. Cách tiến hành
Dùng một lực 220 N để gài dụng cụ dò C (Hình 22) vào khoảng hở. Nếu dụng cụ dò C xuyên qua được khoảng hở này thì kiểm tra xem liệu có thể dùng lực 100 N để gài dụng cụ dò D (Hình 23) xuyên qua khoảng hở này được không.
Dùng một lực 100 N để gài dụng cụ dò E (Hình 24) vào khoảng hở. Nếu dụng cụ dò E xuyên qua được khoảng hở này thì kiểm tra xem liệu có thể dùng lực 100 N để gài dụng cụ dò D xuyên qua khoảng hở này được không.
Gài các dụng cụ dò vuông góc với khoảng hở và không làm nghiêng chúng.
Kích thước tính bằng milimét

CHÚ DẪN
1 Tay cầm
CHÚ THÍCH: Trừ khi có quy định khác, dung sai của các phép đo kích thước là ± 1 mm và của các phép đo góc là ± 1°.
Hình 22 - Dụng cụ dò C (mô phỏng phần thân của trẻ) để đánh giá các khoảng hở được bao kín hoàn toàn
Kích thước tính bằng milimét

CHÚ DẪN
1 Tay cầm
CHÚ THÍCH: Trừ khi có quy định khác, dung sai của các phép đo là ± 1 mm.
Hình 23 - Dụng cụ dò D (mẫu lớn mô phỏng phần đầu của trẻ) để đánh giá các khoảng hở được bao kín hoàn toàn
Kích thước tính bằng milimét

CHÚ DẪN
1 Tay cầm
CHÚ THÍCH: Trừ khi có quy định khác, dung sai của các phép đo là ± 1 mm.
Hình 24 - Dụng cụ dò E để đánh giá các khoảng hở được bao kín hoàn toàn
6.5.2. Sự mắc kẹt đầu và cổ vào các khoảng hở được bao kín một phần và khoảng hở có dạng hình chữ V (xem 4.4.1)
6.5.2.1. Nguyên tắc
Sử dụng dưỡng thử để đánh giá nguy cơ đầu và cổ bị mắc kẹt vào các khoảng hở được bao kín một phần và khoảng hở có dạng hình chữ V.
6.5.2.2. Thiết bị, dụng cụ
Dưỡng thử được làm bằng vật liệu cứng thích hợp và có kích thước như mô tả tại Hình 25.
6.5.2.3. Cách tiến hành
a) Đặt phần "B" của dưỡng thử vào giữa và vuông góc với phần biên của khoảng hở như mô tả tại Hình 26.
Quan sát xem dưỡng thử có lọt hẳn vào trong qua phần biên của khoảng hở hay không hoặc không thể đưa toàn bộ chiều dày của dưỡng thử vào khoảng hở như mô tả tại Hình 26.
Đánh giá xem khoảng hở là loại tiếp xúc được hay không tiếp xúc được như nêu tại Hình 26.
b) Nếu có thể đưa dưỡng thử vào đến độ sâu lớn hơn chiều dày của dưỡng (45 mm) khi thử theo a) thì đưa phần "A" của dưỡng thử vào khoảng hở sao cho đường tâm của nó thẳng hàng với đường tâm của khoảng hở và mặt phẳng của nó song song và thẳng hàng với khoảng hở như mô tả tại Hình 27.
Kích thước tính bằng milimét

CHÚ DẪN
1 phần B
2 phần A
CHÚ THÍCH: Trừ khi có quy định khác, dung sai của các phép đo kích thước là ± 1 mm và của các phép đo góc là ± 1°.
Hình 25 - Dưỡng thử D để đánh giá nguy cơ đầu và cổ bị mắc kẹt vào các khoảng hở được bao kín một phần và khoảng hở có dạng hình chữ V

a Không tiếp xúc được.
b Tiếp xúc được.
Hình 26 - Cách đưa phần "B" của dưỡng thử vào khoảng hở

a Đạt.
b Không đạt.
Hình 27 - Cách đưa phần "A" của dưỡng thử vào khoảng hở
Gài dưỡng thử dọc theo đường tâm của khoảng hở cho đến khi dưỡng bị chặn lại bởi đường bao quanh của khoảng hở hoặc đầu của dưỡng thử tiếp xúc với đáy của khoảng hở.
Quan sát xem đầu của dưỡng thử có tiếp xúc với đáy của khoảng hở được bao kín một phần hoặc khoảng hở có dạng hình chữ V như mô tả tại Hình 27 hay không.
6.6. Thử các hạt, nút ở đầu dây rút trên quần áo (xem 4.4.2)
6.6.1. Nguyên tắc
Di chuyển dụng cụ thử dọc theo hướng của chuyển động bắt buộc để xem có tồn tại nguy cơ gây vướng/mắc kẹt hay không.
6.6.2. Thiết bị, dụng cụ
Dụng cụ thử như mô tả tại Hình 28 a) gồm có:
- hạt, như mô tả tại Hình 28 b), được làm bằng vật liệu phù hợp như polyamit (PA) (ví dụ nylon) hoặc polytetrafluroetylen (PTFE);
- dây xích, như mô tả tại Hình 28 c);
- vòng đai, có thể tháo rời và trượt dễ dàng trên cọc của dụng cụ thử;
- cọc.

CHÚ DẪN
1 Cọc
2 Dây xích
3 Hạt nhựa
4 Vòng đai
Hình 28 - Dụng cụ thử
6.6.3. Cách tiến hành
6.6.3.1. Cầu trượt
Đặt bộ dụng cụ thử thẳng đứng tại vị trí cách điểm chuyển tiếp giữa vùng bắt đầu và vùng trượt của cầu trượt 200 mm và tại vị trí phù hợp ở hai bên lòng máng trượt như mô tả tại Hình 29.
Kích thước tính bằng milimét

CHÚ DẪN
1 Dụng cụ thử
2 Đường tâm
Hình 29 - Đặt dụng cụ thử lên cầu trượt
Dây xích và hạt được thử tại tất cả các vị trí trên cọc như sau.
a) Di chuyển bộ dụng cụ thử theo hướng của chuyển động bắt buộc nhưng phải đảm bảo rằng cọc của dụng cụ thử được giữ thẳng đứng, đồng thời dây xích và hạt gắn ở đầu dây chỉ chịu tác động duy nhất bởi khối lượng của chính nó. Không tác động thêm bất kỳ lực bổ sung nào để làm dây xích hoặc hạt bị chèn vào một khe hở.
b) Đối với cầu trượt rộng hơn chiều rộng của dụng cụ thử thì tiến hành thử hai lần với đế cọc được đặt tại rìa xa nhất của máng trượt như mô tả tại Hình 29.
Quan sát xem dây xích hoặc hạt ở đầu dây có bị vướng/mắc kẹt hay không.
6.6.3.2. Cột tụt
Tiến hành thử theo hai cách khác nhau như sau
a) Đặt bộ dụng cụ thử thẳng đứng tại rìa của sàn tại điểm gần với cột tụt nhất.
Sử dụng dụng cụ thử tại tất cả các vị trí của dây xích và hạt trên cọc nhưng phải đảm bảo rằng dây xích hoặc hạt gắn ở đầu dây chỉ chịu tác động duy nhất bởi khối lượng của chính nó. Không tác động thêm bất kỳ lực bổ sung nào để làm dây xích hoặc hạt bị chèn vào một khe hở. Nếu nhờ vậy mà xác định được điểm có nguy cơ gây vướng mắc tiềm ẩn thì di chuyển dụng cụ thử theo hướng chuyển động bắt buộc của người sử dụng.
Quan sát xem hạt hoặc dây xích có bị vướng/mắc kẹt hay không.
b) Tháo dây xích và hạt ra khỏi bộ dụng cụ thử và đặt nó vào vị trí cách bề mặt của sàn liền kề 1800 mm như mô tả tại Hình 30.
Tác động dây xích và hạt lên tất cả các vị trí dọc theo toàn bộ chiều dài của cột tụt xuống đến điểm cách nền 1 000 mm nhưng phải đảm bảo rằng dây xích hoặc hạt gắn ở đầu dây chỉ chịu tác động duy nhất bởi khối lượng của chính nó. Không tác động thêm bất kỳ lực bổ sung nào để làm dây xích hoặc hạt bị chèn vào một khe hở. Nếu nhờ vậy mà xác định được điểm có nguy cơ gây vướng mắc tiềm ẩn thì di chuyển dây xích và hạt theo hướng chuyển động bắt buộc của người sử dụng.
Quan sát xem dây xích và hạt có bị vướng/mắc hay không.
Kích thước tính bằng milimét

CHÚ DẪN
1 Sàn bắt đầu
2 Dây xích và hạt
Hình 30 - Đặt dụng cụ thử trên cột tụt
6.6.3.3. Mái
Tác động dây xích và hạt lên bất kỳ khe hở nào tiếp xúc được tại đỉnh hoặc dọc theo bề mặt của mái, nhưng phải đảm bảo rằng dây xích hoặc hạt gắn ở đầu dây chỉ chịu tác động duy nhất bởi khối lượng của chính nó. Không tác động thêm bất kỳ lực bổ sung nào để làm dây xích hoặc hạt bị chèn vào một khe hở.
Di chuyển dụng cụ thử theo tất cả các hướng chuyển động trượt tiềm ẩn của người sử dụng.
Quan sát xem dây xích hoặc hạt có bị vướng/mắc kẹt hay không.
6.7. Thử chi tiết nhô ra (xem 4.1.4)
6.7.1. Tất cả các chi tiết nhô ra (xem 4.1.4.1, 4.1.4.2 và 4.1.4.3)
6.7.1.1. Nguyên tắc
Sử dụng dụng cụ thử để đánh giá mức độ nhô ra của các chi tiết.
6.7.1.2. Thiết bị, dụng cụ
Dụng cụ thử được làm bằng vật liệu cứng thích hợp và có các kích thước như nêu trong Hình 31.
Kích thước tính bằng milimét

Hình 31 - Dụng cụ thử các chi tiết nhô ra
6.7.1.3. Cách tiến hành
Đặt từng dụng cụ thử như nêu tại Hình 31 lên trên các chi tiết nhô ra.
Đối với các chi tiết lọt được vào trong dụng cụ thử thì kiểm tra xem chi tiết này có nhô ra khỏi bề mặt của dụng cụ thử hay không.
Xem các ví dụ về việc sử dụng các dụng cụ thử tại Hình 32.

CHÚ DẪN
1 Dụng cụ thử
a Đạt.
b Không đạt.
Hình 32 - Thử các chi tiết phức hợp nhô ra
6.7.2. Các chi tiết nhô ra trong các đường chuyển động
6.7.2.1. Nguyên tắc
Sử dụng dụng cụ thử để đánh giá mức độ nhô ra của các chi tiết.
6.7.2.2. Thiết bị, dụng cụ
Dụng cụ thử được làm bằng vật liệu cứng thích hợp và có các kích thước như nêu tại Hình 33.
6.7.2.3. Cách tiến hành
a) Đối với ghế đu, thực hiện phép thử khi ghế đu ở trạng thái nghỉ. Đặt dụng cụ thử như nêu tại Hình 33 lên trên bất kỳ chi tiết nhô ra nào ở phía trước và phía sau trên bề mặt của bộ phận treo sao cho trục của lỗ trên dụng cụ thử song song với cả đường đi dự kiến của bộ phận treo và mặt phẳng nằm ngang.
b) Đối với cầu trượt, đặt dụng cụ thử như nêu tại Hình 33 lên trên bất kỳ chi tiết nhô ra nào trên bề mặt phía trên của cầu trượt.
Xác định xem các chi tiết nhô ra đó có nhô ra khỏi bề mặt của dụng cụ thử hay không.
Kích thước tính bằng milimét

Hình 33 - Dụng cụ thử cho các đường chuyển động
6.8. Thử độ bền của các móc treo và phương tiện treo (xem 4.7.8)
6.8.1. Nguyên tắc
Các móc treo và phương tiện treo phải được thử qua 180 000 chu kỳ hoạt động khi được chất tải để mô phỏng quá trình sử dụng.
6.8.2. Thiết bị, dụng cụ
Tải trọng thử được quy định tại Bảng 4.
Bảng 4 - Đường cung đu và tải trọng thử
|
Loại đu |
Đường cung
đu |
Tải trọng |
|
Đu dành cho một người (có hai móc treo) |
90 |
37 |
|
Đu không quây kín dành cho nhiều người (có hai móc treo, hai người) |
60 |
60 |
|
Đu quây kín dành cho nhiều người (có bốn móc treo, hai người) |
45 |
27 |
|
Đu quây kín dành cho nhiều người (có bốn móc treo, bốn người) |
45 |
54 |
6.8.3. Cách tiến hành
Gắn từng loại ghế đu với bộ phận đỡ của nó theo hướng dẫn lắp đặt và gắn cơ cấu đu này vào một khung thử cố định phù hợp.
Các chi tiết mềm của ghế đu có thể được thay thế bằng các chi tiết cứng có cùng kích cỡ và khối lượng miễn là các chi tiết thay thế này không làm ảnh hưởng đến các bộ phận chuyển động của ghế đu.
Buộc tải có khối lượng phù hợp vào từng vị trí sử dụng cần thử.
Thử mẫu được chất tải như trên tổng cộng 180 000 chu kỳ đu về phía trước và phía sau với cung đu như nêu tại bảng 4.
Xác định xem các móc treo đu có bị lỏng ra hay hư hỏng về kết cấu hay không.
6.8.4. Quy trình thay thế
Có thể sử dụng một quy trình thử thay thế quy trình trên bằng cách thử riêng biệt các móc treo trên khung thử tại phòng thí nghiệm như sau.
Gắn móc treo vào một phần của bộ phận đỡ đu theo hướng dẫn lắp đặt của nhà sản xuất.
Lắp móc treo và bộ phận đỡ đu vào khung thử như mô tả tại Hình 34, sao cho trục xoay của khung thử và điểm chốt xoay của móc treo thẳng hàng.
Gắn tải trọng thử tương ứng theo quy định tại Bảng 4 vào móc treo và thử 180 000 chu kỳ đu về phía trước và phía sau với cung đu tương ứng quy định tại Bảng 4.

CHÚ DẪN
1 trục xoay
2 điểm chốt xoay
3 tải trọng thử
4 cung đu (xem Bảng 4)
Hình 34 - Móc treo và khung treo để thử
Phụ lục A
(tham khảo)
Cơ sở và lý do cơ bản để đưa ra các quy định trong tiêu chuẩn
A.0 Quy định chung
Phụ lục này cung cấp cơ sở và các lý do cơ bản để đưa ra một số yêu cầu quan trọng trong tiêu chuẩn. Phụ lục này nhằm đến những người đã biết về các đối tượng của tiêu chuẩn nhưng không tham gia vào việc xây dựng tiêu chuẩn. Việc hiểu được lý do đưa ra các quy định tại tiêu chuẩn này được cho là cần thiết để áp dụng đúng tiêu chuẩn.
Các điều trong phụ lục này được đánh số tương ứng với các điều mà nó viện dẫn đến nên việc đánh số tại phụ lục là không liên tục.
A.1 Phạm vi áp dụng
Đồ chơi thuộc phạm vi của tiêu chuẩn này có cùng các nguy cơ như các sản phẩm thuộc nhóm thiết bị dùng trong các sân chơi công cộng. Đôi khi rất khó để phân biệt giữa đồ chơi sử dụng tại gia đình và đồ chơi dành cho các sân chơi công cộng. Nguyên tắc chung là các sản phẩm được mua để sử dụng riêng tại gia đình thì thuộc phạm vi của tiêu chuẩn này.
A.4.1 Các yêu cầu, quy định chung
Điều này đưa ra các yêu cầu cơ bản đối với tất cả các đồ chơi vận động nhằm làm giảm thiểu các mối nguy do đồ chơi không đáp ứng yêu cầu về độ bền, do bị ngã từ trên cao, do các chi tiết nhô ra nguy hiểm và đưa ra một số yêu cầu đối với phần cứng của đồ chơi.
A.4.1.2 Chiều cao tối đa
Chiều cao rơi tối đa không thay đổi theo lứa tuổi sử dụng vì một đồ chơi vận động thường dành cho nhóm đối tượng sử dụng rộng rãi. Các yêu cầu đối với thanh chắn được đưa ra để đảm bảo rằng các sàn ở trên cao là an toàn với trẻ ở mọi lứa tuổi.
A.4.1.3. Góc và cạnh
Yêu cầu về bán kính cong 3 mm của các bộ phận chuyển động áp dụng cho đu, đồ chơi cưỡi/quay tròn và các sản phẩm tương tự mang khối lượng của trẻ và có tốc độ nhất định. Yêu cầu này không áp dụng cho cửa, nắp và các bộ phận có chuyển động tương tự. Tuy nhiên, khi thích hợp, các nhà sản xuất được khuyến cáo sử dụng bán kính rộng để giảm thiểu các nguy cơ này.
CHÚ THÍCH: Các yêu cầu chung đối với các cạnh sắc được nêu trong TCVN 6238-1 (ISO 8124-1).
A.4.1.5 Dây bện, dây xích và dây cáp để trèo và đu
Các dây bện treo tự do thường có nguy cơ gây nghẹt thở. Yêu cầu này được đưa ra nhằm ngăn ngừa khả năng dây bện tạo thành thòng lọng quấn quanh cổ trẻ.
Lưu ý rằng dây xích hoặc dây cáp treo mà có thể tạo thành một vòng lớn hơn 130 mm cũng có thể tạo thành một vòng 130 mm và do vậy sẽ không đáp ứng yêu cầu này.
A.4.2 Thanh chắn
Không có yêu cầu về thanh chắn đối với các sàn thấp hơn 760 mm vì khi ngã từ độ cao này thì không có nguy cơ gây chấn thương nguy hiểm.
Nguy cơ gây chấn thương cho trẻ nhỏ sẽ cao hơn khi bị ngã từ các sàn có độ cao từ 760 mm đến 1000 mm. Các thanh chắn trên các sàn này có tác dụng ngăn cho trẻ nhỏ không vô tình bị ngã do chúng chưa nhận thức được nguy hiểm vốn có của các sàn ở trên cao. Các thanh chắn này có thể cao hơn 630 mm nhưng quy định về khoảng hở tối đa 610 mm theo chiều thẳng đứng nhằm để đảm bảo rằng thanh chắn thực sự có tác dụng đối với trẻ thuộc nhóm trẻ nhỏ nhất có thể chơi trên đồ chơi.
Đối với các sàn ở độ cao trên 1 000 mm thì nguy cơ bị chấn thương càng cao hơn vì vậy thanh chắn được yêu cầu phải cao hơn và phải được thiết kế để ngăn ngừa việc trẻ chui qua các thanh chắn này. Yêu cầu về chiều cao của thanh chắn đối với các sàn có độ cao từ 1 000 mm đến 1830 mm được đưa ra trên cơ sở độ cao trọng tâm của 95 phần trăm số trẻ ở độ tuổi lên sáu. Yêu cầu về chiều cao của thanh chắn đối với các sàn cao hơn 1 830 mm được đưa ra trên cơ sở độ cao trọng tâm của 95 phần trăm số trẻ ở độ tuổi lên mười.
Khi trẻ lớn hơn mười tuổi sử dụng các đồ chơi này thì không cần thiết phải có thanh chắn cao hơn do ở độ tuổi này trẻ đã có sự kết hợp các kỹ năng vận động và nhận thức tốt về các nguy cơ này.
A.4.4 Bị vướng/mắc kẹt
Các tai nạn nghiêm trọng đã xảy ra khi đầu của trẻ bị mắc kẹt và làm cho trẻ bị nghẹt thở. Bởi vậy các khoảng hở phải được thiết kế sao cho nếu dụng cụ thử mô phỏng phần thân của trẻ có thể gài qua khoảng hở này thì đầu của trẻ cũng có thể chui qua được. Mối nguy này sẽ trở nên phức tạp hơn vì trong thực tế đôi khi trẻ đội mũ bảo hiểm khi đi xe đạp hoặc mũ bảo hiểm đồ chơi.
Việc loại trừ đối với các khoảng hở cao hơn so với mặt nền từ 600 mm trở xuống sẽ không tồn tại lâu do các nghiên cứu mới đây chỉ ra rằng trẻ nhỏ vẫn có thể bị nghẹt thở ngay cả khi chúng đứng trên mặt nền.
Các mối nguy đáng kể cũng xảy ra với mũ trùm đầu và mũ có dây trên quần áo, ví dụ khi trẻ trượt xuống cầu trượt và phép thử nêu tại 6.6 được đưa ra để giảm nguy cơ các chi tiết này bị mắc vào đồ chơi.
Điều 4.4 cũng đưa ra các yêu cầu liên quan đến việc vướng/mắc kẹt các ngón tay, ngón chân cũng như các bộ phận khác của cơ thể.
A.4.6 Cầu trượt
Các yêu cầu cho tay vịn [xem 4.6.3 c)] đối với vùng bắt đầu và đối với thang trèo được đưa ra để ngăn cho trẻ khỏi bị ngã khi di chuyển vào vị trí ngồi ở vùng bắt đầu của cầu trượt.
A.4.7 Đu
Các yêu cầu này được đưa ra để giảm các nguy cơ từ khung và các phần treo, và giảm nguy cơ trẻ bị vướng vào các dây treo.
A.4.7.2 Độ bền của xà ngang, cơ cấu đu, các móc treo và dây treo
Đu dành cho trẻ dưới 36 tháng tuổi thường được sử dụng trong nhà và thường được treo ở chỗ mở cửa.
Các đu này được thử với tải trọng là 200 kg vì có khả năng là trẻ lớn hơn cũng có thể sử dụng đu. Các đu có các điểm treo đu cao hơn so với nền từ 1 200 mm trở xuống thì được cho là quá thấp để trẻ lớn hơn có thể sử dụng và do đó chỉ phải thử với tải trọng là 66 kg.
A.4.7.6 Độ ổn định về hai bên của ghế đu
Yêu cầu này nhằm giảm nguy cơ va đập với ghế đu liền kề.
A.4.7.8 Các móc treo và phương tiện treo
Đường kính tối thiểu của dây bện hoặc độ rộng của dây đai và dây xích được quy định là 10 mm để giảm nguy cơ bị vướng mắc vào dây gây nghẹt thở.
A.4.9 Đồ chơi cưỡi/quay tròn và đồ chơi cưỡi/ bập bênh
Yêu cầu này nhằm mục đích đảm bảo độ bền và độ ổn định về phía trước và phía sau và độ ổn định về hai bên của các đồ chơi cưỡi/bập bênh sao cho đồ chơi không bị lật đổ ngoài ý muốn.
Phụ lục B
(tham khảo)
Phiếu thông tin cho khách hàng về các vật liệu làm nền cho thiết bị đồ chơi
Ủy ban An toàn sản phẩm hàng tiêu dùng của Mỹ (CPSC) ước tính rằng có khoảng 100 000 ca chấn thương do bị ngã từ các thiết bị chơi xuống nền được điều trị trong các bệnh viện tại Mỹ. Các chấn thương kiểu này là chấn thương nguy hiểm nhất trong các chấn thương liên quan đến thiết bị chơi và có khả năng gây chết người, đặc biệt là với chấn thương ở đầu. Bề mặt nền bên dưới và xung quanh thiết bị có thể là yếu tố chính gây ra nguy cơ chấn thương khi ngã. Hiển nhiên là khi ngã lên một bề mặt giảm chấn thì ít có nguy cơ gây chấn thương nghiêm trọng hơn so với khi ngã lên một bề mặt cứng. Không bao giờ được đặt thiết bị đồ chơi trên một bề mặt cứng, như là nền bê tông hoặc nền trải nhựa đường, và nếu sử dụng nền giảm chấn bằng cỏ thì đất nền sẽ sớm bị lộ ra tại những nơi thường xuyên có người qua lại. Có thể sử dụng các vật liệu như mùn cưa, vỏ bào từ gỗ, cát hoặc sỏi mịn để tạo bề mặt giảm chấn bằng cách rải ra và duy trì chúng tại độ sâu thích hợp ở bên dưới và xung quanh thiết bị.
Bảng B.1 liệt kê các chiều cao tối đa mà từ đó nếu trẻ bị ngã lên bốn loại vật liệu bề mặt nêu trên sẽ không xảy ra nguy cơ chấn thương đầu có thể dẫn đến chết người, nếu các vật liệu này được rải ra và duy trì tại các độ sâu 150 mm, 225 mm và 300 mm.
Bảng B.1 - Chiều cao rơi tính theo milimét mà không gây chấn thương ở đầu có thể dẫn đến chết người
|
Loại vật liệu |
Độ sâu của vật liệu bề mặt |
||
|
150 mm |
225 mm |
300 mm |
|
|
Mùn cưa |
1 800 |
3 000 |
3 300 |
|
Vỏ bào từ gỗ |
1 800 |
2 100 |
3 600 |
|
Cát mịn |
1 500 |
1 500 |
2 700 |
|
Sỏi nhỏ |
1 800 |
2 100 |
3 000 |
Tuy nhiên, cũng phải thừa nhận rằng dù có sử dụng loại sàn nào đi nữa thì cũng không ngăn được tất cả các chấn thương gây ra do bị ngã từ trên cao.
Người ta khuyến cáo rằng nên bố trí vật liệu giảm chấn cách chu vi của các thiết bị tĩnh như thang trèo và cầu trượt ít nhất là 1 800 mm theo tất cả các hướng. Tuy nhiên do trẻ có thể cố ý nhảy từ một đu đang chuyển động nên vật liệu giảm chấn phải được bố trí mở rộng ra phía trước và sau đu một khoảng tối thiểu bằng hai lần độ cao của điểm chốt xoay tính từ điểm trên cơ cấu treo ở ngay bên dưới trục.
Thông tin này nhằm hỗ trợ cho việc so sánh tính chất giảm chấn tương đối của các vật liệu khác nhau. Không có vật liệu nào được đề xuất ưu tiên hơn các vật liệu còn lại. Tuy nhiên, mỗi vật liệu chỉ hiệu quả khi được duy trì đúng cách. Các vật liệu này phải được kiểm tra và bổ sung định kỳ để duy trì được độ sâu phù hợp cần thiết đối với thiết bị sử dụng. Việc lựa chọn vật liệu phụ thuộc vào loại và độ cao của thiết bị chơi, sự sẵn có của vật liệu và giá cả của nó.
Thông tin này được trích dẫn từ các ấn bản sau của CPSC “Playground surfacing - Technical information guide (Bề mặt nền của thiết bị chơi - Thông tin hướng dẫn kỹ thuật)" và “Handbook for Public Playground Safety (Sổ tay an toàn cho các thiết bị dùng cho sân chơi công cộng)”.
THƯ MỤC TÀI LIỆU THAM KHẢO
[1] EN 71-8, Safety of toys - Part 8: Swings, slides and similar activity toys for indoor and outdoor family domestic use.
[2] ASTM F1148, Standard consumer safety performance specification for home playground equipment.
MỤC LỤC
Lời nói đầu
Lời giới thiệu
1. Phạm vi áp dụng
2. Tài liệu viện dẫn
3. Thuật ngữ và định nghĩa
4. Yêu cầu
4.1. Quy định chung
4.2. Thanh chắn
4.3. Thang leo, thang bậc và cầu thang
4.4. Vướng/mắc kẹt
4.5. Độ ổn định của các đồ chơi vận động không phải là cầu trượt, đu và đồ chơi có xà ngang
4.6. Cầu trượt
4.7. Đu
4.8. Đồ chơi bập bênh
4.9. Đồ chơi cưỡi/quay tròn và đồ chơi cưỡi/bập bênh
5. Cảnh báo và ghi nhãn
5.1. Ghi nhãn
5.2. Hướng dẫn lắp ráp và lắp đặt
5.3. Hướng dẫn bảo dưỡng
6. Phương pháp thử
6.1. Độ ổn định
6.2. Độ bền tĩnh
6.3. Độ bền động của thanh chắn và tay vịn
6.4. Xác định sự va đập của ghế đu
6.5. Thử mắc kẹt đầu và cổ
6.6. Thử các hạt, nút ở đầu dây rút trên quần áo
6.7. Thử chi tiết nhô ra
6.8. Thử độ bền của các móc treo và phương tiện treo
Phụ lục A Cơ sở và lý do cơ bản để đưa ra các quy định trong tiêu chuẩn
Phụ lục B Phiếu thông tin cho khách hàng về các vật liệu làm nền cho thiết bị đồ chơi
Thư mục tài liệu tham khảo