Nội dung toàn văn Tiêu chuẩn quốc gia TCVN 8731:2012 về Đất xây dựng công trình thủy lợi - Phương pháp xác định độ thấm nước của đất bằng thí nghiệm đổ nước trong hố đào và trong hố khoan tại hiện trường
TIÊU CHUẨN QUỐC GIA
TCVN 8731:2012
ĐẤT XÂY DỰNG CÔNG TRÌNH THỦY LỢI - PHƯƠNG PHÁP XÁC ĐỊNH ĐỘ THẤM NƯỚC CỦA ĐẤT BẰNG THÍ NGHIỆM ĐỔ NƯỚC TRONG HỐ ĐÀO VÀ TRONG HỐ KHOAN TẠI HIỆN TRƯỜNG
Soils for hydraulic engineering construction - Field test method for determination of water permeability of soil by testing of water pouring in the pit and boreholes
Lời nói đầu
TCVN 8731:2012 được chuyển đổi từ 14 TCN 153:2006 theo quy định tại khoản 1 Điều 69 của Luật Tiêu chuẩn và Quy chuẩn kỹ thuật và điểm a khoản 1 Điều 6 Nghị định số 127/2007/NĐ-CP ngày 01/8/2007 của Chính phủ quy định chi tiết thi hành một số điều của Luật Tiêu chuẩn và Quy chuẩn kỹ thuật.
TCVN 8731:2012 do Viện Khoa học Thủy lợi Việt Nam biên soạn, Bộ Nông nghiệp và Phát triển nông thôn đề nghị, Tổng cục Tiêu chuẩn Đo lường Chất lượng thẩm định, Bộ Khoa học và Công nghệ công bố.
ĐẤT XÂY DỰNG CÔNG TRÌNH THỦY LỢI - PHƯƠNG PHÁP XÁC ĐỊNH ĐỘ THẤM NƯỚC CỦA ĐẤT BẰNG THÍ NGHIỆM ĐỔ NƯỚC TRONG HỐ ĐÀO VÀ TRONG HỐ KHOAN TẠI HIỆN TRƯỜNG
Soils for hydraulic engineering construction - Field test method for determination of water permeability of soil by testing of water pouring in the pit and boreholes
1. Phạm vi áp dụng
1.1 Tiêu chuẩn này quy định phương pháp xác định độ thấm nước của đất bằng thí nghiệm đổ nước trong hố đào và trong hố khoan đối với các lớp đất có chiều dày khoảng 3 m đến 5 m hoặc hơn, có mặt lớp xuất lộ hoặc ở nông, thuộc đới thông khí, không bão hòa nước và được xem là đồng nhất đẳng hướng về phương diện thấm.
1.2 Tiêu chuẩn này áp dụng cho các loại đất hạt mịn, đất cát chứa sạn sỏi và đất sạn sỏi, có kết cấu tự nhiên hoặc được đầm chặt lại, trong xây dựng công trình thủy lợi
1.3 Tiêu chuẩn này không áp dụng cho đất cuội dăm và đất hòn tảng.
CHÚ THÍCH:
Đối với đất nằm dưới mực nước ngầm thí áp dụng phương pháp thí nghiệm múc nước hoặc bơm hút nước trong hố đào hoặc trong hố khoan, theo chỉ dẫn ở tiêu chuẩn khác.
2. Thuật ngữ, định nghĩa, ký hiệu và đơn vị đo
Trong Tiêu chuẩn này sử dụng các thuật ngữ và định nghĩa sau đây:
2.1
Độ thấm nước của đất (water permeability of soil)
Là mức độ lớn hay nhỏ của nước thấm qua các lỗ rỗng giữa các hạt rắn của đất, tuân theo định luật chảy tầng của Darcy.
2.2
Hệ số thấm của đất (permeability coeficient of soil)
Là vận tốc nước thấm qua một đơn vị diện tích đất vuông góc với phương thấm, dưới tác dụng của gradient thủy lực (J) bằng một đơn vị, ký hiệu là Kth, tính bằng cm/s (hoặc m/ng.đêm).
2.3
Lưu lượng nước thấm ổn định (steady permeable flow)
Là lưu lượng nước thấm không thay đổi theo thời gian, dưới tác dụng của gradient thủy lực xác định.
3. Quy định chung
3.1 Thí nghiệm thấm tại hiện trường được tiến hành trong các công trình thăm dò (hố khoan, hố đào), trong quá trình khảo sát địa chất công trình hoặc theo đề cương nghiên cứu, thẩm tra tính thấm nước của đất.
3.2 Nước dùng để thí nghiệm phải là nước trong, không chứa các hạt bụi, hạt sét lơ lửng, không lẫn các tạp chất và không nhiễm muối.
3.3 Tùy theo lớp đất nằm ở nông hoặc sâu mà lựa chọn áp dụng phương pháp thí nghiệm khả thi và thích hợp: thí nghiệm đổ nước trong hố đào thích hợp với lớp đất có mặt lớp xuất lộ trên mặt đất tự nhiên hoặc ở nông (thường không quá 1,5 m), còn thí nghiệm đổ nước trong hố khoan thích hợp với các lớp đất có mặt lớp nằm ở sâu hơn 1,5 m.
3.4 Khi kết thúc thí nghiệm, phải lắp đầy hố thí nghiệm bằng chính đất đã khoan, đào lên và đầm chặt đất trả lại như trước; đặc biệt là các hố thí nghiệm trong thân đập, thân đê, phải tiến hành đầm chặt đất từng lớp từ 25 cm đến 30 m với đất ở độ ẩm thích hợp.
4. Thí nghiệm đổ nước trong hố đào theo phương pháp cột nước không đổi
4.1 Phương pháp của A.K.Bônđưrep (phương pháp chỉ định)
4.1.1 Phạm vi áp dụng
Phương pháp thí nghiệm này áp dụng thích hợp đối với các loại đất chứa nhiều sạn sỏi như đã nói ở Điều 1, có mặt lớp xuất lộ hoặc ở tại độ sâu không quá 1,5 m, không bão hòa, có tính thấm tương đối lớn đến lớn.
4.1.2 Nguyên tắc
Thí nghiệm đổ nước vào hố đào có một vòng chắn, khống chế cột nước áp lực không đổi bằng 0,1 m; tiến hành quan trắc thấm cho đến khi xác định lưu lượng thấm ổn định; tính toán hệ số thấm của đất theo định luật Darcy, dựa trên ba giả thiết sau đây:
a. Dòng thấm từ đáy hồ đào ở trong vòng chắn hướng thẳng xuống đất, không chảy tản ra các phía, nên tiết diện thấm bằng tiết diện của vòng chắn.
b. Với chiều cao cột nước áp lực 10 cm là nhỏ, nên có thể rằng, khi lưu lượng thấm đạt đến ổn định, thì chiều sâu nước thấm xuống đất cũng nhỏ và do vậy, có gradient thủy lực tương ứng bằng 1; khi đó vận tốc thấm bằng hệ số thấm.
c. Áp lực mao dẫn không đáng kể.
4.1.3 Thiết bị, dụng cụ thí nghiệm
4.1.3.1 Vòng chắn bằng thép, hình trụ có đường kính trong 50 cm, cao từ 20 cm đến 25 cm, thành dày từ 3 mm đến 5 mm và một đầu được vát sắt mép ngoài.
4.1.3.2 Thiết bị cấp nước, đơn giản nhất là dùng hai thùng đo định chuẩn có thông số kỹ thuật như nhau. Thùng đo định chuẩn được chế tạo bằng thép cứng, có dạng hình trụ tròn thẳng đứng và không có lồi lõm, đường kính trong bằng 400 mm, chiều cao 800 mm. Ở phần dưới của thùng đo có hai van: một van nối thông với ống đo mực nước (2) được làm bằng thủy tinh, gắn trên bảng thang đo chia vạch mm được đặt thẳng đứng và cố định với thành thùng đo; và một van nối với ống dẫn nước ra.
Hai thùng đo định chuẩn được đặt thẳng đứng trên một giá đỡ vững chắc và gắn chặt chẽ với nhau bằng các đai thép cứng (5), ống dẫn nước ra của hai thùng được kết nối với một van ba nhánh (3). Nhánh thứ ba của van này được nối với ống cứng (4) để dẫn nước ra và kết nối với đầu ống của phao nước nổi. Khi thí nghiệm, van ba nhánh này cho phép đóng nước ở thùng đã vơi hết nước, đồng thời mở nước ở thùng thứ hai đã được đổ đầy nước trước đó, đảm bao cho thí nghiệm được liên tục (xem hình B.1 Phụ lục B).
Trước khi sử dụng, phải hiệu chuẩn để xác định lượng nước ứng với từng vạch mm trên thang đo của từng thùng; và lập biểu đồ quan hệ giữa số đo (mm) trên thang đo (kể từ mốc số 0 ở gần miệng thùng) với lượng nước tương ứng của thùng (cm3) để tiện sử dụng khi thí nghiệm. Phải kiểm tra van ba nhánh và các ống nối, đảm bảo các linh kiện này không bị rò rỉ nước.
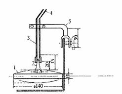
4.1.3.3 Thiết bị tự động điều chỉnh mực nước (xem hình B.2 Phụ lục B), có kết cấu gồm: phao nổi (1), ở tâm đỉnh phao được gắn thẳng đứng một van hình nón (2) làm bằng kim loại có độ bóng rất cao, có kích thước phù hợp với miệng đầu dưới của ống dẫn nước (3) và dễ dàng bịt kín được ống này, ống cứng dẫn nước (3) được lắp đặt thẳng đứng trên giá đỡ (5) và có thể điều chỉnh, cố định ở độ cao yêu cầu, thành trong miệng ống đầu dưới có độ bóng rất cao và có thể chụp khít lên hình nón (2); giá đỡ (5) có thể lắp đặt với thành vòng chặn vách hố hoặc có thể cố định ở vị trí thích hợp khác khi thí nghiệm.
4.1.3.4 Nước dùng để thí nghiệm phải phù hợp với quy định nêu trong 3.2
4.1.3.5 Các dụng cụ thông thường khác như đồng hồ bấm giây, đồng hồ chỉ giờ, dụng cụ đào hố; thanh gạt phẳng; thước đo có chiều dài khoảng 50 cm đến 100 cm với thang chia mm; thùng chứa nước dự trữ; một ít vật liệu đất sét mềm dẻo, một ít vật liệu sỏi hạt 2 mm đến 10 mm; nhiệt kế chia độ đến 50 0C, số đọc chính xác đến 0,5 0C.
4.1.4 Các bước tiến hành
4.1.4.1 San bằng mặt đất vị trí thí nghiệm. Đào hố có kích thước khoảng 1,0 m x 1,5 m, có độ sâu đến mặt lớp đất cần xác định hệ số thấm, gạt bằng bề mặt đáy hồ. Sau đó, ở một phía (theo cạnh dài hố), đào hố tròn có đường kính lớn hơn 50 cm một ít, sâu từ 15 cm đến 20 cm làm hố thí nghiệm đổ nước;
4.1.4.2 Cẩn thận đặt vòng chắn (được mô tả trong 4.1.3.1) xuống hố, cho đầu vát mép xuống dưới, bằng biện pháp thích hợp ấn thẳng đứng vòng chắn cho ngập đều vào đất từ 5 cm đến 6 cm, rồi lấy đất sét ẩm nhét kín khe hở giữa vách hố và xung quanh chân thành ngoài của vòng chắn; cắt, gạt, sửa đáy hố cho bằng phẳng, nhưng không làm lấp bịt các lỗ hổng vốn có của đất.
4.1.4.3 Kẹp chặt thước đo với thành trong của vòng chắn, đảm bảo thước thẳng đứng và vạch số không (0) ngang với đáy hồ; rồi đánh dấu mốc chiều cao 10 cm lên thành vòng chắn. Sau đó, rải đều lên đáy hồ một lớp sỏi hạt từ 2 mm đến 10 mm, dày từ 2 cm đến 3 cm, để chống xói đáy hồ khi đổ nước.
4.1.4.4 Lập lát cắt địa chất hố thí nghiệm đổ nước.
4.1.4.5 Lắp đặt thiết bị cấp nước (được mô tả trong 4.1.3.2) vào vị trí thuận tiện cho cấp nước thí nghiệm, các thùng định chuẩn chứa đầy nước được đặt và cân chỉnh cho thẳng đứng. Lắp đặt thiết bị tự động điều chỉnh mực nước (được mô tả trong 4.1.3.3) vào vị trí làm việc; đặt cố định giá đỡ (5) ở vị trí thích hợp; gá lắp ống cứng (3) lên giá đỡ (5) đảm bảo thẳng đứng và nằm trên trục qua tâm tiết diện vòng chắn, miệng ống hình nón chúc xuống dưới, ngang với mốc chiều cao 10 cm đã được đánh dấu ở thành vòng chắn; đặt phao nổi vào vòng chắn sao cho van hình nón (2) lồng vào miệng của ống cứng (3).
4.1.4.6 Đặt đầu ống mềm dẫn nước từ thùng dự trữ vào đáy hồ, rồi mở van ống dẫn cho nước chảy từ từ vào hố với tốc độ dâng mực nước không quá 0,5 cm/min cho đến khi đạt chiều cao 10 cm, thì điều chỉnh van để hạn chế dâng nước. Khẩn trương điều chỉnh nút hình nón ở đỉnh phao cho lồng vào miệng đầu dưới của ống cứng (3), rồi nối thông với ống dẫn nước (4) từ thùng đo định chuẩn; sau đó, chỉnh van 3 nhánh cho nước một thùng chảy vào hố, đồng thời khóa kín thùng kia lại. Cắt nguồn cấp nước từ thùng dự trữ, kéo đầu ống mềm dẫn nước lên khỏi hố. Điều chỉnh ống cứng (3) theo trục đứng và cố định nó ở vị trí sao cho khi mực nước trong hố dâng lên quá 10 cm thì phao nổi đẩy van hình nón lên, bịt kín miệng ống cứng (3) làm cho nước trong thùng ngừng chảy vào hố; ngược lại, khi mực nước hạ thấp dưới 10 cm, phao nổi bị hạ thấp kéo van hình nón xuống làm hở miệng ống (3), nước từ thùng đo lại chảy vào hố. Cứ thế, nước được cấp vào hố thí nghiệm đảm bảo không chế chiều cao cột nước luôn bằng 10 cm (xem hình B.2 Phụ lục B).
4.1.4.7 Quan trắc thấm
Thời gian bắt đầu quan trắc (ngày, giờ, phút, giây); đọc và ghi vào sổ thí nghiệm số đo mực nước trên thang đo của thùng cấp nước, chính xác đến 1 mm và đo nhiệt độ của nước. Sau đó thường xuyên theo dõi và đọc số đo mực nước của thùng cấp nước theo khoảng thời gian định kỳ 10 min/lần đo đến 30 min/lần đo, tùy theo lượng nước tiêu tốn do thấm nhiều hay ít. Trong quá trình quan trắc, cần tính lưu lượng nước cấp vào hố. Q (cm3/s) của từng khoảng thời gian đọc số đo trên thang đo của thùng cấp nước theo 4.1.5.1. Tiến hành thí nghiệm cho tới khi lưu lượng nước thấm đạt đến ổn định, như quy định trong 4.1.2, thì dừng.
CHÚ THÍCH:
Trong quá trình thí nghiệm, khi thùng cấp nước thứ nhất sắp hết nước, thì lập tức chỉnh van 3 nhánh để đóng thùng này và mở thùng kia, đảm bảo cấp nước liên tục.
4.1.4.8 Kết thúc thí nghiệm: thu dọn dụng cụ, thiết bị, rồi lấp hố theo quy định ở điều 3.4.
4.1.5 Chỉnh lý số liệu và tính toán kết quả
4.1.5.1 Chỉnh lý số đọc mực nước trên thang đo của thùng cấp nước ở các thời điểm quan trắc; tính lưu lượng thấm với từng khoảng thời gian trong quá trình thí nghiệm, theo công thức 1:
Q =
(1)
trong đó:
Q là lưu lượng thấm, cm3/s;
V là lưu lượng nước tiêu tốn do thấm (cm3), trong thời gian đo từ t1 đến t2, tính theo công thức: V = V1 - V2, với V1 là lượng nước của thùng cấp nước ở thời điểm đo t1 và V2 là lưu lượng trong thùng ở thời điểm đo t2, được xác định theo biểu đồ quan hệ giữa số đo trên thang đo mực nước và lượng nước của thùng (như nêu trong 4.1.3.2).
t là khoảng thời gian giữa hai lần đo: t = (t2 - t1), s (giây).
4.1.5.2 Lập biểu đồ quan hệ giữa lưu lượng Q và thời gian t để xác định trị số lưu lượng ổn định (Qc).
4.1.5.3 Tính hệ số thấm của đất, theo công thức 2:
Kth
=
(2)
trong đó:
Qc là lưu lượng thấm ổn định, cm3/s;
F là tiết diện thấm, bằng tiết diện vòng chắn, cm2; tính theo công thức 2:
F =
(2')
với: D là đường kính trong của vòng chắn, cm;
p là số Pi, lấy bằng 3,14.
CHÚ THÍCH:
Trong trường hợp nhận thấy có sự không tương ứng giữa hệ số thấm với đặc điểm thành phần, cấu trúc đất ở đáy hồ (theo quan sát), thì sau khi thí nghiệm, cần đào (hoặc khoan) sâu dưới hố đổ nước từ 1m đến 2m để quan sát, mô tả đất kỹ lưỡng để làm sáng tỏ lát cắt địa chất thực tế của vùng thấm để có kết luận chính xác về kết quả thí nghiệm.
4.1.6 Báo cáo kết quả thí nghiệm
Báo cáo thí nghiệm gồm các thông tin sau:
- Tên công trình, hạng mục công trình; Đơn vị thí nghiệm, người thí nghiệm.
- Vị trí và số hiệu hố thí nghiệm; Độ sâu hố đào.
- Tóm tắt đặc điểm của đất, kèm theo lát cắt địa chất hố đào.
- Phương pháp thí nghiệm.
- Thiết bị thí nghiệm sử dụng: vòng chắn, hệ thống cấp nước, hệ thống tự điều chỉnh mực nước;
- Chiều cao cột nước thí nghiệm không đổi.
- Thời gian tiến hành thí nghiệm: ngày, giờ……….. (bắt đầu); ngày, giờ………. (kết thúc).
- Hệ số thấm của đất, Kth (cm/s).
- Các thông tin khác có liên quan.
4.2 Phương pháp thí nghiệm của N.X. Netxterôp (phương pháp chỉ định)
4.2.1 Phạm vi áp dụng
Phương pháp này thích hợp áp dụng đối với các loại đất hạt nhỏ và đất hạt mịn chứa nhiều sạn sỏi, có mặt lớp xuất lộ hoặc nằm ở độ sâu không quá từ 1,5 m, không bão hòa nước, có tính thấm nước từ trung bình đến yếu.
4.2.2 Nguyên tắc
Thí nghiệm đổ nước trong hố đào, sử dụng hai vòng chắn đặt đồng tâm: vòng to (vòng ngoài) có đường kính trong 50 cm, vòng nhỏ (vòng trong) có đường kính trong 25 cm; khống chế cột nước áp lực không đổi ở vòng trong và vòng ngoài đều bằng 10 cm; đo lượng nước tiêu tốn do thấm qua đáy vòng nhỏ cho đến khi đạt lưu lượng ổn định thì dừng. Áp dụng định luật Darcy và có xét tới lực mao dẫn để tính hệ số thấm của đất.
4.2.3 Thiết bị, dụng cụ thí nghiệm
4.2.3.1 Hai vòng chắn hình trụ, bằng thép, có chiều cao đều bằng 20 cm đến 25 cm, vòng to đường kính trong 50 cm và vòng nhỏ đường kính trong 25 cm. Hai vòng đều được vát mép ngoài ở đầu dưới để dễ ấn vòng ngập vào đất; vòng nhỏ lồng trong vòng to, đồng tâm chính xác và liên kết chặt với vòng to bởi các thanh giằng cứng.
4.2.3.2 Hai bình mariot chuyên dụng đựng đầy nước. Mỗi bình có dung tích 10 L, đã được định chuẩn và có thang chia độ đo lượng nước với độ chính xác đến 0,1 L. Miệng bình được nút bằng nút có cắm một ống gắn ở giữa. Khi sử dụng thí nghiệm, các bình được đặt thẳng đứng trên giá cứng, tư thế miệng bình chúc xuống dưới, một bình cấp nước vào vòng nhỏ còn bình kia cấp nước vào khoang trống giữa vòng nhỏ và vòng to (xem sơ đồ ở Hình C.1 Phụ lục C);
4.2.3.3 Thiết bị khoan lấy mẫu để xác định độ ẩm của đất; Thiết bị và dụng cụ xác định độ ẩm của đất tại hiện trường.
4.2.3.4 Các dụng cụ khác như được nêu tại 3.1.3.5.
4.2.4 Các bước tiến hành
4.2.4.1 San bằng mặt đất vị trí thí nghiệm. Đào hố có kích thước khoảng 1,0 m x 1,5 m, sâu đến bề mặt lớp đất cần xác định hệ số thấm, gạt bằng bề mặt đáy hồ. Sau đó, đào hố tròn ở giữa có đường kính lớn hơn 50 cm một ít, sâu khoảng 15 cm đến 20 cm, rồi dùng thước thẳng gạt bằng đáy hố cho phẳng, hót bỏ vật liệu vụn ra ngoài; tuyệt đối không được dẫm chân lên đáy hồ và không làm lấp bịt các lỗ hổng sẵn có của đất.
4.2.4.2 Đặt vòng nhỏ và vòng to xuống hố sao cho đồng tâm, cho đầu vát mép xuống dưới, rồi bằng phương pháp thích hợp ấn thẳng đứng các vòng chắn ngập sâu đều vào đất từ 5 cm đến 6 cm. Sau đó, dùng đất sét dẻo nhét kín các khe hở ở xung quanh chân thành ngoài của vòng to và vòng nhỏ với đất ở đáy hố đổ nước.
4.2.4.3 Lắp đặt thẳng đứng một thước đo sát với thành trong của vòng nhỏ và một thước đo sát với thành trong của vòng to, sao cho số không (0) ngang với bề mặt đáy hố, rồi đánh dấu mốc chiều cao 10 cm lên thành các vòng chắn. Sau đó, rải đều lên đáy hồ một lớp sỏi cỡ hạt từ 2 mm đến 10 mm, dày từ 2 cm đến 3 cm để chống xói đáy hồ trong quá trình thí nghiệm đổ nước.
4.2.4.4 Lập lát cắt địa chất hố thí nghiệm đổ nước.
4.2.4.5 Bịt kín miệng ống ở đầu nút các bình mariot, rồi đặt chúng lên giá đỡ sao cho thẳng đứng, đầu chúc xuống. Sau đó, đặt giá đỡ các bình mariot vào vị trí làm việc, một bình dùng cấp nước vào vòng trong và một bình dùng cấp nước vào khoảng trống giữa vòng trong và vòng ngoài; điều chỉnh cho miệng ống đầu nút của các bình ngang với vạch đánh dấu chiều cao 10 cm ở thành các vòng chắn.
4.2.4.6 Dùng nước từ thùng dự trữ cấp đồng thời vào vòng trong và vào khoang trống giữa vòng trong và vòng ngoài, với tốc độ dâng mực nước không vượt quá 0,5 cm/min, cho đến khi đạt chiều cao mực nước ở trong đó khoảng từ 11 cm đến 12 cm thì thôi (cắt nguồn này). Lập tức gỡ bỏ cái bịt miệng ống ở đầu nút các bình mariot để nước trong các bình này cấp nước cho thí nghiệm; Kiểm tra xem các bình mariot có đảm bảo tự điều chỉnh mực nước trong các vòng chắn đúng bằng vạch chuẩn chiều cao 10 cm hay không, nếu chưa đạt yêu cầu thì phải chỉnh sửa giá đỡ các bình mariot, nếu đảm bảo yêu cầu thì tiến hành bước tiếp theo.
4.2.4.7 Quan trắc thấm
Thời điểm bắt đầu quan trắc (ngày, giờ, phút, giây), đọc và ghi vào sổ thí nghiệm số đo lượng nước của bình mariot cấp nước vào vòng trong và của bình mariot cấp nước vào vòng ngoài, đồng thời đo và ghi nhiệt độ của nước. Sau đó, thường xuyên theo dõi và đọc số đo lượng nước của các bình này theo khoảng thời gian định kì 10 min/lần đến 30 min/lần, tùy theo lượng nước bị tiêu tốn do thấm nhiều hay ít. Trong quá trình thí nghiệm, cần tính lưu lượng Q (cm3/s) của từng khoảng thời gian giữa hai lần đọc số đo lượng nước của bình cấp nước vào vòng nhỏ theo công thức 1 nêu tại 4.1.5.1; tiến hành thí nghiệm cho đến khi lưu lượng nước tiêu tốn do thấm đạt đến ổn định, Qc (cm3/s), thì dừng.
CHÚ THÍCH:
Trong quá trình thí nghiệm, phải đảm bảo cung cấp nước liên tục và đồng thời vào vòng trong và vòng ngoài, duy trì cột nước không đổi bằng 10 cm; khi nước trong bình đã gần hết, phải lập tức thay bình khác tương tự chứa đầy nước.
4.2.4.8 Kết thúc thí nghiệm: khẩn trương thu dọn thiết bị cấp nước, múc hết nước trong hố ra; đưa các vòng chắn ra ngoài, rồi khoan hoặc đào một lỗ ở tâm hố thí nghiệm sâu đến 3 m hoặc 4 m, và đào hoặc khoan một hố khác cách hố này khoảng 3 đến 4 m cho đến độ sâu tương ứng. Tại các lỗ khoan (hoặc đào) này, theo độ sâu, với khoảng cách trung bình từ 20 cm đến 25 cm lấy một mẫu đất để thí nghiệm độ ẩm làm cơ sở để xác định độ sâu thấm nước, H (cm), khi thí nghiệm kết thúc.
4.2.4.9 Lắp các hố khoan, hố đào thí nghiệm đảm bảo theo quy định tại 3.4.
4.2.5 Chỉnh lý số liệu và tính toán kết quả
4.2.5.1 Lập lát cắt địa chất hố đổ nước, gồm cả phần khoan lỗ kiểm tra và lát cắt địa chất của lỗ khoan kiểm tra nằm ngoài hố đổ nước.
4.2.5.2 Chỉnh lý số liệu quan trắc, tính lượng nước tiêu tốn V (cm3) của từng khoảng thời gian giữa hai lần đọc số đo trên bình cấp nước vào vòng nhỏ và lưu lượng Q thấm tương ứng qua đáy vòng nhỏ; lập biểu đồ quan hệ giữa lưu lượng (Q) và thời gian (t), xác định chính xác trị số lưu lượng thấm ổn định (Qc) theo 4.2.4.7; lập biểu đồ quan hệ giữa tổng lượng nước tiêu tốn do thấm (V) và thời gian (t);
4.2.5.3 Tính độ ẩm của đất từ các mẫu thí nghiệm được lấy ở các độ sâu khác nhau trong lỗ khoan (hoặc đào) kiểm tra. Lập biểu đồ quan hệ giữa độ ẩm của đất và độ sâu, xác định chiều sâu nước thấm xuống đất (H) sau khi thí nghiệm (chiều sâu tính từ đáy hồ đổ nước đến vị trí mà tại đó độ ẩm của đất giảm đột biến rõ ràng hoặc bằng độ ẩm của đất ở hố quan sát).
4.2.5.4 Tính hệ số thấm của đất theo công thức 3:
Kth
=
(3)
trong đó:
Kth là hệ số thấm của đất, cm/s;
Qc là lưu lượng thấm ổn định, cm3/s;
F là diện tích tiết diện thấm, F =
, cm2;
với: D là đường kính trong của vòng chắn nhỏ, cm.
H0 là chiều cao cột nước thí nghiệm ở trong vòng chắn, luôn không đổi, bằng 10 cm;
H là chiều sâu nước thấm vào đất sau khi kết thúc thí nghiệm, được xác định theo 4.2.5.3, cm;
Hk là áp lực mao dẫn, tùy thuộc vào loại đất được xác định hệ số thấm, được lấy gần đúng theo bảng A.4 Phụ lục A, tính bằng cm cột nước.
4.2.6 Báo cáo kết quả thí nghiệm
Báo cáo kết quả thí nghiệm gồm các thông tin như đã nêu trong 4.1.6.
5. Thí nghiệm đổ nước trong hố khoan
5.1 Phạm vi áp dụng
Theo điều 1 của tiêu chuẩn này, với đất có mặt lớp nằm sâu hơn 1,5 m.
5.2 Yêu cầu kỹ thuật
5.2.1 Thí nghiệm đổ nước trong hố khoan được tiến hành trong quá trình khoan các hố khoan thăm dò, theo quy định tại 3.1 và 3.3 Điều 3.
5.2.2 Hố khoan để thí nghiệm đổ nước phải có đường kính (D) phù hợp với thành phần hạt của đất được nghiên cứu, được áp dụng sau:
- đối với đất hạt mịn và đất cát không chứa hoặc có chứa sạn sỏi hạt nhỏ (hạt cỡ từ 2 mm đến 5 mm); D không nhỏ hơn 100 mm.
- đối với đất có chứa sạn sỏi hạt trung (hạt cỡ từ 5 mm đến 20 mm); D không nhỏ hơn 150 mm.
- đối với đất có chứa sạn sỏi hạt to (hạt cỡ từ 20 mm đến 60 mm); D không nhỏ hơn 250 mm.
5.2.3 Khi khoan hố khoan để thí nghiệm đổ nước, cần áp dụng phương pháp khoan phù hợp với loại đất; khoan sâu từng hiệp không quá 1 m và xem xét, mô tả đầy đủ các đặc điểm về thành phần, trạng thái, kết cấu của đất, lấy mẫu đại diện của các lớp đất đảm bảo chất lượng yêu cầu cho việc thí nghiệm các đặc trưng cơ lý của đất trong phòng thí nghiệm.
Khi khoan trong đất kém ổn định, khoan sâu đến đâu phải hạ ống chống vách đến đó; tuyệt đối không được dùng dung dịch sét để gia cố thành vách hố.
5.2.4 Cần phải vét sạch mùn khoan ở đáy hồ khoan, rồi đo chính xác chiều sâu hố khoan và quyết định chiều dài đoạn thí nghiệm đổ nước.
5.2.5 Đoạn thí nghiệm đổ nước phải nằm trong phạm vi lớp đất được xác định hệ số thấm, và với chiều dài không nên vượt quá 5 m. Phải đặt ống lọc trong đoạn thí nghiệm đổ nước; ống lọc phải có đường kính phù hợp với đường kính hố khoan và có khả năng thấm nước lớn hơn so với tính thấm của đất được nghiên cứu. Trước khi đặt ống lọc, nên cho vào đáy hồ một lớp sỏi sạn cỡ hạt từ 2 mm đến 10 mm, dày từ 2 cm đến 3 cm để chống xói cho đáy hố và phải đặt ống chống vách cho phần hố khoan ở bên trên đoạn thí nghiệm. Khi thí nghiệm đổ nước, cần khống chế mực nước cao nhất không được vượt quá chiều cao ống lọc.
5.2.6 Trước khi thí nghiệm, phải rửa đoạn hố khoan thí nghiệm bằng cách đặt ống dẫn nước vào trong ống lọc cho tới gần sát đáy (miệng ống có lưới tản nước), rồi đổ nước vào cho đến đỉnh ống lọc; sau đó, dùng bơm hút nước ra, tiến hành như vậy từ 3 lần đến 4 lần.
5.2.7 Thí nghiệm đổ nước trong hố khoan, được tiến hành theo hai phương pháp: phương pháp cột nước không đổi và phương pháp cột nước thay đổi, tùy thuộc vào điều kiện áp dụng cụ thể.
5.3 Thí nghiệm đổ nước trong hố khoan theo phương pháp cột nước không đổi - phương pháp của V.M.Naxberg (phương pháp chỉ định)
5.3.1 Điều kiện áp dụng
Đổ nước thí nghiệm được tiến hành trong 1 đoạn của hố khoan có đáy nằm cao hơn mực nước ngầm hoặc nằm cao hơn mái của tầng cách nước (hoặc tầng được xem như không thấm nước) với các điều kiện sau: (xem sơ đồ thí nghiệm tại Hình C.2 Phụ lục C)
a/ Đáy hồ đoạn đổ nước nằm cao hơn mực nước ngầm hoặc cao hơn mái của tầng cách nước một khoảng (T) lớn hơn hoặc bằng chiều cao cột nước (H) trong đoạn đổ nước (nghĩa là T > H);
b/ Chiều cao cột nước thí nghiệm (H) nằm trong phạm vi chiều dài đoạn đổ nước (L) (nghĩa là H <>
c/ Tỷ số giữa cột nước (H) và bán
kính hố khoan đoạn đổ nước (r) nằm trong khoảng 50 ≤
≤ 200.
CHÚ THÍCH:
1) Từ điều kiện c, có thể lưu ý rằng đường kính hố khoan D (mm) để thí nghiệm đổ nước cần phù hợp với chiều cao cột nước thí nghiệm H (m) và được chọn như sau:
+ Chiều cao cột nước thí nghiệm H ≤ 5 m, hố khoan cần có đường kính: 50 mm < d="">< 200="">
+ Chiều cao cột nước thí nghiệm 5 m ≤ H ≤ 10 m, hố khoan cần có đường kính: 100 mm < d="">< 400="">
2) Khi tiến hành đổ nước thí nghiệm tại đoạn có độ sâu lớn, cần sử dụng thiết bị chuyên dụng thích hợp để khống chế chiều cao cột nước đổ (H) trong hố khoan luôn không đổi.
5.3.2 Nguyên tắc
Đổ nước vào đoạn thí nghiệm trong hố khoan, với lưu lượng phù hợp để khống chế chiều cao cột nước (H) trong đoạn đó luôn không đổi trong suốt thời gian thí nghiệm; tiến hành đổ nước cho đến khi nhận được lưu lượng thấm ổn định Qc. Từ giá trị Qc tính toán hệ số thấm Kth của đất dựa trên cơ sở lý thuyết chuyển động thấm ổn định của nước tuân theo định luật Darcy.
5.3.3 Thiết bị, dụng cụ thí nghiệm
5.3.3.1 Thiết bị khoan đất đảm bảo yêu cầu kỹ thuật nêu tại 5.2.3 và ống lấy mẫu đất, ống chống vách phù hợp với đường kính hố khoan;
5.3.3.2 Ống lọc có đường kính phù hợp với đường kính lỗ khoan và chiều dài bằng chiều cao đoạn đổ nước, đồng thời phải có khả năng thấm nước tốt hơn so với khả năng thấm nước của đất thí nghiệm, nhưng có thể ngăn chặn các hạt mịn chui qua theo nước.
5.3.3.3 Thiết bị cấp nước, cần có ít nhất hai thùng đo định chuẩn như nhau, có đường kính trong 56,5 mm (tương ứng có tiết diện ngang là 0,25 m2), chiều cao 800 mm; hoặc hai thùng loại to, có đường kính trong là 1129 mm (tương ứng có tiết diện ngang là 1,0 m2), chiều cao 1,0 m. Các thùng định chuẩn được liên kết chặt với nhau bằng các đai thép cứng. Thùng đo định chuẩn được chế tạo bằng thép, có dạng trụ tròn thẳng đứng, không có lồi lõm; tại vị trí gần đáy thùng có 2 ống thông ra ngoài; trong đó, một ống được nối với ống đo bằng thủy tinh được gắn trên bảng thang đo chia vạch từng mm, đặt thẳng đứng và cố định với thành thùng đo, để đo lượng nước trong thùng tương ứng với từng vạch đo; ống thứ hai của thùng được kết nối với một nhánh của van ba nhánh; một nhánh của van này được kết nối với ống ra của thùng cấp nước thứ hai để luân phiên cấp nước, nhánh thứ ba của van ba nhánh kết nối với ỗng dẫn nước ra để cấp nước vào đoạn thí nghiệm, ống này liên kết với dụng cụ chuyên môn tự động điều chỉnh mực nước không đổi trong hố khoan trong quá trình đổ nước (xem sơ đồ nguyên lý kiểu phao nổi, được sơ họa ở Hình B.2 Phụ lục B).
CHÚ THÍCH: Trước khi sử dụng thiết bị cấp nước, phải hiệu chuẩn lượng nước ứng với từng vạch trên thang đo của từng thùng đo định chuẩn và lập biểu đồ quan hệ giữa số đo ở thang đo và lượng nước của thùng, để tiện sử dụng trong thí nghiệm.
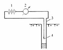
5.3.3.4 Dụng cụ đo mực nước trong hố khoan, đơn giản và sẵn có là dụng cụ đo mực nước bằng điện (xem sơ họa ở Hình B.2 Phụ lục B).
5.3.3.5 Nước dùng để thí nghiệm, đảm bảo yêu cầu quy định tại 3.2.
5.3.3.6 Đồng hồ bấm giây, đồng hồ chỉ giờ, máy bơm nước công suất nhỏ (từ 1 m3/h đến 2 m3/h); nhiệt kế và các dụng cụ thông thường khác.
5.3.4 Các bước tiến hành
5.3.4.1 Thu thập và tham khảo tài liệu lát cắt địa chất các hố khoan đã có ở lân cận vị trí thí nghiệm, để thiết kế hố khoan và đoạn đổ nước thí nghiệm trong lớp đất cần nghiên cứu sao cho phù hợp với quy định trong 5.2.2 và 5.3.1.
5.3.4.2 Xác định cao độ và tọa độ miệng hố khoan thí nghiệm đổ nước.
5.3.4.3 Khoan hố đến độ sâu thiết kế, việc khoan phải đảm bảo yêu cầu kỹ thuật theo 5.2.3.
5.3.4.4 Vét sạch mùn khoan ở đáy hồ, đo chính xác chiều sâu hố khoan, rồi ấn định chiều dài đoạn đổ nước L (kể từ đáy hố); nên lấy L bằng hoặc nhỏ hơn 5 m.
5.3.4.5 Đổ vào đáy hố một lớp dày khoảng 3 cm sỏi sạn hạt cỡ 2 mm đến 10 mm. Sau đó, đặt ống lọc vào đoạn thí nghiệm đổ nước và đặt ống chống vách cho phần hố khoan ở bên trên. Nếu trong quá trình khoan đã hạ ống chống vách đến đáy hố, thì sau khi đặt ống lọc, rút ống chống lên cho đến khi chân ống gần ngang với đỉnh ống lọc, tháo bỏ phần ống chống cao quá miệng hố.
5.3.4.6 Tiến hành rửa hố khoan theo 5.2.6.
5.3.4.7 Lắp đặt dụng cụ đo mực nước bằng điện vào hố khoan, đảm bảo giây đo duỗi thẳng và đỉnh đầu đo ngang với chiều cao cột nước thí nghiệm không đổi (H) đã được ấn định trong đoạn đổ nước;
5.3.4.8 Lắp đặt thiết bị cấp nước thí nghiệm có gắn bộ phận tự động điều chỉnh mực nước (được mô tả tại 5.3.2.3): khóa van ống dẫn, rồi đặt thẳng đứng các thùng đo định chuẩn chứa đầy nước lên giá đỡ đã được để ở vị trí thuận tiện cấp nước vào hố khoan; lắp đặt dụng cụ tự động điều chỉnh mực nước trong hố khoan và kết nối với miệng ống dẫn nước ra từ thùng đo định chuẩn.
5.3.4.9 Dùng nước từ thùng dự trữ đổ vào hố khoan: đặt ống dẫn cho gần tới đáy hố khoan, khống chế lưu lượng nước đổ vào sao cho tốc độ dâng nước vừa phải (không quá 1,5 cm/min) để làm bão hòa đất vùng thấm và để cho khí trong đất được thoát ra tự do. Theo chỉ báo của thiết bị đo mực nước khi mực nước trong hố khoan đã dâng đến chiều cao cột nước H thì cắt nguồn cấp nước này, kéo ống dẫn nước lên khỏi hố. Chỉnh van 3 nhánh để dùng nước của một thùng (khóa kín thùng kia); điều chỉnh van ở ống cấp nước sao cho có cột nước thí nghiệm (H) luôn không đổi.
5.3.4.10 Quan trắc thấm
Thời gian bắt đầu quan trắc (ngày, giờ, phút, giây), đọc và ghi số đo mực nước trên thang đo của thùng cấp nước. Sau đó, thường xuyên theo dõi, đảm bảo cấp nước liên tục vào hố khoan và cột nước áp lực (H) luôn khống chế không đổi. Theo định kỳ 10 min/lần đo đến 20 min/lần đo, tùy theo nước tiêu tốn do thấm nhanh hay chậm (nhiều hay ít), đọc và ghi lại số đo mực nước trên thang đo của thùng cấp nước. Trong quá trình thí nghiệm, cần tính toán lưu lượng thấm Q (m3/ng.đ) của từng khoảng thời gian giữa hai lần đo liên tiếp t1 đến t2 theo công thức 4:
Q =
(4)
trong đó:
V1 và V2 là lượng nước của thùng cấp nước ở các thời điểm đo tương ứng t1 và t2, được xác định trên biểu đồ quan hệ giữa số đo trên thang đo và lượng nước của thùng cấp nước, (m3);
t1 - t2 là khoảng thời gian giữa hai lần đọc số đo liên tiếp trên thang đo mực nước của thùng cấp nước, (ngày đêm);
Tiến hành thí nghiệm cho đến khi lưu lượng thấm đạt đến ổn định thì dừng.
CHÚ THÍCH: Trong quá trình thí nghiệm, nếu nước trong thùng đang dùng gần cạn, thì vặn van 3 nhánh đổi chiều để khóa thùng này và cho nước của thùng thứ hai thông với ống dẫn để đảm bảo cấp nước liên tục vào hố khoan; có thể đổ đầy nước vào thùng thứ nhất để dự phòng cho thí nghiệm liên tục.
5.3.4.11 Kết thúc thí nghiệm, thu dọn thiết bị dụng cụ và rút ống lọc, ống chống lên khỏi hố, rồi lấp hố khoan theo quy định tại 3.3.
5.3.5 Chỉnh lý số liệu và tính kết quả
5.3.5.1 Lập lát cắt địa chất hố khoan thí nghiệm đổi nước theo tài liệu khoan.
5.3.5.2 Kiểm tra trị số lưu lượng thấm đã xác định được trong quá trình thí nghiệm; lập biểu đồ quan hệ giữa lưu lượng thấm (Q) và thời gian (t), xác định trị số lưu lượng thấm ổn định (Qc).
5.3.5.3 Tính hệ số thấm của đất theo công thức 5:
Kth
=
(5)
trong đó:
Kth là hệ số thấm của đất, m/ng.đ (mét/ngày đêm);
Qc là lưu lượng thấm ổn định, m3/ng.đ;
H là chiều cao cột nước thí nghiệm không đổi, m;
r là bán kính hố khoan thí nghiệm, m;
5.3.5 Báo cáo kết quả thí nghiệm
Báo cáo kết quả thí nghiệm gồm các thông tin sau:
- Tên công trình, hạng mục công trình:...................................................
- Đơn vị thí nghiệm và người phụ trách:.................................................
- Thời gian thí nghiệm: bắt đầu, ngày………giờ………; kết thúc, ngày……giờ…….;
- Vị trí và số hiệu khoan thí nghiệm đổ nước; cao, tọa độ miệng hố; chiều sâu hố khoan; đường kính hố khoan;
- Kỹ thuật khoan;
- Chiều dài đoạn thí nghiệm đổ nước, L (m);
- Ống chống vách sử dụng (đường kính, chiều dài), m;
- Ống lọc sử dụng (đường kính, chiều dài, (m), khả năng thấm nước);
- Thiết bị dùng cấp nước thí nghiệm và dụng cụ chuyên môn khống chế cột nước H không đổi;
- Dụng cụ đo mực nước sử dụng;
- Hệ số thấm của đất, Kth (m/ng.đ);
- Các thông tin khác có liên quan;
- Kèm theo báo cáo có lát cắt địa chất hố khoan và sơ đồ thí nghiệm đổ nước.
5.4 Thí nghiệm đổ nước trong hố khoan theo phương pháp cột nước thay đổi - phương pháp của G.l.Barenblat và B.l.Sextacop (phương pháp chỉ định).
5.4.1 Nguyên tắc
Tiến hành đổ nước thí nghiệm trong đoạn hố khoan có đáy nằm trực tiếp trên tầng cách nước nằm ngang; cho tầng đất thuộc đới không khí, không bão hòa và tương đối đồng chất về phương diện thấm. Trong quá trình đổ nước vào đoạn thí nghiệm, lưu lượng nước đổ vào hố khoan được khống chế không đổi và với trị số phù hợp sao cho mực nước trong hố khoan dâng cao với tốc độ trong khoảng 0,6 cm/min đến 0,8 cm/min. Tiến hành đo chiều cao mực nước trong đoạn thí nghiệm ứng với các thời gian khác nhau cho đến khi mực nước dâng cao đến khoảng 4/5 chiều cao đoạn thí nghiệm thì dừng. Tính toán hệ số thấm của đất theo tài liệu đổ nước thí nghiệm với lưu lượng không đổi, dựa trên cơ sở lý thuyết vận động của dòng thấm không ổn định theo định luật Darcy (xem Hình C.3 Phụ lục C).
5.4.2 Thiết bị, dụng cụ
Thiết bị khoan (bộ khoan tay hoặc máy khoan), ống lấy mẫu đất, ống chống, ống lọc, thiết bị cấp nước là thùng đo định chuẩn và các dụng cụ khác như đã được nêu trong 5.3.2 (từ 5.3.3.1 đến 5.3.3.6).
5.4.3 Các bước tiến hành
5.4.3.1 San bằng bề mặt vị trí khoan hố thí nghiệm, xác định cao độ và tọa độ miệng hố.
5.4.3.2 Khoan hố để thí nghiệm đổ nước sâu đến tầng cách nước nằm ngang, đảm bảo kỹ thuật khoan theo yêu cầu ở điều 5.2.3. Vét sạch mùn khoan ở đáy hố, rồi đo chính xác chiều sâu hố khoan. Nên khoan một hố khoan quan sát nằm cách hố khoan đổ nước một quãng không quá một nửa chiều cao dự kiến lớn nhất của cột nước thí nghiệm trong hố đổ nước, và cũng khoan đến tầng cách nước. Đo chính xác chiều sâu hố khoan đổ nước và hố khoan quan sát.
5.4.3.3 Dựa vào đặc điểm thành phần và cấu trúc đất, dự đoán tính thấm của đất mà quyết định chiều dài đoạn thí nghiệm đổ nước (h) phù hợp với quy định ở điều 5.2.5.
5.4.3.4 Dùng ống lọc phù hợp (theo điều 5.3.3.2) đặt vào đoạn thí nghiệm đổ nước (H) và đặt ống chống vách vào đoạn hố khoan ở phần bên trên và cũng như vậy, đặt ống lọc và ống chống vào hố khoan quan sát.
5.4.3.5 Tiến hành rửa đoạn hố khoan đổ nước thí nghiệm, theo quy định được nêu trong 5.2.6, sau đó, tiến hành theo 5.4.3.6;
5.4.3.6 Lắp đặt dụng cụ đo mức nước bằng điện (được nêu tại 5.3.3.4) vào hố khoan, cho một đầu giây tiếp xúc với ống lọc, còn đầu đo chỉ thả vào hố khoan khi cần đo mực nước.
5.4.3.7 Lắp đặt thiết bị cấp nước (các thùng đo định chuẩn nêu tại 5.3.3.3) vào vị trí thuận tiện cấp nước vào đoạn thí nghiệm: khóa van ống dẫn, rồi đặt thẳng đứng các thùng đo định chuẩn lên bề mặt nằm ngang ở vị trí thuận tiện cấp nước vào hố khoan. Đặt đầu ống dẫn tới gần đến đáy ống lọc (đầu ống dẫn nên có lưới tản nước).
5.4.3.8 Chỉnh van 3 nhánh cho nước của một thùng thông với ống dẫn để sử dụng, đồng thời là khóa kín thùng kia. Sau đó, mở van ống dẫn ở mức cho nước từ thùng được sử dụng chảy vào hố khoan với tốc độ hạ thấp số đo trên thang đo là không đổi, để có lưu lượng không đổi Qc (m3/ng.đ), sao cho với lưu lượng đó thì tốc độ dâng nước trong hố khoan vào khoảng từ 0,5 cm/min đến 0,6 cm/min, để đuổi không khí trong đất của vùng thấm thoát ra ngoài trong quá trình nước thấm vào đất.
GHI CHÚ: Xác định trị số Qc thích hợp, bằng cách dò dần trong thời gian đầu của thí nghiệm
5.4.3.9 Quan trắc thấm: thường xuyên theo dõi tốc độ hạ thấp mực nước trên thang đo của thùng cấp nước, điều chỉnh van ở ống dẫn nước đảm bảo duy trì lưu lượng nước không đổi phù hợp với tốc độ dâng cao mực nước trong hố khoan không quá 0,6 cm/min. Theo định kỳ 10min/lần đến 20 min/lần đo, đọc số đo trên thang đo của thùng cấp nước và đồng thời đo chiều cao mực nước trong hố khoan đổ nước và hố khoan quan sát, ghi thời điểm đo và các số liệu đo được vào sổ thí nghiệm. Tiếp tục quan trắc cho đến khi chiều cao mực nước trong hố đổ nước dâng lên đến khoảng 4/5 chiều cao ống lọc thì kết thúc thí nghiệm. Trong quá trình quan trắc, cần tính toán lưu lượng nước của từng khoảng thời gian giữa hai lần đo liên tiếp.
CHÚ THÍCH: Trong quá trình thí nghiệm, nếu thùng cấp nước đang dùng đã gần hết, thì lập tức đảo chiều van 3 nhánh để khóa thùng này đồng thời cho nước của thùng thứ hai thông với ống dẫn để cấp nước thí nghiệm liên tục; và có thể đổ nước vào thùng thứ nhất để dự phòng cho thí nghiệm tiếp tục.
5.4.3.10 Kết thúc thí nghiệm
Thu dọn thiết bị cấp nước, thiết bị đo mực nước, rồi rút ống lọc và ống chống ở các hố khoan; sau đó, tiến hành lấp các hố khoan theo quy định tại Điều 3.4.
5.4.4 Chỉnh lý số liệu và tính toán kết quả
5.4.4.1 Lập lát cắt địa chất hố khoan theo tài liệu hố khoan.
5.4.4.2 Tính kiểm tra lưu lượng nước đổ vào hố trong quá trình thí nghiệm, Qc (m3/ng.đêm), phải thỏa mãn lưu lượng về cơ bản là không đổi (không dao động đáng kể).
5.4.4.3 Tính hệ số thấm của đất theo các số đo ở hố đổ nước, theo công thức 6:
Kth
=
(6)
trong đó:
Kth là hệ số thấm của đất, m/ng.đêm;
Qc là lưu lượng nước (không đổi), m3;
H1 và H2 là chiều cao mực nước trong hố khoan tương ứng với thời điểm đo là t1 là t2 (nên lấy H1 vào khoảng 1/3 chiều cao ống lọc kể từ đáy và khi đó mực nước trong hố khoan quan sát đã dâng lên rõ rệt, còn H2 vào khoảng 4/5 chiều cao ống lọc). H1 và H2 biểu thị bằng mét, (m);
t1 và t2 là thời điểm đo chiều cao mực nước H1 và H2, tính theo ngày đêm hoặc theo giờ trong ngày, tỷ số t2/t1, biểu thị bằng số thập phân; nếu thời điểm đo t2 kéo dài sang ngày hôm sau, thì trị số t2 phải tính bằng số giờ kể từ thời điểm t1 đến thời điểm t2 của ngày hôm sau.
CHÚ THÍCH
Có thể tính hệ số thấm của đất chính xác hơn dựa trên lý thuyết chuyển động ổn định của nước, theo tài liệu đo ở hố khoan quan trắc; khi đó hệ số thấm của đất được tính theo công thức 6':
Kth
(6')
trong đó:
ht là chiều cao cột nước (m), trong hố khoan quan trắc ở thời điểm t;
x =
;
a =
; với
a1 =
; a2 = ![]()
; a3 =
x a2
h1 và h2 là
chiều cao cột nước (m), trong hố khoan quan trắc vào các thời điểm t1
và t2 tương ứng; Khi x > 0,1 thì f(x) = 2,23 - 1,39
- 0,12x;
Hệ số thấm của đất được lấy bằng trị trung bình của hệ số thấm tính được theo các thông số đo đạc ứng với các thời điểm t1 và t2 sẽ là:
Kth
=
(6'')
trong đó:
Kth(t1)
=
với
;
Kth(t1)
=
với
;
5.4.5 Báo cáo kết quả thí nghiệm
Báo cáo kết quả thí nghiệm gồm các thông tin sau:
- Tên công trình, hạng mục công trình:
- Đơn vị thí nghiệm và người phụ trách:
- Thời gian thí nghiệm: bắt đầu, ngày………giờ………; kết thúc, ngày……giờ…….;
- Vị trí và số hiệu hố khoan; cao, tọa độ miệng hố; chiều sâu hố khoan; đường kính hố khoan;
- Kỹ thuật khoan;
- Chiều dài đoạn thí nghiệm và ống lọc sử dụng; ống chống vách phần trên.
- Thiết bị cấp nước sử dụng.
- Dụng cụ đo mực nước trong hố khoan.
- Trị số lưu lượng nước không đổi, Qc (m3/ng.đ).
- Hệ số thấm của đất, Kth (m/ng.đ).
- Các thông tin khác có liên quan.
- Kèm theo báo cáo có lát cắt địa chất hố khoan và sơ đồ thí nghiệm đổ nước, bảng ghi chép thí nghiệm.
Phụ lục A
(Quy định)
Bảng A.1 - Bảng ghi chép thí nghiệm đổ nước trong hố đào
a. Phần chung
- Tên công trình:....................... Hạng mục công trình:...........................
- Giai đoạn khảo sát:............................................................................
- Hố thí nghiệm đổ nước số:..... Vị trí:..................................................
- Cao độ miệng hố:.................. m. Độ sâu hố đào:…….m. Cao độ đáy hố (rốn) đổ nước:….m.
- Đặc điểm đất đá thí nghiệm (thành phần, kết cấu, trạng thái, v,v..)........
- Phương pháp thí nghiệm đổ nước:.....................................................
- Bắt đầu đổ nước lúc;............. Kết thúc đổ nước lúc:...........................
- Đơn vị (cơ quan) thực hiện:.... Người phụ trách thí nghiệm:.................
b. Các số liệu kỹ thuật ban đầu:
- Kiểu thiết bị đổ nước (cấp nước)........................................................
- Kích thước các vòng chắn hình trụ, bằng thép:....................................
Vòng to: đường kính trong:...... cm, chiều cao:……..cm, tiết diện…….(cm2).
Vòng nhỏ: đường kính trong:……..cm, chiều cao:……..cm, tiết diện:……(cm2).
- Độ sâu đóng vào đất của các vòng:…………..(cm).
- Chiều cao cột nước thí nghiệm không đổi…………….(cm).
c. Quan trắc trong quá trình đổ nước
|
Ngày tháng năm |
Thời gian lúc bắt đầu thí nghiệm |
Thời điểm đo |
Lượng nước tiêu hao |
Lưu lượng nước trong thời gian hai lần đo liên tiếp, Q (cm3/s) |
Lượng nước tiêu hao từ lúc bắt đầu thí nghiệm V (cm3) |
||||
|
Giờ (h) |
Phút (min) |
Giờ (h) |
Phút (min) |
Số đọc trên thang đo của thùng cấp nước (vạch,mm) |
Lượng nước trong thùng (cm3) |
Hiệu số lượng nước của hai lần đo liên tiếp (cm3) |
|||
|
|
|
|
|
|
|
|
|
|
|
|
|
|
|
|
|
|
|
|
|
|
|
|
|
|
|
|
|
|
|
|
|
d. Các hình vẽ và đồ thị phụ trợ
- Lát cắt địa chất hố thí nghiệm đổ nước (kể cả đoạn khoan sâu thêm sau khi đổ nước).
- Biểu đồ quan hệ giữa lượng nước và số đo trên thang đo ở ống đo của thùng đo định chuẩn, V=f(h).
- Các biểu đồ biến đổi lưu lượng (Q) và thể tích nước tiêu hao do thấm (V) theo thời gian (t): Q= f(t) và V = f(t).
- Biểu đồ biến đổi độ ẩm của đất dưới đáy hố theo chiều sâu sau khi đổ nước.
Bảng A.2 - Bảng ghi chép thí nghiệm đổ nước trong hố khoan theo phương pháp của V.M.Naxberg
- Tên công trình:....................... Hạng mục công trình:...........................
- Giai đoạn khảo sát:............................................................................
- Hố thí nghiệm đổ nước số:..... Vị trí:..................................................
- Cao độ miệng hố:.................. (m). Độ sâu hố khoan:…….m. Đường kính hố khoan::….(m);
- Chiều dài đoạn thí nghiệm đổ nước (kể từ đáy hố), L (m).....................
- Ống chống vách phần hố khoan bên trên đoạn đổ nước:
+ đường kính:…………………(m); + chiều dài:…………………(m);
- Khoảng cách từ đáy hố khoan đến mực nước ngầm (nếu có):.............. (m)
- Đặc điểm đất đá thí nghiệm (thành phần, kết cấu, trạng thái).................
- Phương pháp thí nghiệm:...................................................................
- Kiểu thiết bị cấp nước và bộ phận tự động điều chỉnh mực nước:........
- Kiểu thiết bị đo mực nước trong hố khoan:.........................................
- Thí nghiệm bắt đầu lúc:…………………; Kết thúc lúc:...........................
Quan trắc khi đổ nước với cột nước không đổi, H = ……………….(m)
|
Ngày tháng năm |
Thời gian lúc bắt đầu thí nghiệm |
Thời điểm đo |
Lượng nước tiêu hao |
Lưu lượng nước trong thời gian hai lần đo liên tiếp, Q (m3/ng.đ) |
Lượng nước tiêu hao từ lúc bắt đầu thí nghiệm V (m3) |
||||
|
Giờ (h) |
Phút (min) |
Giờ (h) |
Phút (min) |
Số đọc trên thang đo của thùng cấp nước (mm) |
Lượng nước trong thùng (m3) |
Hiệu số lượng nước của hai lần đo liên tiếp (m3) |
|||
|
1 |
2 |
3 |
4 |
5 |
6 |
7 |
8 |
9 |
10 |
|
|
|
|
|
|
|
|
|
|
|
|
|
|
|
|
|
|
|
|
|
|
|
Người thí nghiệm |
Người kiểm tra |
Bảng A.3 - Bảng ghi chép thí nghiệm đổ nước trong hố khoan theo phương pháp của G.l.Barenblat và B.l.Sextacop
- Tên công trình:....................... ; Hạng mục công trình:.........................
- Hố thí nghiệm đổ nước số:..... Vị trí:..................................................
- Cao độ miệng hố:.................. (m). Độ sâu hố khoan (đến tầng cách nước):…….(m).
- Đường kính hố khoan::….(m); Chiều dài đoạn đổ nước (kể từ đáy hố:…………….(m);
- Ống lọc đặt vào đoạn đổ nước (chiều dài:…………m), đường kính:……………(m);
- Các thông số kỹ thuật khác:…………………………………………………..
- Ống chống vách phần hố khoan bên trên đoạn đổ nước: đường kính:………, chiều dài:……(m);
- Khoảng cách giữa hố khoan quan sát và hố đổ nước:………….(m), cao độ miệng hố: …………(m); độ sâu khoan:…………(m); đường kính:…………..(m); các thông số kỹ thuật khác.
- Đặc điểm đất đá thí nghiệm (thành phần, kết cấu, trạng thái).................
- Phương pháp thí nghiệm:...................................................................
- Kiểu thiết bị cấp:................................................................................
- Kiểu thiết bị đo mực nước trong hố khoan:.........................................
- Thời gian thí nghiệm: bắt đầu lúc:…………………; Kết thúc lúc:............
Quan trắc khi đổ nước với cột nước không đổi, Qc = ……………….(m3/ng.đ)
|
Ngày tháng năm |
Thời gian lúc bắt đầu thí nghiệm |
Thời điểm đo |
Lượng nước tiêu hao |
Chiều sâu đến mực nước |
Chiều cao cột nước trên tầng cách nước |
||||||||
|
Giờ (h) |
Phút (min) |
Giờ (h) |
Phút (min) |
Số đọc trên thang đo mực nước |
Lượng nước trong thùng (m3) |
Lượng nước tiêu tốn trong thời đoạn (m3/ng.đ) |
Lưu lượng trong thời đoạn (m) |
Trong hố khoan đổ nước (m) |
Trong hố khoan quan sát (m) |
Trong hố khoan đổ nước (m) |
Trong hố khoan quan sát (m) |
||
|
1 |
2 |
3 |
4 |
5 |
6 |
7 |
8 |
9 |
10 |
11 |
12 |
13 |
|
|
|
|
|
|
|
|
|
|
|
|
|
|
|
|
|
|
|
|
|
|
|
|
|
|
|
|
|
|
|
|
|
|
|
|
|
|
|
|
|
|
|
|
|
|
|
Người thí nghiệm |
Người kiểm tra |
Bảng A.4 -Bảng tra cứu trị số áp lực mao dẫn của đất
|
Loại đất |
Áp lực mao dẫn Hk (cm cột nước) |
|
Đất sét, đất sét pha bụi |
100,0 |
|
Đất sét pha cát |
80,0 |
|
Đất bụi |
60,0 |
|
Đất bụi pha cát |
40,0 |
|
Đất cát hạt nhỏ - hạt mịn pha sét |
30,0 |
|
Cát hạt nhỏ - hạt mịn |
20,0 |
|
Cát hạt vừa |
10,0 |
|
Cát hạt to |
5,0 |
Phụ lục B
(Tham khảo)
Dụng cụ, thiết bị thí nghiệm xác định độ thấm nước của đất
|
|
CHÚ DẪN: 1. Van 3 chiều 2. Van điều chỉnh lưu lượng 3. Thang đo nước bằng thủy tinh 4. Thước đo 5. Quai liên kết 6. Vòm ôm ống đo 7. Đai ốc liên kết |
|
Hình B.1 - Thiết bị cấp nước - các thùng đo định chuẩn |
|
|
|
CHÚ DẪN: 1. Phao rỗng 2. Van hình nón đồng tâm 3. Ống cứng tiếp nước 4. Ống mềm nối với thùng lấy nước 5. Giá |
|
Hình B.2 - Thiết bị tự động điều chỉnh mực nước bằng phao dùng trong thí nghiệm đổ nước trong hố đào theo phương pháp A.K.Bônđưrep |
|
|
|
CHÚ DẪN: 1. Bộ pin 2. Mili ame kế 3. Ống 4. Đầu tiếp xúc (đầu đo) |
|
Hình B.3 - Sơ đồ dụng cụ mực nước bằng điện |
|
Phụ lục C
(Tham khảo)
Sơ đồ thí nghiệm xác định độ thấm nước của đất

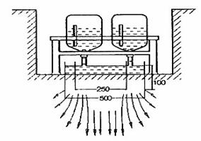
Hình C.1 - Sơ đồ thí nghiệm đổ nước trong hố đào theo phương pháp Netxterop
|
|
CHÚ DẪN: 1. Máng hứng nước chảy vào hố khoan 2. Vật đối trọng của phao 3. Giá đỡ thùng nước 4. Thùng đựng nước 5. Bộ phận điều chỉnh lưu lượng 6. Phao 7. Ống chống 8. Ống lọc |
|
Hình C.2 - Sơ đồ thí nghiệm đổ nước trong hố khoan theo phương pháp cột nước không đổi - Phương pháp Naxberg |
|

Hình C.3 - Sơ đồ thí nghiệm đổ nước trong hố khoan theo phương pháp cột nước thay đổi - phương pháp Barenblat và Sextacốp
MỤC LỤC
Lời nói đầu
TCVN 8731:2012 Đất xây dựng công trình thủy lợi - Phương pháp xác định độ thấm nước của đất bằng thí nghiệm đổ nước trong hố đào và trong hố khoan tại hiện trường.
1 Phạm vi áp dụng
2 Thuật ngữ, định nghĩa, kí hiệu và đơn vị đo
3 Quy định chung
4 Thí nghiệm đổ nước trong hố đào theo phương pháp cột nước không đổi
4.1 Phương pháp của A.K.Bônđưrep (phương pháp chỉ định)
4.2 Phương pháp thí nghiệm của N.X.Netxterôp (phương pháp chỉ định)
5. Thí nghiệm đổ nước trong hố khoan
5.1 Phạm vi áp dụng
5.2 Yêu cầu kỹ thuật
5.3 Thí nghiệm đổ nước trong hố khoan theo phương pháp cột nước không đổi - phương pháp của V.M.Naxberg (phương pháp chỉ định)
5.4 Thí nghiệm đổ nước trong hố khoan theo phương pháp cột nước thay đổi - phương pháp của G.l.Barenblat và B.l.Sextacop (phương pháp chỉ định)
Phụ lục A
Phụ lục B
Phụ lục C



