Nội dung toàn văn Tiêu chuẩn quốc gia TCVN 8273-5:2013 (ISO 7967-5:2010) về Động cơ đốt trong kiểu pit tông - Thuật ngữ về các bộ phận và hệ thống - Phần 5: Hệ thống làm mát
TIÊU CHUẨN QUỐC GIA
TCVN 8273-5:2013
ISO 7967-5:2010
ĐỘNG CƠ ĐỐT TRONG KIỂU PIT TÔNG - THUẬT NGỮ VỀ CÁC BỘ PHẬN VÀ HỆ THỐNG - PHẦN 5: HỆ THỐNG LÀM MÁT
Reciprocating internal combustion engines - Vocabulary of components and systems - Part 5: Cooling systems
Lời nói đầu
TCVN 8273-5:2013 thay thế TCVN 8272-5:2009.
TCVN 8273-5:2013 hoàn toàn tương đương ISO 7967-5:2010.
TCVN 8273-5:2013 do Ban kỹ thuật tiêu chuẩn quốc gia TCVN/TC 70 Động cơ đốt trong biên soạn, Tổng cục Tiêu chuẩn Đo lường Chất lượng đề nghị, Bộ Khoa học và Công nghệ công bố.
Bộ tiêu chuẩn TCVN 8273 (ISO 7967), Động cơ đốt trong kiểu pit tông - Thuật ngữ về các bộ phận và hệ thống, gồm các phần sau:
- TCVN 8273-1:2009 (ISO 7967-1:2005), Phần 1: Kết cấu và phần bao ngoài;
- TCVN 8273-2:2009 (ISO 7967-2:1987/Amd 1:1999), Phần 2: Cơ cấu chuyển động chính;
- TCVN 8273-3:2009 (ISO 7967-3:1987), Phần 3: Xupáp, dẫn động trục cam và cơ cấu chấp hành;
- TCVN 8273-4:2009 (ISO 7967-4:2005), Phần 4: Hệ thống tăng áp và hệ thống nạp/thải khí;
- TCVN 8273-5:2013 (ISO 7967-5:2010), Phần 5: Hệ thống làm mát;
- TCVN 8273-6:2009 (ISO 7967-6:2005), Phần 6: Hệ thống bôi trơn;
- TCVN 8273-7:2009 (ISO 7967-7:2005), Phần 7: Hệ thống điều chỉnh;
- TCVN 8273-8:2009 (ISO 7967-8:2005), Phần 8: Hệ thống khởi động;
- TCVN 8273-9:2013 (ISO 7967-9:2010), Phần 9: Hệ thống kiểm soát và giám sát.
ĐỘNG CƠ ĐỐT TRONG KIỂU PIT TÔNG - THUẬT NGỮ VỀ CÁC BỘ PHẬN VÀ HỆ THỐNG - PHẦN 5: HỆ THỐNG LÀM MÁT
Reciprocating internal combustion engines - Vocabulary of components and systems - Part 5: Cooling systems
1. Phạm vi áp dụng
Tiêu chuẩn này quy định các thuật ngữ liên quan đến hệ thống làm mát của động cơ đốt trong kiểu pít tông.
Bộ tiêu chuẩn TCVN 7861 (ISO 2710) đưa ra sự phân loại động cơ đốt trong kiểu pit tông và quy định các thuật ngữ cơ bản của động cơ này và các đặc tính của chúng.
2. Tài liệu viện dẫn
Các tài liệu viện dẫn sau rất cần thiết cho việc áp dụng tiêu chuẩn này. Đối với các tài liệu viện dẫn ghi năm công bố thì áp dụng phiên bản được nêu. Đối với các tài liệu viện dẫn không ghi năm công bố thì áp dụng phiên bản mới nhất, bao gồm cả các sửa đổi, bổ sung (nếu có).
TCVN 7861 (ISO 2710) (tất cả các phần), Động cơ đốt trong kiểu pit tông - Từ vựng.

a) Thuật ngữ “Nước làm mát” cũng được dùng khi chất lỏng làm mát phần lớn là nước.
b) Thuật ngữ “Dầu làm mát” được dùng khi chất lỏng làm mát chỉ là dầu.
c) Thuật ngữ “Dầu/khí làm mát” được dùng khi chất lỏng làm mát là dầu và không khí.
Hình 1 - Các loại hệ thống làm mát
3. Phân nhóm hệ thống làm mát
Các loại hệ thống làm mát được trình bày trong Hình 1.
4. Thuật ngữ và định nghĩa
4.1. Hệ thống làm mát
4.1.1. Làm mát bằng chất lỏng
Hệ thống làm mát trong đó sử dụng chất lỏng làm mát là chất lỏng truyền nhiệt.
4.1.2. Làm mát kiểu bay hơi
Hệ thống làm mát bằng chất lỏng mà trong đó nhiệt của động cơ được lấy đi nhờ làm bay hơi chất lỏng.
4.1.3. Làm mát kiểu bay hơi đơn
Làm mát kiểu bay hơi trong đó chất lỏng làm mát bị bay hơi sẽ được bổ sung từ nguồn bên ngoài.
Xem Hình 2.

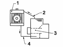
CHÚ DẪN
1 Chất làm mát
2 Động cơ
Hình 2 - Làm mát kiểu bay hơi đơn
4.1.4. Làm mát kiểu bay hơi có bình dự trữ
Làm mát kiểu bay hơi mà trong đó chất lỏng làm mát được cấp bổ sung từ một bình phụ.
Xem Hình 3

CHÚ DẪN
1 Bình bổ sung
2 Động cơ
Hình 3 - Làm mát kiểu bay hơi có bình dự trữ
4.1.5. Làm mát kiểu bay hơi có bình ngưng
Làm mát kiểu bay hơi trong đó chất lỏng làm mát bị bay hơi sẽ ngưng tụ tại một bình ngưng, sau đó chảy quay trở lại bình làm mát của động cơ.
Xem Hình 4

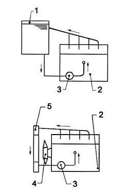
CHÚ DẪN
1 Bình ngưng
2 Ống dẫn hơi
3 Động cơ
4 Chất làm mát
Hình 4 - Làm mát kiểu bay hơi có bình ngưng
4.1.6. Làm mát tuần hoàn
Làm mát nhờ chất lỏng tuần hoàn được làm nguội lại.
4.1.7. Làm mát kiểu đối lưu
Làm mát bằng chất lỏng làm mát mà trong đó quá trình tuần hoàn tự nhiên bằng nguyên lý xy phông nhiệt.
Xem Hình 5

Hình 5 - Làm mát kiểu đối lưu
4.1.8. Làm mát cưỡng bức
Làm mát bằng chất lỏng làm mát trong đó quá trình tuần hoàn cưỡng bức do bơm tạo ra.
4.1.9. Làm mát cưỡng bức một vòng tuần hoàn hở
Làm mát cưỡng bức ở đó chất lỏng làm mát không được tái sử dụng.
4.1.10. Hệ thống làm mát cưỡng bức một vòng tuần hoàn kín
Làm mát cưỡng bức ở đó chất lỏng làm mát được làm lạnh trong bình làm mát, tháp làm mát, két làm mát, bộ tản nhiệt,...
Xem Hình 6

CHÚ DẪN
1 Bình làm mát
2 Động cơ
3 Bơm
4 Quạt
5 Két làm mát
Hình 6 - Hệ thống làm mát cưỡng bức một vòng tuần hoàn kín
4.1.11. Hệ thống làm mát cưỡng bức hai vòng tuần hoàn kín
Làm mát cưỡng bức trong đó chất lỏng làm mát sau khi làm mát động cơ sẽ được làm mát lại trong bộ trao đổi nhiệt nhờ chất lỏng làm mát ở vòng thứ hai (bên ngoài).
Xem Hình 7.

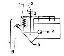
CHÚ DẪN
1 Bộ trao đổi nhiệt
2 Bình bổ sung
3 Chất làm mát tuần hoàn vòng trong
4 Động cơ
5 Bơm
6 Chất làm mát tuần hoàn vòng ngoài
Hình 7 - Hệ thống làm mát cưỡng bức hai vòng tuần hoàn kín
4.1.12. Làm mát bằng không khí
Hệ thống làm mát mà không khí là chất làm mát.
4.1.13. Làm mát bằng khí tự nhiên
Làm mát bằng sự tuần hoàn của khí tự nhiên.
4.1.14. Làm mát bằng khí cưỡng bức
Làm mát bằng không khí tuần hoàn cưỡng bức nhờ quạt.
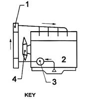
Xem Hình 8

Hình 8 - Làm mát bằng khí cưỡng bức
4.1.15. Làm mát bằng dầu
Hệ thống làm mát mà dầu là môi chất truyền nhiệt.
4.1.16. Động cơ được làm mát bằng dầu
Động cơ sử dụng dầu bôi trơn làm môi chất làm mát thay cho nước làm mát.
Xem Hình 9

CHÚ DẪN
1 Két làm mát
2 Động cơ
3 Bơm
4 Quạt
Hình 9 - Động cơ được làm mát bằng dầu
4.1.17. Động cơ được làm mát bằng dầu/khí
Động cơ trong đó nắp xy lanh cùng với lót xy lanh được làm mát bằng không khí, còn nhiệt do ma sát của động cơ thì được lấy đi nhờ dầu bôi trơn, hoặc lót xy lanh cùng với nắp xylanh được làm mát bằng không khí, còn nhiệt do ma sát của động cơ thì được lấy đi nhờ dầu bôi trơn động cơ.
Xem Hình 10.
CHÚ THÍCH: Nhiệt độ bên trong dầu bôi trơn của động cơ sẽ được lấy đi bằng bộ làm mát dầu bôi trơn động cơ.

Hình 10 - Động cơ được làm mát bằng dầu/khí
4.2. Các bộ phận của hệ thống làm mát
4.2.1. Bình làm mát
Bình chứa chất lỏng làm mát động cơ.
Xem Hình 11

CHÚ DẪN
1 Thiết bị ngưng tụ
2 Bình làm mát
Hình 11 - Bình làm mát
4.2.2. Bình dự trữ
Bình chứa một lượng chất lỏng dự trữ xác định, được đặt trên bộ trao đổi nhiệt và trong một số trường hợp được gắn cùng bộ trao đổi nhiệt.
4.2.3. Bình ngưng tụ
Bình hạn chế tổn thất chất lỏng làm mát khi sôi.
4.2.4. Bình phụ (bình phụ thêm)
Bình giãn nở mạch chất lỏng làm mát.
Xem Hình 12

CHÚ DẪN
1 Bình bổ sung
Hình 12 - Bình bổ sung
4.2.5. Két làm mát
Bộ trao đổi nhiệt từ chất lỏng cần làm mát sang không khí làm mát.
Xem Hình 13

Hình 13 - Két làm mát
4.2.6. Bộ trao đổi nhiệt từ chất lỏng sang chất lỏng
Bộ trao đổi nhiệt giữa chất lỏng làm mát chính (bên trong) sang chất lỏng làm mát phụ (bên ngoài).
4.2.7. Bộ làm mát nước sạch
Bộ trao đổi nhiệt chất lỏng - chất lỏng mà trong đó vòng tuần hoàn làm mát nước làm mát động cơ (sơ cấp) được làm mát bằng chất lỏng thứ cấp (ví dụ: nước biển).
4.2.8. Bộ làm mát thân tàu
Bộ trao đổi nhiệt lỏng-lỏng được gắn trên tàu thủy như một cái thùng dẹt gắn với mặt trong của vỏ tàu, hoặc với mặt ngoài thân tàu giống như hệ thống ống.
4.2.9. Bộ làm mát dầu
Bộ trao đổi nhiệt dùng cho dầu bôi trơn.
4.2.10. Bộ làm mát dầu bôi trơn bằng chất lỏng
Bộ làm mát dầu bôi trơn bằng cách trao đổi nhiệt từ dầu bôi trơn với chất lỏng làm mát.
Xem Hình 14

Hình 14 - Bộ làm mát dầu bôi trơn bằng chất lỏng
4.2.11. Bộ làm mát dầu bôi trơn bằng không khí
Bộ làm mát dầu bôi trơn bằng cách truyền nhiệt từ dầu bôi trơn với khí làm mát.
Xem Hình 15

Hình 15 - Bộ làm mát dầu bôi trơn bằng không khí
4.2.12. Bộ làm mát khí nạp
Bộ trao đổi nhiệt trong đó khí nạp được làm mát sau khi đã bị nén trong máy nén.
4.2.13. Bộ làm mát khí nạp bằng chất lỏng
Bộ làm mát khí nạp dùng chất lỏng làm mát.
Xem Hình 16

Hình 16 - Bộ làm mát khí nạp bằng chất lỏng
4.2.14. Bộ làm mát khí nạp bằng không khí-không khí
Bộ làm mát khí nạp dùng không khí như là chất làm mát.
Xem Hình 17

Hình 17 - Bộ làm mát khí nạp bằng không khí
4.2.15. Chụp hút gió
Bộ phận dùng để dẫn khí làm mát giữa két làm mát và quạt.
Xem Hình 18

Hình 18 - Chụp hút gió
4.2.16. Quạt
Bộ phận tạo ra dòng khí cưỡng bức để làm mát nhờ không khí.
4.2.17. Bơm chất lỏng làm mát
Bơm để tuần hoàn chất lỏng làm mát trong hệ thống làm mát cưỡng bức.
4.2.18. Van hằng nhiệt
Bộ phận điều khiển dòng chất lỏng làm mát theo nhiệt độ.
CHÚ THÍCH: Thiết bị này cho phép một phần dòng chảy chảy qua bộ làm mát.
4.2.19. Ống dẫn khí làm mát
Ống dẫn khí làm mát tới hoặc từ các phần của động cơ đi ra bộ phận làm mát.
Xem Hình 19

CHÚ DẪN
1 Bộ hướng dòng
Hình 19 - Ống dẫn khí làm mát
4.2.20. Lá tản nhiệt
Các bề mặt trải rộng trên bộ phận của động cơ để tăng khả năng truyền nhiệt.
4.2.21. Van điều áp
Thiết bị cho phép hệ thống làm mát tự điều khiển áp suất theo giới hạn áp suất lớn nhất và ngăn chặn hình thành chân không khi làm mát.
4.2.22. Bơm nước sạch
Bơm chất lỏng làm mát với quá trình tuần hoàn chất lỏng mát động cơ.
4.2.23. Bơm nước thứ cấp
Bơm chất lỏng làm mát với quá trình tuần hoàn mức thứ cấp.
4.2.24. Thùng nước làm mát
Bình chất lỏng làm mát cho động cơ được làm mát bằng bay hơi lạnh.
4.2.25. Thùng có vách ngăn
Vách ngăn trong thùng nước làm mát được thiết kế để điều khiển sự phân bố bọt khí.
4.2.26. Mức phao nước làm mát
Phao dùng để chỉ mức chất lỏng làm mát trong thùng hoặc bình.
4.2.27. Ruột bộ tản nhiệt
Bộ phận truyền-nhiệt chính của bộ tản nhiệt truyền nhiệt từ chất lỏng làm mát đến không khí làm mát.
4.2.28. Nắp bộ tản nhiệt
Nắp được cố định bằng áp suất với bộ tản nhiệt.