Nội dung toàn văn Tiêu chuẩn quốc gia TCVN 9343:2012 về Kết cấu bê tông và bê tông cốt thép - Hướng dẫn công tác bảo trì
TIÊU CHUẨN QUỐC GIA
TCVN 9343:2012
KẾT CẤU BÊ TÔNG VÀ BÊ TÔNG CỐT THÉP - HƯỚNG DẪN CÔNG TÁC BẢO TRÌ
Concrete and reinforced concrete structures - Guide to maintenance
Lời nói đầu
TCVN 9343:2012 được chuyển đổi từ TCXDVN 348:2004 thành Tiêu chuẩn Quốc gia theo quy định tại khoản 1 Điều 69 của Luật Tiêu chuẩn và Quy chuẩn kỹ thuật và điểm b khoản 2 Điều 7 Nghị định số 127/2007/NĐ-CP ngày 01/8/2007 của Chính phủ quy định chi tiết thi hành một số điều của Luật Tiêu chuẩn và Quy chuẩn kỹ thuật.
TCVN 9343:2012 do Viện Khoa học Công nghệ Xây dựng - Bộ Xây dựng biên soạn, Bộ Xây dựng đề nghị, Tổng cục Tiêu chuẩn Đo lường Chất lượng thẩm định, Bộ Khoa học và Công nghệ công bố.
KẾT CẤU BÊ TÔNG VÀ BÊ TÔNG CỐT THÉP - HƯỚNG DẪN CÔNG TÁC BẢO TRÌ
Concrete and reinforced concrete structures - Guide to maintenance
1. Phạm vi áp dụng
Tiêu chuẩn này áp dụng cho công tác bảo trì các kết cấu bê tông và bê tông cốt thép trong công trình dân dụng và công nghiệp, nhằm đảm bảo chúng luôn được an toàn và làm việc bình thường trong quá trình sử dụng.
Đối với các kết cấu thuộc chuyên ngành giao thông, thủy lợi và các công trình chuyên dụng đặc biệt khác thì khi áp dụng tiêu chuẩn này cần tuân thủ những quy định kỹ thuật liên quan.
2. Tài liệu viện dẫn
Các tài liệu viện dẫn sau là cần thiết cho việc áp dụng tiêu chuẩn này. Đối với các tài liệu viện dẫn ghi năm công bố thì áp dụng phiên bản được nêu. Đối với các tài liệu viện dẫn không ghi năm công bố thì áp dụng phiên bản mới nhất, bao gồm cả các sửa đổi, bổ sung (nếu có).
TCVN 141:2008, Xi măng - Phương pháp phân tích hóa học.
TCVN 197:2002 (ISO 6892:1998), Kim loại - Thử kéo ở nhiệt độ thường.
TCVN 2683:1991, Đất xây dựng - Phương pháp lấy, bao gói, vận chuyển và bảo quản mẫu.
TCVN 2737:1995, Tải trọng và tác động - Tiêu chuẩn thiết kế.
TCVN 3105:2012, Hỗn hợp bê tông nặng và bê tông nặng - Lấy mẫu, chế tạo và bảo dưỡng mẫu thử.
TCVN 3113:2012, Bê tông nặng - Phương pháp xác định độ hút nước.
TCVN 3118:2012, Bê tông nặng - Phương pháp xác định cường độ nén.
TCVN 4055:2012, Tổ chức thi công.
TCVN 4085:1995, Kết cấu gạch đá - Quy phạm thi công và nghiệm thu.
TCVN 4453:1995, Kết cấu bê tông và bê tông cốt thép toàn khối - Quy phạm thi công và nghiệm thu.
TCVN 5573:1991, Kết cấu gạch đá và gạch đá cốt thép.
TCVN 5574:1991, Kết cấu bê tông cốt thép - Tiêu chuẩn thiết kế.
TCVN 5718:1993, Mái và sàn bê tông cốt thép trong công trình xây dựng - Yêu cầu kỹ thuật chống thấm nước.
TCVN 5726:1993, Bê tông nặng - Phương pháp xác định cường độ lăng trụ và môđun đàn hồi khi nén tĩnh.
TCVN 6084:2012, Hệ thống tài liệu thiết kế - Bản vẽ xây dựng - Phần 19: Ký hiệu cho cốt thép bê tông.
TCVN 9334:2012, Bê tông nặng - Phương pháp xác định cường độ bằng súng bật nẩy.
TCVN 9345:2012, Kết cấu bê tông và bê tông cốt thép - Hướng dẫn kỹ thuật phòng chống nứt dưới tác động khí hậu nóng ẩm địa phương.
TCVN 9348:2012, Kết cấu bê tông cốt thép - Phương pháp điện thế kiểm tra khả năng cốt thép bị ăn mòn.
TCVN 9351:2012, Đất xây dựng - Phương pháp xuyên động lấy mẫu.
TCVN 9352:2012, Đất xây dựng - Phương pháp thí nghiệm xuyên tĩnh.
TCVN 9356:2012, Kết cấu bê tông cốt thép - Phương pháp điện từ xác định chiều dày lớp bê tông bảo vệ, vị trí và đường kính cốt thép trong bê tông.
TCVN 9357:2012, Bê tông nặng - Đánh giá chất lượng bê tông - Phương pháp xác định vận tốc xung siêu âm.
TCVN 9360:2012, Quy trình kỹ thuật xác định độ lún công trình dân dụng và công nghiệp bằng phương pháp đo cao hình học.
TCVN 9361:2012, Thi công và nghiệm thu công tác nền móng.
TCVN 9362:2012, Tiêu chuẩn thiết kế nền nhà và công trình.
3. Thuật ngữ và định nghĩa
3.1. Bảo trì (maintenance)
Một loạt công việc được tiến hành để đảm bảo cho kết cấu liên tục giữ được chức năng làm việc của nó trong suốt tuổi thọ thiết kế.
3.2. Biến dạng (deformation)
Hiện tượng thay đổi hình dạng và thể tích của kết cấu.
3.3. Cacbonat hóa (carbonation)
Tác động sinh ra do phản ứng giữa hydroxid canxi trong bê tông với khí cacbônic trong môi trường, tạo ra một bề mặt cứng do bê tông bị cacbonat hóa và làm giảm tính kiềm trong phần đã xảy ra phản ứng.
3.4. Chỉ số công năng dài hạn (long-term performance index)
Chỉ số xác định khả năng còn lại của kết cấu có thể đáp ứng được chức năng thiết kế trong suốt thời gian tuổi thọ thiết kế.
3.5. Chức năng (function)
Yêu cầu mà kết cấu đòi hỏi phải đảm đương.
3.6. Co khô (dry shringkage)
Sự giảm thể tích của bê tông do bị mất nước trong trạng thái đóng rắn.
3.7. Công năng (performance)
Khả năng (hoặc hiệu quả) của kết cấu đảm nhận các chức năng thiết kế của nó.
3.8. Công tác sửa chữa (repair)
Công việc bảo trì được thực hiện với mục đích ngăn ngừa hoặc làm hạn chế quá trình xuống cấp của kết cấu, giữ vững hoặc tăng cường thêm công năng của nó, hoặc để giảm nguy cơ gây hại cho người sử dụng.
3.9. Chỉ số công năng (performance index)
Chỉ số định lượng của công năng kết cấu.
3.10. Cường độ đặc trưng (characteristic strength)
Cường độ đặc trưng của vật liệu là giá trị cường độ được xác định với xác xuất đảm bảo 95 % (nghĩa là chỉ có 5 % các giá trị thí nghiệm không thỏa mãn).
3.11. Dự đoán xuống cấp (deterioration prediction)
Sự suy đoán tốc độ suy giảm công năng trong tương lai của kết cấu, dựa trên kết quả kiểm tra và các dữ liệu ghi chép được trong quá trình thiết kế và thi công kết cấu.
3.12. Dự đoán độ bền lâu (durability prediction)
Dự đoán về mức độ xuống cấp của kết cấu trong tương lai, dựa trên những số liệu đã dùng trong thiết kế.
3.13. Độ bền lâu (durability)
Mức thời gian kết cấu duy trì được các công năng thiết kế.
3.14. Độ xuống cấp (degree of deterioration)
Độ suy giảm công năng hoặc mức độ xuống cấp của công trình do các tác động của môi trường kể từ khi xây dựng
3.15. Độ tin cậy (reliability)
Khả năng một kết cấu có thể đáp ứng đầy đủ những yêu cầu cần thiết trong suốt tuổi thọ thiết kế.
3.16. Độ an toàn (safety)
Khả năng kết cấu đảm bảo không gây thiệt hại cho người sử dụng và người ở vùng lân cận dưới bất cứ tác động nào.
3.17. Gia cường (strengthening)
Công việc sửa chữa kết cấu nhằm giữ vững hoặc nâng cao thêm khả năng chịu tải của kết cấu đến mức bằng hoặc cao hơn mức thiết kế ban đầu.
3.18. Hồ sơ hoàn công (as-built documents and drawings)
Tài liệu đưa vào lưu trữ sau khi thi công công trình, bao gồm các văn bản pháp lý, bản vẽ thiết kế, bản vẽ hoàn công, thuyết minh thiết kế và biện pháp thi công, nhật ký thi công, các biên bản kiểm tra…
3.19. Khe co (contraction joint)
Khe co dãn nhiệt ẩm không có chuyển dịch bê tông tại khe. Tại đây bê tông có thể nứt (xem khe co dãn nhiệt ẩm).
3.20. Khe co dãn nhiệt ẩm (hot-humid deformation joint)
Vị trí chia cắt kết cấu thành các phần nhỏ để kết cấu bê tông có thể co nở dễ dàng theo thời tiết nóng ẩm.
3.21. Khe dãn (expansion joint)
Khe co dãn nhiệt ẩm cho phép chuyển dịch đầu mút bê tông tại khe (xem khe co dãn nhiệt ẩm).
3.22. Khả năng sửa chữa (restorability/reparability)
Khả năng một kết cấu có thể sửa chữa bằng kỹ thuật và kinh tế khi bị hư hại dưới các tác động xem xét.
3.23. Khả năng sử dụng bình thường (serviceability)
Khả năng kết cấu đáp ứng đầy đủ yêu cầu sử dụng hoặc chức năng thiết kế dưới tác động của các yếu tố xem xét.
3.24. Khảo sát (investigation)
Công việc kiểm tra kỹ lưỡng tình trạng kết cấu để xác lập được những thông số cần thiết về mức độ hư hỏng của kết cấu nhằm tìm biện pháp khắc phục.
3.25. Kiểm soát hư hỏng (damage control)
Cách tiến hành để đảm bảo yêu cầu trạng thái giới hạn được thỏa mãn khi sửa chữa và phục hồi kết cấu.
3.26. Kiểm tra (inspection)
Quá trình xem xét tình trạng kết cấu và hồ sơ công trình nhằm phát hiện các dấu hiệu xuống cấp hoặc xác định các thông số xuống cấp của kết cấu để có biện pháp sửa chữa.
3.27. Lực cơ học (mechanical forces)
Lực hoặc nhóm lực tập trung hoặc phân bố tác động lên kết cấu, hoặc lực phát sinh do các biến dạng cưỡng bức mà kết cấu phải chịu.
3.28. Mức xuống cấp (level of deterioration)
Tình trạng đã bị xuống cấp của kết cấu.
3.29. Phân tích (analysis/assessment)
Phương pháp được chấp nhận dùng để đánh giá các chỉ số công năng hoặc để mô tả chuẩn xác một vấn đề chuyên môn.
3.30. Sửa chữa (repair)
Hoạt động được thực hiện nhằm mục đích ngăn ngừa hoặc làm chậm quá trình xuống cấp của kết cấu, hoặc làm giảm nguy cơ gây hại cho người sử dụng.
3.31. Tác động (action)
Lực cơ học hoặc tác động của môi trường mà kết cấu (hoặc bộ phận kết cấu) phải gánh chịu.
3.32. Tác động bất thường (accidental action)
Tác động xảy ra với xác suất rất thấp, nhưng có cường độ cao hơn nhiều so với các tác động thông thường khác.
3.33. Tác động môi trường (environment actions)
Tập hợp các ảnh hưởng vật lý, hóa học và sinh học làm suy giảm chất lượng vật liệu kết cấu. Sự suy giảm này có thể có tác động bất lợi đến khả năng sử dụng, khả năng sửa chữa và độ an toàn của kết cấu.
3.34. Tác động thay đổi (variable action)
Tác động sinh ra do sự chuyển động một vật trên kết cấu, hoặc do một tải trọng nào đó luôn thay đổi, như tải trọng đi lại, tải trọng sóng, áp lực nước, áp lực đất, và tải trọng sinh ra do sự thay đổi nhiệt độ.
3.35. Tác động thường xuyên (permanent action)
Trọng lượng bản thân của kết cấu kể cả chi tiết đi kèm và các đồ đạc, thiết bị đặt cố định.
3.36. Tầm quan trọng (importance)
Mức xác định cho kết cấu để chỉ mức độ phải giải quyết những hư hỏng trong quá trình suy giảm chất lượng, nhằm giữ được chức năng của kết cấu như thiết kế đã định.
3.37. Theo dõi (monitoring)
Việc ghi chép liên tục những dữ liệu về sự suy giảm chất lượng hoặc công năng của kết cấu bằng những thiết bị thích hợp.
3.38. Thiết kế theo độ bền (durability design)
Việc thiết kế nhằm đảm bảo rằng kết cấu có thể duy trì được các chức năng yêu cầu trong suốt tuổi thọ thiết kế dưới các tác động của môi trường.
3.39. Tính chất biến dạng (deformability)
Thuật ngữ chỉ khả năng kết cấu có thể thay đổi hình dạng và kích thước.
3.40. Trạng thái đóng rắn của bê tông (hardened state of concrete)
Trạng thái bê tông sau khi đạt được cường độ nhất định.
3.41. Trạng thái giới hạn (limit state)
Trạng thái tới hạn được đặc trưng bởi một chỉ số công năng. Khi vượt quá chỉ số này thì kết cấu không còn đáp ứng được yêu cầu công năng thiết kế nữa.
3.42. Trạng thái giới hạn cực hạn (ultimate limit state)
Trạng thái giới hạn của sự an toàn.
3.43. Tốc độ xuống cấp (rate of deterioration)
Mức xuống cấp của kết cấu theo một đơn vị thời gian.
3.44. Tuổi thọ hiện còn (remaining service life)
Quãng thời gian tính từ thời điểm kiểm tra tới khi kết cấu được xem như không còn sử dụng được nữa hoặc cho tới khi nó không đáp ứng được chức năng đã xác định từ khi thiết kế.
3.45. Tuổi thọ thiết kế (design service life)
Thời gian dự định mà kết cấu hoàn toàn đáp ứng được mục đích và chức năng của nó, mặc dù có dự tính trước yêu cầu bảo trì, nhưng không cần thiết phải sửa chữa lớn.
3.46. Tuổi thọ sử dụng (service life)
Độ dài thời gian từ khi xây dựng xong kết cấu cho tới lúc nó không sử dụng được nữa vì không đáp ứng được chức năng thiết kế.
3.47. Vữa bơm (grout)
Hỗn hợp có độ chảy lớn gồm cốt liệu, xi măng với nước, có hoặc không có phụ gia, được thi công bằng bơm áp lực.
4. Những vấn đề cơ bản của bảo trì
4.1. Yêu cầu chung
Mọi kết cấu cần được thực hiện chế độ bảo trì đúng mức trong suốt tuổi thọ thiết kế. Các kết cấu mới xây dựng cần được thực hiện bảo trì từ ngay khi đưa vào sử dụng. Các kết cấu sửa chữa được bắt đầu công tác bảo trì ngay sau khi sửa chữa xong.
Các kết cấu đang sử dụng, nếu chưa thực hiện bảo trì, thì cần bắt đầu ngay công tác bảo trì.
Chủ đầu tư cần có một chiến lược tổng thể về bảo trì công trình bao gồm công tác kiểm tra, xác định mức độ và tốc độ xuống cấp, đánh giá tính nguyên vẹn của kết cấu và thực hiện công việc sửa chữa nếu cần.
4.2. Nội dung bảo trì
Công tác bảo trì được thực hiện với những nội dung sau đây:
4.2.1. Kiểm tra
Kiểm tra gồm có các loại hình sau đây:
4.2.1.1. Kiểm tra ban đầu
Là quá trình khảo sát kết cấu bằng trực quan (nhìn, gõ, nghe) hoặc bằng các phương tiện đơn giản và xem xét hồ sơ hoàn công để phát hiện những sai sót chất lượng sau thi công so với yêu cầu thiết kế. Từ đó tiến hành khắc phục ngay để đảm bảo công trình đưa vào sử dụng đúng yêu cầu thiết kế. Kiểm tra ban đầu được tiến hành đối với công trình xây mới, công trình đang tồn tại và công trình mới sửa chữa xong.
4.2.1.2. Kiểm tra thường xuyên
Là quá trình thường ngày xem xét công trình bằng mắt hoặc bằng các phương tiện đơn giản để phát hiện kịp thời dấu hiệu xuống cấp. Kiểm tra thường xuyên là bắt buộc đối với mọi công trình.
4.2.1.3. Kiểm tra định kỳ
Là quá trình khảo sát công trình theo chu kỳ để phát hiện các dấu hiệu xuống cấp cần khắc phục sớm.
Kiểm tra định kỳ được thực hiện với mọi công trình trong đó chu kỳ kiểm tra được chủ công trình quy định tùy theo tầm quan trọng, tuổi thọ thiết kế và điều kiện môi trường làm việc của công trình.
4.2.1.4. Kiểm tra bất thường
Là quá trình khảo sát đánh giá công trình khi có hư hỏng đột xuất (như công trình bị hư hỏng do gió bão, lũ lụt, động đất, va đập, cháy…). Kiểm tra bất thường thông thường đi liền với kiểm tra chi tiết.
4.2.1.5. Theo dõi
Là quá trình ghi chép thường xuyên về tình trạng kết cấu bằng hệ thống theo dõi đã đặt sẵn từ lúc thi công. Hệ thống theo dõi thường được đặt cho các công trình thuộc nhóm bảo trì A và B (bảng 1).
Bảng 1 - Phân loại bảo trì theo các nhóm
|
Nhóm bảo trì |
Loại công trình |
Yêu cầu thực hiện bảo trì |
|
Nhóm A - Bảo trì phòng ngừa |
- Công trình đặc biệt quan trọng, có liên quan tới an toàn quốc gia, phòng chống cháy nổ và môi trường; - Công trình thường xuyên có rất nhiều người làm việc hoặc qua lại - Công trình không có điều kiện dễ sửa chữa - Công trình có tuổi thọ thiết kế đến 100 năm hoặc lâu hơn |
- Thực hiện tất cả các nội dung bảo trì ở 4.2. - Đặt thiết bị theo dõi công trình lâu dài. - Thực hiện các biện pháp phòng ngừa ngay từ giai đoạn thiết kế, thi công (như bảo vệ bề mặt, đặt catôt bảo vệ). |
|
Nhóm B - Bảo trì thông thường |
Các công trình dân dụng và công nghiệp thông thường, có tuổi thọ thiết kế dưới 100 năm và có thể sửa chữa khi cần |
- Thực hiện tất cả các nội dung bảo trì ở 4.2. - Có thể đặt hệ thống thiết bị theo dõi lâu dài. - Kiểm tra ban đầu, thường xuyên, định kỳ được thực hiện chủ yếu bằng mắt và các phương tiện đơn giản |
|
Nhóm C - Bảo trì quan sát |
Công trình tạm, có niên hạn sử dụng dưới 20 năm |
- Bảo trì chủ yếu bằng quan sát thường xuyên. Không cần khảo sát chi tiết. Khi công trình có dấu hiệu xuống cấp thì hoặc là tiến hành sửa chữa đơn giản, hoặc là phá dỡ. |
|
Nhóm D - Bảo trì không quan sát |
Công trình dàn khoan ngoài chơi, công trình ngầm dưới đất, công trình dưới nước |
- Không tiến hành kiểm tra thường xuyên và định kỳ đối với các chi tiết khuất. Kiểm tra chi tiết và kiểm tra đột xuất được tiến hành khi dấu hiệu hư hỏng cho thấy cần phải sửa chữa. - Có thể thực hiện biện pháp phòng ngừa ngay trong giai đoạn thiết kế và thi công (như bảo vệ bề mặt, đặt catôt bảo vệ). |
4.2.1.6. Kiểm tra chi tiết
Là quá trình khảo sát, đánh giá mức độ hư hỏng công trình nhằm đáp ứng yêu cầu của các loại hình kiểm tra trên. Kiểm tra chi tiết cần đi liền với việc xác định cơ chế xuống cấp, đánh giá mức độ xuống cấp và đi đến giải pháp sửa chữa cụ thể.
Chi tiết về các loại hình kiểm tra xem 5.3, 5.4, 5.5 và 5.6.
Quan hệ giữa các quá trình kiểm tra và sửa chữa được thể hiện trên sơ đồ Hình 1.

Hình 1 - Quan hệ các quá trình kiểm tra và sửa chữa kết cấu
4.2.2. Phân tích cơ chế xuống cấp
Trên cơ sở các số liệu kiểm tra, cần xác định xem xuống cấp đang xảy ra theo cơ chế nào. Từ đó xác định hướng giải quyết khắc phục.
4.2.3. Đánh giá mức độ và tốc độ xuống cấp
Sau khi phân tích được cơ chế xuống cấp thì đánh giá xem mức độ và tốc độ xuống cấp đã đến đâu và yêu cầu đòi hỏi phải sửa chữa đến mức nào, hoặc có thể sẽ phải phá dỡ. Cơ sở để đánh giá mức độ xuống cấp là các công năng hiện có của kết cấu.
4.2.4. Xác định giải pháp sửa chữa
Xuất phát từ mức yêu cầu phải sửa chữa để thiết kế giải pháp sửa chữa cụ thể.
4.2.5. Sửa chữa
Bao gồm quá trình thực thi thiết kế và thi công sửa chữa hoặc gia cường kết cấu.
Tùy theo mức độ, yêu cầu của công tác bảo trì, chủ công trình có thể tự thực hiện những nội dung bảo trì nêu trên hoặc thuê một đơn vị chuyên ngành thiết kế hoặc thi công thực hiện.
4.3. Phân loại bảo trì
Công tác bảo trì được phân theo các nhóm A, B, C, D tùy theo tầm quan trọng của kết cấu, đặc điểm kết cấu, tuổi thọ thiết kế, điều kiện môi trường, mức độ tác động tới xung quanh, độ dễ bảo trì và giá bảo trì. Các nhóm bảo trì và yêu cầu bảo trì tương ứng được quy định trong bảng 1.
4.4. Các dạng hư hỏng của kết cấu
Tiêu chuẩn này xem xét các dạng hư hỏng thông thường sau đây của kết cấu:
- Hư hỏng do sai sót thuộc về thiết kế, thi công, sử dụng công trình;
- Hư hỏng do nguyên nhân lún nền móng;
- Hư hỏng do tác động các yếu tố khí hậu nóng ẩm;
- Hư hỏng do cabonat hóa bê tông;
- Hư hỏng do tác động của môi trường vùng biển;
- Hư hỏng do tác động của môi trường xâm thực công nghiệp;
Việc nhận biết các loại hình hư hỏng trên được chỉ dẫn ở Điều 6.
Từ mỗi loại hình hư hỏng nhận biết được, chủ công trình và người thiết kế cần có chương trình cụ thể cho công tác bảo trì, bao gồm từ khâu kiểm tra, đánh giá mức độ hư hỏng đến việc sửa chữa, gia cường, nâng cấp hoặc phá dỡ công trình.
4.5. Kiểm tra công năng của kết cấu trong quá trình bảo trì
4.5.1. Công năng của kết cấu cần được đánh giá lại trước và sau khi sửa chữa.
Các công năng sau đây cần được đánh giá:
- Độ an toàn (khả năng chịu tải);
- Khả năng làm việc bình thường.
Việc đánh giá công năng được thực hiện thông qua các chỉ số công năng yêu cầu (Pyc) và chỉ số công năng thực tế mà kết cấu đạt được (Ptt). Tùy theo loại hình và mức độ hư hỏng của kết cấu, có thể xác định một hoặc một số chỉ số công năng cho mỗi loại hình công năng kiểm tra.
4.5.2. Kết cấu được coi là đảm bảo công năng khi Ptt ≥ Pyc hoặc Pyc ≥ Ptt, tùy theo chỉ số công năng cụ thể.
trong đó:
Ptt là chỉ số công năng thực tế đạt được, xác định theo thực tế khảo sát kết cấu hoặc theo giá trị tính toán;
Pyc là chỉ số công năng yêu cầu, xác định theo các tiêu chuẩn quy phạm hiện hành hoặc theo yêu cầu của người thiết kế hay chủ công trình.
4.5.3. Các chỉ số công năng cần đánh giá được chỉ rõ trong bảng 2.
Đối với các kết cấu chịu tác động ăn mòn hoặc tác động của khí hậu nóng ẩm thì ngoài kiểm tra công năng còn cần phải kiểm tra khả năng kết cấu giữ được độ bền lâu theo yêu cầu thiết kế. Cụ thể, các yếu tố sau đây cần phải ở dưới mức cho phép.
- Nồng độ ion Cl- hoặc hóa chất thẩm thấu;
- Chiều dày mức thấm ion Cl- hoặc hóa chất;
- Chiều dày cacbonat, độ pH;
- Bề rộng vết nứt;
- Mức rỉ cốt thép;
- Độ rỗng bê tông;
- Tổn thất cường độ hoặc trong lượng bê tông.
Bảng 2 - Các chỉ số công năng cần đánh giá trước và sau khi sửa chữa kết cấu
|
Công năng kiểm tra |
Chỉ số công năng |
Loại hình kết cấu áp dụng |
|
Độ an toàn (khả năng chịu tải) |
Mômen uốn: Lực cắt; Lực dọc; Lực xoắn; Lực gây sập đổ hoặc mất ổn định kết cấu. |
Mọi kết cấu với các dạng hư hỏng khác nhau |
|
Khả năng làm việc bình thường |
+ Theo chức năng kết cấu: - Chống thấm (Lượng nước thấm qua kết cấu, mật độ thấm ẩm) - Cách nhiệt (Mức truyền nhiệt qua kết cấu) - Chống cháy (Mức chịu lửa của k/c khi có cháy); - Chống ồn, bụi (Mức ồn, bụi); - Mỹ quan bên ngoài (Mật độ rêu mốc); - Mùi (do rêu mốc). |
- Kết cấu có các yêu cầu theo chức năng kiểm tra; - Kết cấu có yêu cầu thẩm mỹ |
|
+ Theo tiện nghi cho người sử dụng: - Nghiêng lệch, võng, lún; - Vết nứt (Mật độ và bề rộng vết nứt); - Chấn rung. |
Mọi kết cấu với các dạng hư hỏng khác nhau |
|
|
+ Theo tác động xấu đến môi trường xung quanh: - Khả năng bong rơi lớp bảo vệ cốt thép; - Mức tác động xấu đến môi trường; - Ảnh hưởng đến công trình lân cận. |
Các kết cấu có nguy cơ ăn mòn, han rỉ cốt thép. Kết cấu thường xuyên tiếp xúc với chất thải. Kết cấu bị lún. |
4.6. Quản lý kỹ thuật công tác bảo trì
Sau khi xây dựng xong công trình, cần tiến hành ngay việc kiểm tra ban đầu để phát hiện các dấu hiệu khuyết tật làm ảnh hưởng xấu đến công năng kết cấu. Các khuyết tật này cần được khắc phục ngay trước khi đưa công trình vào sử dụng.
Trong suốt thời gian làm việc của công trình, công tác bảo trì cần được duy trì theo nội dung nêu ở 4.2. Trong trường hợp phát hiện thấy kết cấu bị hư hỏng đến mức phải sửa chữa thì cần tiến hành ngay công tác kiểm tra, đánh giá mức độ hư hỏng và đề ra biện pháp sửa chữa.
Việc kiểm tra, xác định cơ chế xuống cấp, đánh giá mức độ hư hỏng và đề ra giải pháp sửa chữa kết cấu phải do các đơn vị và chuyên gia chuyên ngành có năng lực phù hợp thực hiện. Các giải pháp sửa chữa cần được xác định trên cơ sở các số liệu kiểm tra trước đó và có sử dụng các bản vẽ thiết kế, bản vẽ hoàn công, các kết quả kiểm tra chất lượng, vật liệu đã sử dụng, các biên bản và sổ nhật ký thi công của công trình. Việc thi công sửa chữa, gia cường, nâng cấp, hoặc phá dỡ kết cấu đã bị hư hỏng cần phải được các đơn vị thi công có năng lực chuyên môn phù hợp thực hiện.
Mọi diễn biến của công tác bảo trì cần được ghi chép và lưu giữ để sử dụng lâu dài. Chủ công trình sẽ lưu giữ các ghi chép này cùng với các bản vẽ và các tài liệu kỹ thuật khác liên quan đến việc bảo trì.
5. Công tác kiểm tra
5.1. Nguyên tắc chung
Kiểm tra là công việc được thực hiện đối với mọi công trình nhằm phát hiện kịp thời sự xuống cấp hoặc thay đổi công năng kết cấu.
Việc kiểm tra cần được duy trì trong suốt thời gian sử dụng công trình.
5.2. Tay nghề và công cụ kiểm tra
Việc kiểm tra phải do đơn vị và các cá nhân có trình độ chuyên môn phù hợp thực hiện. Thông thường chủ công trình có thể mời đơn vị và chuyên gia tư vấn đã thiết kế và giám sát chất lượng thực hiện công tác kiểm tra. Công cụ kiểm tra có thể là bằng trực quan (nhìn nghe), hoặc bằng những công cụ thông thường như thước mét, búa gõ, kính phóng đại… Khi cần có thể dùng các thiết bị như máy kinh vĩ, thiết bị thử nghiệm không phá hoại hoặc các thiết bị thử nghiệm trong phòng khác.
Dưới đây là hướng dẫn cụ thể cho mỗi loại hình kiểm tra.
5.3. Kiểm tra ban đầu
5.3.1. Nguyên tắc chung
Kiểm tra ban đầu được thực hiện ngay sau khi công trình được thi công xong và bắt đầu đưa vào sử dụng. Đối với công trình sửa chữa và gia cường thì kiểm tra ban đầu được thực hiện ngay sau khi sửa chữa và gia cường xong.
Đối với những công trình đang tồn tại mà chưa có kiểm tra ban đầu thì bất kỳ lần kiểm tra đầu tiên nào cũng có thể coi là kiểm tra ban đầu.
Yêu cầu của kiểm tra ban đầu là thiết lập các số liệu đo đầu tiên của kết cấu, phát hiện kịp thời những sai sót ban đầu của kết cấu và khắc phục ngay để đưa kết cấu vào sử dụng. Thông qua kiểm tra ban đầu để suy đoán khả năng có thể xuống cấp công trình theo tuổi thọ thiết kế đã dự kiến.
Kiểm tra ban đầu do chủ đầu tư cùng với các đơn vị thiết kế, thi công và giám sát chất lượng thực hiện.
5.3.2. Biện pháp kiểm tra ban đầu
Kiểm tra ban đầu được tiến hành trên toàn bộ kết cấu công trình hoặc một bộ phận của kết cấu.
Phương pháp kiểm tra chủ yếu là bằng trực quan, kết hợp với xem xét các bản vẽ thiết kế, bản vẽ hoàn công và hồ sơ thi công (sổ nhật ký công trình, các biên bản kiểm tra đã có).
5.3.3. Nội dung kiểm tra ban đầu
Kiểm tra ban đầu gồm những công việc sau đây:
5.3.3.1. Khảo sát kết cấu để thu thập số liệu về những vấn đề sau đây
- Sai lệch hình học của kết cấu;
- Độ nghiêng, lún, biến dạng của kết cấu;
- Xuất hiện vết nứt;
- Tình trạng bong rộp;
- Tình trạng rỉ cốt thép;
- Biến màu mặt ngoài;
- Chất lượng bê tông;
- Các khuyết tật nhìn thấy;
- Sự đảm bảo về công năng sử dụng (chống thấm, cách âm, cách nhiệt…);
- Tình trạng hệ thống theo dõi lâu dài (nếu có). Số liệu đo của hệ thống tại thời điểm kiểm tra ban đầu
5.3.3.2. Xem xét hồ sơ hoàn công để đánh giá chất lượng phần khuất của kết cấu (bản vẽ thiết kế, bản vẽ hoàn công, sổ nhật ký công trình, các biên bản kiểm tra).
5.3.3.3. Tiến hành thí nghiệm bổ sung nếu cần để nhận biết rõ hơn tình trạng công trình đối với công trình đang tồn tại, nay mới kiểm tra lần đầu.
5.3.3.4. Xử lý các khuyết tật đã phát hiện ra. Trường hợp nghi ngờ có sai sót quan trọng thì tiến hành thêm kiểm tra chi tiết và đề ra biện pháp xử lý.
5.3.3.5. Tiến hành vận hành hệ thống theo dõi để ghi số đo ban đầu đối với các kết cấu có gắn các hệ thống theo dõi lâu dài.
5.3.3.6. Suy đoán khả năng xuống cấp kết cấu theo tuổi thọ công trình.
Trên cơ sở các số liệu khảo sát và sau khi những sai sót kết cấu đã được khắc phục, cần suy đoán khả năng xuất hiện các khuyết tật kết cấu, khả năng bền môi trường (đối với môi trường xâm thực và môi trường khí hậu nóng ẩm), khả năng có thể nghiêng lún tiếp theo, và khả năng suy giảm công năng.
Tùy theo tính chất và điều kiện môi trường làm việc của công trình, người thực hiện kiểm tra ban đầu có thể đặt trọng tâm công tác kiểm tra vào những yếu tố có ảnh hưởng quan trọng tới độ bền lâu của công trình.
Mục tiêu cuối cùng của suy đoán là để đánh giá xem khả năng kết cấu có thể đảm bảo tuổi thọ thiết kế trong điều kiện sử dụng bình thường hay không, đồng thời xác định giải pháp đảm bảo độ bền lâu công trình.
5.3.4. Ghi chép và lưu giữ hồ sơ
Toàn bộ kết quả khảo sát, đánh giá chất lượng kết cấu, suy đoán khả năng làm việc của kết cấu, số đo ban đầu của hệ thống theo dõi lâu dài cần được ghi chép đầy đủ và lưu giữ lâu dài cùng với hồ sơ hoàn công của công trình.
Chủ công trình cần lưu giữ hồ sơ này để sử dụng cho những lần kiểm tra tiếp theo.
5.4. Kiểm tra thường xuyên
5.4.1. Nguyên tắc chung
Kiểm tra thường xuyên được tiến hành nhằm theo dõi, giám sát kết cấu thường ngày sau kiểm tra ban đầu. Chủ công trình cần có lực lượng chuyên trách thường xuyên quan tâm đến việc kiểm tra thường xuyên.
Kiểm tra thường xuyên được thực hiện trên toàn bộ kết cấu ở những chỗ có thể quan sát được. Mục đích là để nắm được kịp thời tình trạng làm việc của kết cấu, những sự cố hư hỏng có thể xảy ra (đặc biệt là ở những vị trí xung yếu, quan trọng) để sớm có biện pháp khắc phục, tránh tình trạng để hư hỏng kéo dài dẫn đến ngày càng trầm trọng hơn.
5.4.2. Nội dung kiểm tra thường xuyên
Kiểm tra thường xuyên gồm các công việc sau đây:
5.4.2.1. Tiến hành quan sát kết cấu thường ngày bằng mắt, khi có nghi ngờ thì dùng biện pháp gõ để nghe và suy đoán. Người tiến hành kiểm tra thường xuyên phải có trình độ chuyên ngành xây dựng và được giao trách nhiệm rõ ràng.
5.4.2.2. Thường ngày quan tâm xem xét những vị trí sau đây của kết cấu để phát hiện sớm những dấu hiệu xuống cấp:
- Vị trí mômen uốn và lực cắt lớn, vị trí tập trung ứng suất;
- Vị trí khe co dãn;
- Chỗ liên kết các phần tử của kết cấu;
- Vị trí có nguồn nước thấm, nguồn nhiệt, nguồn ồn, nguồn bụi;
- Những chỗ chịu tác động trực tiếp của bức xạ mặt trời;
- Vị trí có tiếp xúc với môi trường xâm thực.
5.4.2.3. Phát hiện những vấn đề sau đây khi tiến hành kiểm tra thường xuyên:
- Sự nghiêng lún;
- Biến dạng hình học của kết cấu;
- Xuất hiện vết nứt, sứt mẻ, giảm yếu tiết diện;
- Xuất hiện bong rộp;
- Xuất hiện thấm;
- Rỉ cốt thép;
- Biến màu mặt ngoài;
- Sự suy giảm công năng (chống thấm, cách âm, cách nhiệt…);
- Tình trạng hệ thống theo dõi lâu dài (nếu có).
CHÚ THÍCH: đối với các kết cấu làm việc trong môi trường xâm thực thì cần thường xuyên quan tâm tới dấu hiệu ăn mòn bê tông và cốt thép.
5.4.2.4. Xử lý kết quả kiểm tra:
- Trường hợp phát hiện có sự cố, hư hỏng nhỏ thì có biện pháp khắc phục ngay;
- Trường hợp phát hiện có sự cố, hư hỏng nặng bất thường thì tổ chức kiểm tra chi tiết tại chỗ hư hỏng và đề ra giải phát xử lý kịp thời. Trong quá trình đề ra giải pháp xử lý cần phải nghiên cứu tình trạng kết cấu trong hồ sơ kiểm tra ban đầu.
5.4.3. Ghi chép và lưu giữ hồ sơ
Những điều sau đây cần được ghi chép đầy đủ:
- Những sự cố hoặc hư hỏng đã phát hiện, vị trí xảy ra các số liệu đo nếu có;
- Biện pháp khắc phục và kết quả đã khắc phục hư hỏng xảy ra;
- Số liệu kiểm tra chi tiết nếu có;
- Giải pháp và kết quả sửa chữa sau kiểm tra chi tiết;
- Tình trạng kết cấu sau khi đã khắc phục hư hỏng;
- Những tài liệu ghi chép nêu trên cần được chủ công trình lưu giữ lâu dài cùng với hồ sơ kiểm tra ban đầu để sử dụng cho những lần kiểm tra sau.
5.5. Kiểm tra định kỳ
5.5.1. Nguyên tắc chung
Kiểm tra định kỳ được tiến hành đối với mọi kết cấu bê tông cốt thép.
Kiểm tra định kỳ nhằm phát hiện kịp thời những dấu hiệu hư hỏng của kết cấu trong quá trình sử dụng mà việc kiểm tra ban đầu và kiểm tra thường xuyên khó nhận biết được. Từ đó có biện pháp xử lý sớm nhằm duy trì tuổi thọ công trình.
Chủ công trình cần cùng với người thiết kế xác định chu kỳ kiểm tra định kỳ trước khi đưa kết cấu vào sử dụng. Quy mô kiểm tra của mỗi kỳ sẽ tùy theo trạng thái cụ thể của kết cấu và điều kiện tài chính để quyết định.
5.5.2. Biện pháp kiểm tra định kỳ
Kiểm tra định kỳ được tiến hành trên toàn bộ kết cấu. Đối với các kết cấu quá lớn thì có thể phân khu kiểm tra định kỳ, mỗi khu vực kiểm tra một kỳ.
Chủ công trình có thể mời các đơn vị và chuyên gia tư vấn có chuyên môn thuộc chuyên ngành xây dựng và có tay nghề thích hợp để thực hiện việc kiểm tra định kỳ.
Đầu tiên kết cấu được khảo sát trực quan bằng nhìn và gõ nghe. Khi nghi ngờ có hư hỏng hoặc suy thoái chất lượng thì có thể sử dụng thiết bị thử nghiệm không phá hủy hoặc khoan lõi bê tông để kiểm tra.
5.5.3. Quy định về chu kỳ kiểm tra
Chu kỳ kiểm tra định kỳ kết cấu được quy định như sau:
- Công trình đặc biệt quan trọng từ 2 đến 3 năm;
- Công trình thường xuyên có rất đông người làm việc hoặc qua lại từ 3 đến 5 năm;
- Công trình công nghiệp và dân dụng khác từ 5 đến 10 năm;
- Công trình thường xuyên chịu ăn mòn khí hậu biển và ăn mòn hóa chất từ 1 đến 2 năm.
5.5.4. Nội dung kiểm tra định kỳ
Kiểm tra định kỳ được tiến hành theo trình tự nội dung giống như của kiểm tra ban đầu nêu trong 5.3.3.
5.5.5. Ghi chép và lưu giữ hồ sơ
Toàn bộ kết quả thực hiện kiểm tra định kỳ cần ghi chép và lưu giữ theo chỉ dẫn ở 5.3.4.
5.6. Kiểm tra bất thường
5.6.1. Nguyên tắc chung
Kiểm tra bất thường được tiến hành khi kết cấu có dấu hiệu hư hỏng do tác động đột ngột của các yếu tố như bão, lũ lụt, động đất, trượt lở đất, va chạm với tàu xe, cháy…
Yêu cầu của kiểm tra bất thường là nắm bắt được hiện trạng hư hỏng của kết cấu, và đưa ra kết luận về yêu cầu sửa chữa.
Chủ công trình có thể tự kiểm tra bất thường hoặc thuê một đơn vị hoặc chuyên gia có năng lực phù hợp để thực hiện.
5.6.2. Biện pháp kiểm tra bất thường
Kiểm tra bất thường được thực hiện trên toàn bộ hoặc một bộ phận kết cấu tùy theo quy mô hư hỏng đã xảy ra và yêu cầu sửa chữa của chủ công trình.
Kiểm tra bất thường được thực hiện chủ yếu bằng quan sát trực quan, gõ nghe. Khi cần có thể dùng các công cụ đơn giản như thước mét, quả dọi…
Người thực hiện kiểm tra bất thường cần đưa ra được kết luận có cần kiểm tra chi tiết hay không. Nếu không thì đề ra ngay giải pháp sửa chữa phục hồi kết cấu. Nếu cần thì tiến hành kiểm tra chi tiết và đề ra giải pháp sửa chữa.
5.6.3. Nội dung kiểm tra bất thường
Kiểm tra bất thường bao gồm những công việc sau đây:
5.6.3.1. Khảo sát bằng trực quan, gõ nghe và dùng một số công cụ đơn giản để nhận biết ban đầu về tình trạng hư hỏng của kết cấu. Các hư hỏng sau đây cần được nhận biết:
- Sai lệch hình học kết cấu;
- Mức nghiêng lún;
- Mức nứt, gãy;
- Các khuyết tật nhìn thấy khác;
- Tình trạng hệ thống theo dõi lâu dài (nếu có).
5.6.3.2. Phân tích các số liệu phải khảo sát để đi đến kết luận có tiến hành kiểm tra chi tiết hay không, quy mô kiểm tra chi tiết. Nếu cần kiểm tra chi tiết thì thực hiện theo chỉ dẫn ở 5.8. Nếu không thì đề ra giải pháp sửa chữa để phục hồi kết cấu kịp thời.
Đối với những hư hỏng có nguy cơ gây nguy hiểm cho người và công trình xung quanh thì phải có biện pháp xử lý khẩn cấp trước khi tiến hành kiểm tra chi tiết và đề ra giải pháp sửa chữa.
5.6.3.3. Thực hiện sửa chữa
Quá trình sửa chữa kết cấu bị hư hỏng bất thường được thực hiện theo chỉ dẫn ở 5.8.3.5.
5.6.4. Ghi chép và lưu giữ hồ sơ
Mọi diễn biến công việc ghi trong 5.6.3 cần được ghi chép và lưu giữ.
Hồ sơ lưu trữ gồm có: Kết quả khảo sát, phân tích đánh giá, thuyết minh giải pháp sửa chữa hoặc gia cường, nhật ký thi công, các biên bản kiểm tra, các bản vẽ. Các tài liệu này cần được chủ công trình lưu giữ lâu dài cùng với hồ sơ của các đợt kiểm tra trước đây.
5.7. Theo dõi
5.7.1. Nguyên tắc chung
Hệ thống theo dõi cần được đặt cho những công trình quan trọng, có ý nghĩa lớn về kinh tế, chính trị và an toàn sinh mạng đối với nhiều người (Bảng 1).
Chủ công trình và người thiết kế cần xác định mức yêu cầu trang bị hệ thống theo dõi, lựa chọn thiết bị, thiết kế lắp đặt và hướng dẫn thi công.
Trước khi đưa công trình vào hoạt động, cần phải vận hành thử hệ thống theo dõi để chứng tỏ rằng hệ thống đang hoạt động bình thường. Lần đo đầu tiên được tiến hành càng sớm càng tốt, có thể trước thời gian kiểm tra ban đầu.
Chủ công trình cần có lực lượng thường xuyên kiểm tra hoạt động của hệ thống, theo dõi và quản lý các số liệu đo.
5.7.2. Đặt hệ thống theo dõi
Hệ thống theo dõi được đặt ở những vị trí kết cấu dễ nhạy cảm với những vấn đề mà người thiết kế yêu cầu. Những vị trí cần đặt các chi tiết của hệ thống theo dõi có thể xác định theo 5.4.2.2.
Các chi tiết của hệ thống theo dõi được đặt từ trong giai đoạn thi công và phải được bảo quản để không bị hư hỏng do tác động cơ học và thời tiết.
5.7.3. Vận hành hệ thống theo dõi
Hệ thống theo dõi được tự động ghi chép số liệu đo theo chu kỳ mà người thiết kế và chủ công trình yêu cầu. Sự hỗ trợ của cán bộ chuyên môn trong quá trình vận hành hệ thống và đo đạc là rất quan trọng.
Hệ thống theo dõi cần được thường xuyên kiểm tra để đảm bảo luôn hoạt động bình thường. Các số liệu đo của hệ thống cần được xử lý kịp thời cùng với các số liệu kiểm tra thường xuyên và kiểm tra định kỳ để có những tác động thích hợp trước khi sự xuống cấp của kết cấu trở nên nguy hại đến sự an toàn và công năng của kết cấu.
5.7.4. Lưu giữ số liệu đo
Số liệu đo của hệ thống sau khi được xử lý cần được lưu giữ lâu dài.
Chủ công trình lưu giữ các số liệu đo này cùng với các số liệu kiểm tra khác.
5.8. Yêu cầu đối với kiểm tra chi tiết
5.8.1. Nguyên tắc chung
Kiểm tra chi tiết được thực hiện sau khi qua các kiểm tra ban đầu, kiểm tra thường xuyên, kiểm tra định kỳ, kiểm tra bất thường thấy là có yêu cầu cần phải kiểm tra kỹ kết cấu để đánh giá mức độ xuống cấp và đề ra giải pháp sửa chữa.
Chủ công trình có thể tự thực hiện hoặc thuê các đơn vị và cá nhân chuyên gia có năng lực phù hợp để thực hiện kiểm tra chi tiết.
5.8.2. Biện pháp kiểm tra chi tiết
Kiểm tra chi tiết được tiến hành trên toàn bộ kết cấu hoặc một bộ phận kết cấu tùy theo quy mô hư hỏng của kết cấu và mức yêu cầu phải kiểm tra.
Người kiểm tra cần nhận biết trước đặc điểm nổi bật của xuống cấp để có hướng trọng tâm cho việc kiểm tra chi tiết.
Kiểm tra chi tiết được thực hiện bằng các thiết bị thí nghiệm chuyên dùng để đánh giá lượng hóa chất lượng vật liệu sử dụng và mức xuống cấp của kết cấu. Phương pháp thí nghiệm cần được thực hiện theo các tiêu chuẩn và quy phạm hiện hành.
Người thực hiện kiểm tra chi tiết phải có phương án thực hiện bao gồm quy mô kiểm tra, mức kết quả kiểm tra cần đạt, thời gian và kinh phí thực hiện. Phương án này phải được chủ công trình chấp nhận trước khi thực hiện.
5.8.3. Nội dung kiểm tra chi tiết
Kiểm tra chi tiết cần có những nội dung sau đây:
5.8.3.1. Khảo sát chi tiết toàn bộ hoặc bộ phận hư hỏng của kết cấu
Yêu cầu của khảo sát là phải thu được các số liệu lượng hóa về tình trạng hư hỏng của kết cấu. Cụ thể là lượng hóa bằng số liệu và bằng ảnh những vấn đề sau đây:
- Sai lệch hình học kết cấu và chi tiết kết cấu;
- Mức biến dạng kết cấu;
- Mức nghiêng, lún;
- Vết nứt (mật độ, chiều rộng, chiều dài, chiều sâu và hướng vết nứt);
- Vết gãy (đặc điểm, vị trí, mức nguy hiểm);
- Ăn mòn cốt thép (mật độ rỉ, mức độ rỉ, tổn thất tiết diện cốt thép);
- Ăn mòn bê tông (ăn mòn xâm thực, ăn mòn cácbônát, mức độ ăn mòn, chiều sâu xâm thực vào kết cấu, độ nhiễm hóa chất,…);
- Chất lượng bê tông (cường độ, độ đặc chắc, bong rộp);
- Biến màu mặt ngoài;
- Các khuyết tật nhìn thấy;
- Sự đảm bảo công năng kết cấu (chống thấm, cách âm, cách nhiệt…);
- Tình trạng làm việc của hệ thống theo dõi lâu dài (nếu có). Số liệu đo của hệ thống tại thời điểm kiểm tra chi tiết.
CHÚ THÍCH: Các số liệu lượng hóa nêu trên đều phải được xác định trên cơ sở các tiêu chuẩn phương pháp thử hiện hành trong nước hoặc quốc tế.
5.8.3.2. Phân tích cơ chế xuống cấp của kết cấu
Trên cơ sở các số liệu khảo sát nêu trên và các kết quả kiểm tra hồ sơ lưu trữ công trình, cần phân tích, xác định cơ chế tạo nên mỗi loại hư hỏng. Có thể quy nạp một số dạng cơ chế điển hình sau đây:
- Nứt gãy kết cấu: do vượt tải, biến dạng nhiệt ẩm, lún, chất lượng bê tông;
- Suy giảm cường độ bê tông: do độ đặc chắc bê tông, bảo dưỡng bê tông và tác động môi trường, xâm thực;
- Biến dạng hình học kết cấu: do vượt tải, tác động môi trường, độ cứng kết cấu;
- Rỉ cốt thép: do ăn mòn môi trường xâm thực, cacbônat hóa bề mặt bê tông, nứt bê tông, thấm nước;
- Biến màu bề mặt: do tác động môi trường;
- Thấm nước: do độ chặt bê tông, nứt kết cấu, mối nối.
5.8.3.3. Đánh giá mức độ xuống cấp của kết cấu
Trên cơ sở các số liệu kiểm tra và cơ chế xuống cấp đã phân tích, cần đánh giá xem kết cấu có cần sửa chữa hay không, và sửa chữa đến mức nào.
Cơ sở để đánh giá mức độ xuống cấp là các công năng của kết cấu được xem xét, theo chỉ dẫn ở 4.5.
5.8.3.4. Lựa chọn giải pháp sửa chữa hoặc gia cường
Giải pháp sửa chữa hoặc gia cường cần được lựa chọn trên cơ sở cơ chế xuống cấp đã được phân tích sáng tỏ. Giải pháp sửa chữa hoặc gia cường đề ra phải đạt được yêu cầu là khôi phục được bằng hoặc cao hơn công năng ban đầu của kết cấu và ngăn ngừa việc tiếp tục hình thành cơ chế xuống cấp sau khi sửa chữa.
Quy mô sửa chữa phụ thuộc vào tầm quan trọng của kết cấu, tuổi thọ còn lại của công trình, khả năng tài chính và yêu cầu của chủ công trình.
Chi tiết về phương pháp lựa chọn giải pháp sửa chữa xem hướng dẫn ở Điều 6.
5.8.3.5. Thực hiện sửa chữa hoặc gia cường
Chủ công trình có thể tự thực hiện sửa chữa, gia cường hoặc chọn một đơn vị có năng lực phù hợp để thực hiện.
Đơn vị thực hiện sửa chữa hoặc gia cường cần có kế hoạch chủ động về vật tư, nhân lực, tiến bộ và biện pháp thi công, giám sát chất lượng trước khi bắt đầu thi công.
Việc sửa chữa hoặc gia cường phải đảm bảo ảnh hưởng ít nhất đến môi trường xung quanh và đến người sử dụng. Những thí nghiệm kiểm tra chất lượng cần thiết phải được thực hiện trong quá trình thi công.
Mọi diễn biến của công tác sửa chữa hoặc gia cường phải được ghi vào sổ nhật ký thi công và lưu giữ lâu dài.
5.8.4. Ghi chép và lưu giữ hồ sơ
Mọi diễn biến của công tác kiểm tra chi tiết nêu trong 5.8.3 đều phải được ghi chép đầy đủ dưới dạng biên bản, sổ nhật ký, bản vẽ để lưu giữ lâu dài.
Chủ công trình lưu giữ hồ sơ kiểm tra chi tiết bao gồm: kết quả khảo sát, phân tích đánh giá, thuyết minh giải pháp sửa chữa hoặc gia cường, nhật ký thi công, các bản vẽ, các biên bản kiểm tra. Các hồ sơ này cần được lưu giữ lâu dài cùng với các hồ sơ của các đợt kiểm tra trước đây.
6. Sửa chữa kết cấu
Điều này hướng dẫn công tác sửa chữa kết cấu theo quy trình nêu ở Điều 4 và Điều 5.
6.1. Sửa chữa kết cấu hư hỏng do các nguyên nhân thuộc về thiết kế
6.1.1. Nguyên tắc chung
Mục này hướng dẫn phương pháp kiểm tra chi tiết, xác định cơ chế và mức độ xuống cấp, sửa chữa và gia cường các kết cấu bê tông cốt thép bị hư hỏng do các nguyên nhân thuộc về thiết kế, thi công và sử dụng công trình, trong đó chủ yếu đề cập tới các vấn đề như: tải trọng tác động, khả năng chịu lực và khả năng sử dụng bình thường của kết cấu từ khi xây dựng và trong suốt quá trình khai thác. Trước khi sửa chữa và gia cường kết cấu cần tiến hành kiểm tra chi tiết, đánh giá mức độ và phân tích cơ chế và nguyên nhân gây hư hỏng công trình. Tải trọng ở đây chỉ giới hạn trong các tác động thông thường tác dụng lên công trình.
Có ba loại hư hỏng công trình do các nguyên nhân thuộc về kết cấu và tải trọng bao gồm:
- Nứt kết cấu;
- Biến dạng vượt quá giới hạn cho phép của công trình do độ cứng của kết cấu hoặc do công nghệ thi công không đảm bảo;
- Khả năng chịu lực của kết cấu hoặc cấu kiện không đủ, tuy chưa gây ra nứt nghiêm trọng hay phá hoại kết cấu, nhưng để lại khuyết tật bên trong cần phải gia cường.
Hư hỏng và sửa chữa hư hỏng công trình do lún nền móng được trình bày trong 6.2.
6.1.2. Kiểm tra chi tiết
Kiểm tra chi tiết được tiến hành nhằm xác định cơ chế và mức độ hư hỏng kết cấu trước khi đưa ra giải pháp sửa chữa hoặc gia cường.
Kiểm tra chi tiết được tiến hành với những công việc sau đây:
6.1.2.1. Khảo sát hiện trạng nứt kết cấu
6.1.2.1.1. Giới hạn bề rộng khe nứt
Giới hạn bề rộng khe nứt trong kết cấu bê tông là một trong các chỉ số công năng quan trọng để đánh giá khả năng sử dụng bình thường của kết cấu. Giới hạn bề rộng khe nứt được qui định trong TCVN 5574:1991 tùy thuộc vào điều kiện làm việc của kết cấu và loại cốt thép sử dụng.
6.1.2.1.2. Khảo sát nứt
Cần làm sáng tỏ những vấn đề sau đây:
- Vị trí, và đặc trưng phân bố vết nứt;
- Phương và hình dạng vết nứt;
- Kích thước vết nứt (bề rộng, chiều dài và độ sâu);
- Thời điểm xuất hiện vết nứt;
- Sự phát triển của vết nứt theo thời gian;
- Các đặc trưng khác như bê tông bị bong rộp, bị nén vỡ…
Việc khảo sát nứt có thể phải tiến hành trong thời gian tương đối lâu, theo chu kỳ để xác định xem hiện tượng nứt của kết cấu đã ổn định hay còn đang phát triển.
6.1.2.1.3. Đặc trưng và cơ chế hình thành vết nứt do tải trọng
a) Vị trí và đặc trưng phân bố vết nứt
Các vết nứt thường xuất hiện ở các vùng dự đoán có ứng suất kéo lớn nhất trong kết cấu/cấu kiện.
Đối với dầm đơn giản và dầm liên tục, các vết nứt vuông góc với trục dầm thường phát triển ở phần dưới của giữa nhịp hoặc phần trên gần gối đỡ. Các vết nứt xiên ở gần gối đỡ hoặc ở gần điểm đặt tải trọng tập trung. Trong một số trường hợp, có thể có các vết nứt xuất hiện ở vùng chịu nén gần nơi có mô-men uốn lớn nhất của dầm. Một số dạng vết nứt được thể hiện ở Hình 2.
b) Hình dạng vết nứt
Vết nứt do kéo gây ra thường vuông góc với ứng suất pháp, như chiều vết nứt chịu kéo của dầm chịu uốn luôn vuông góc với trục dầm, phía dưới rộng, phía trên nhỏ.
Vết nứt do cắt ở gần gối, thường xiên 450 phát triển lên phía trên và hướng vào giữa dầm (Hình 3 và Hình 4).

CHÚ DẪN:
1 Trục dầm
2 Vết nứt do nén uốn (nén vỡ)
Hình 2 - Vết nứt do uốn

CHÚ DẪN:
1 Lực tác dụng
2 Vết nứt do uốn cắt
|
Hình 3 - Vết nứt do cắt |
Hình 4 - Vết nứt do uốn cắt (dầm liên tục) |
Vết nứt do lực nén gây ra thường song song với chiều của lực nén, phần lớn hình dạng của vết nứt là hai đầu nhỏ, ở giữa rộng (Hình 5).

CHÚ DẪN:
1 Lực dọc
2 Vết nứt do nén quá tải
Hình 5 - Vết nứt do nén (cột, quá tải)
Vết nứt do mô-men xoắn gây ra có hình xoắn ốc xiên, bề rộng của khe nứt thường không thay đổi lớn.
Vết nứt do xung lực (lực va đập) thường phát triển xiên 450 với chiều của xung lực.
Vết nứt do lún nền móng: Đối với kết cấu bê tông cốt thép, các vết nứt do biến dạng nền thường xuất hiện tập trung ở khu vực có độ cong tương đối lớn của đường cong lún. Chiều của vết nứt vuông góc với chiều của ứng suất kéo chính do biến dạng nền sinh ra. Đối với dầm và sàn, các vết nứt do lún thường là các vết nứt thẳng góc với trục dầm và sàn. Khi bị lún lệch hay lún ảnh hưởng của công trình lân cận, thường xuất hiện các vết nứt xiên ở dầm (gần liên kết dầm-cột), các vết nứt chéo góc 450 (trên mặt bằng sàn) ở các góc sàn.
c) Kích thước của vết nứt
Vết nứt xuất hiện trong giai đoạn sử dụng bình thường của kết cấu nói chung bề rộng khe nứt không lớn. Bề rộng khe nứt giảm dần từ mặt ngoài kết cấu vào bên trong (chiều sâu) của bê tông.
Khi kết cấu vượt tải nghiêm trọng hoặc đạt tới trạng thái giới hạn thì bề rộng khe nứt thường tương đối lớn, vượt quá giới hạn qui định trong TCVN 5574:1991.
Tuy nhiên, đối với các vết nứt do lực nén dọc trục sinh ra, bề rộng khe nứt không lớn, có thể nhỏ hơn giới hạn qui định trong TCVN 5574:1991, nhưng vẫn là dấu hiệu của kết cấu tới gần trạng thái giới hạn, cần phải hết sức chú ý khi khảo sát và đánh giá.
d) Thời điểm xuất hiện vết nứt
Vết nứt thường xuất hiện khi tải trọng đột ngột tăng lên, ví dụ: khi tháo dỡ cốp-pha, lắp đặt thiết bị, khi cho kết cấu chịu tải và chịu vượt tải. Trong kết cấu có thể xuất hiện các vết nứt khi bị lún không đều vượt qua giới hạn cho phép. Thời điểm xuất hiện vết nứt không nhất thiết là thời điểm sinh ra nứt.
e) Sự phát triển vết nứt
Vết nứt thường phát triển theo sự gia tăng của tải trọng và thời gian tác động kéo dài của tải trọng cũng như sự gia tăng độ lún.
6.1.2.1.4. Dấu hiệu nứt nguy hiểm
Các dấu hiệu sau là các dấu hiệu nứt nguy hiểm ảnh hưởng nghiêm trọng đến độ an toàn của kết cấu nếu không có các biện pháp xử lý thích hợp.
a) Đối với dầm
Ở giữa nhịp dầm: phía dưới xuất hiện các vết nứt theo phương vuông góc với trục dầm, phát triển tới hơn hai phần ba chiều cao dầm hoặc ở phía trên (vùng chịu nén) xuất hiện nhiều vết nứt song song với trục dầm nhìn rõ bằng mắt thường, lớp bê tông bảo vệ bị bong rộp, mặt dưới có thêm các vết nứt đứng (theo phương vuông góc với trục dầm).
Gần gối dầm xuất hiện các vết nứt xiên nhìn rõ, đây là các vết nứt rất nguy hiểm. Khi vết nứt kéo dài tới trên một phần ba chiều cao dầm, hoặc khi đồng thời với các vết nứt xiên, ở vùng chịu nén còn xuất hiện các vết nứt song song với trục dầm thì có thể làm cho dầm phá hoại vì nứt gãy. Trong trường hợp cốt đai bố trí quá ít, tỉ số giữa khoảng cách từ điểm đặt tải trọng tập trung đến gối tựa và chiều cao hữu dụng của dầm lớn hơn 3, nếu xuất hiện các vết nứt xiên, ứng suất trong cốt đai sẽ tăng nhanh đạt tới cường độ chảy, vết nứt xiên phát triển rất nhanh làm dầm nứt thành hai phần và bị phá hoại.
Phía trên gần gối dầm liên tục xuất hiện các vết nứt theo phương song song với trục dầm quan sát được bằng mắt thường, phía dưới kéo dài tới 1/3 chiều cao dầm, hoặc phía trên xuất hiện các vết nứt đứng, đồng thời phía dưới xuất hiện các vết nứt ngang.
Gần đầu ngàm của các công-xôn có các vết nứt đứng hoặc các vết nứt xiên nhìn rõ.
b) Đối với bản sàn
Xuất hiện các vết nứt ngang thẳng góc với cốt thép chủ chịu kéo, đồng thời xuyên sâu tới vùng chịu nén.
Phía trên gần đầu ngàm của bản công-xôn xuất hiện các vết nứt nhìn rõ, vuông góc với cốt thép chủ chịu kéo.
Xung quanh phía trên của sàn đổ tại chỗ có vết nứt rõ rệt, hoặc phía dưới có những vết nứt đan nhau.
Dấu hiệu chọc thủng sàn đối với sàn phẳng gối lên cột.
c) Đối với cột
Xuất hiện vết nứt, một phần lớp bê tông bảo vệ bị bong rộp, lộ cốt thép chịu lực.
Một bên sinh ra vết nứt ngang nhìn thấy được bằng mắt thường, phía bên kia bê tông bị nén vỡ, lộ cốt thép chịu lực.
Xuất hiện các vết nứt đan nhau rõ rệt.
d) Đối với tường
Ở phần giữa của tường sinh ra các vết nứt đan nhau rõ rệt, hoặc có thêm lớp bảo vệ bị bong rộp.
e) Đối với nút khung
Các vết nứt đứng, xiên hoặc các vết nứt đan nhau xuất hiện ở nút khung hoặc khu vực gần nút khung.
6.1.2.2. Khảo sát biến dạng của kết cấu
Biến dạng của kết cấu bao gồm độ võng, góc xoay, góc trượt, biên độ dao động. Tuy nhiên, biến dạng kết cấu cần phải khảo sát chủ yếu là độ võng. Độ võng của kết cấu và cấu kiện thường liên quan với sự phát triển vết nứt trong kết cấu và cấu kiện.
6.1.2.1.1. Đo độ võng
Đối với các kết cấu nhịp lớn và trong một số trường hợp có yêu cầu, có thể phải tiến hành đo độ võng/chuyển vị khi cho kết cấu chịu tải (xe chạy qua, máy móc hoạt động, si-lô chứa đầy xi-măng, bể chứa đầy nước…) hoặc chất tải.
Việc chất tải thông thường có thể tiến hành ít nhất theo 4 cấp tương ứng với 25; 50; 75; 100% tổng giá trị tiêu chuẩn của hoạt tải và các tải trọng khác khả dĩ tác dụng lên kết cấu.
Sau mỗi cấp chất tải, giữ tải 60 min, đọc số liệu của các đồng hồ đo độ võng/chuyển vị tại các vị trí cần theo dõi.
Sau khi chất toàn bộ tải, đo độ võng/chuyển vị tại các vị trí cần thiết trên kết cấu. Sau đó giữ tải tối thiểu trong vòng 24 h. Đo tiếp độ võng/chuyển vị sau khi đã giữ tải được 24 h.
Dỡ toàn bộ tải ra khỏi kết cấu theo hai cấp 50% và 100% tải, đọc số đo chuyển vị. Sau 24h, đọc số đo một lần nữa.
6.1.2.1.2. Giới hạn của biến dạng (độ võng)
Giới hạn của biến dạng (độ võng) được quy định trong TCVN 5574:1991. Có thể đo độ võng của kết cấu từ khi bắt đầu cho kết cấu chịu tải (0%) cho đến khi chịu đủ tải qui định (100%), độ võng ban đầu có thể ngoại suy từ độ võng đo được khi chất tải với giả thiết sự đối xử của kết cấu ở giai đoạn trước khi chất tải nằm trong giai đoạn đàn hồi.
6.1.2.3. Khảo sát hiện trạng của kết cấu
Khi có yêu cầu khảo sát hiện trạng kết cấu, việc khảo sát sẽ bao gồm:
- Kích thước và bố trí thực tế của các kết cấu, cấu kiện;
- Cấu tạo thực tế của các liên kết, gối tựa;
- Vị trí và khoảng cách cốt thép chịu lực tại một số vị trí cần khảo sát;
Chiều dày lớp bê tông bảo vệ
Trong một số trường hợp phải đục lớp bê tông bảo vệ để xác định khoảng cách, số lượng và đường kính cốt thép.
6.1.2.4. Xác định cường độ thực tế của bê tông cốt thép trong kết cấu
Lấy mẫu tiến hành thí nghiệm phá hoại trong phòng thí nghiệm tham khảo theo TCXDVN 239:2006, hoặc kiểm nghiệm cường độ thực tế của bê tông bằng các phương pháp kiểm tra không phá hoại như súng bật nẩy, sóng siêu âm theo TCVN 9334:2012 và TCXD 9357:2012;
Kiểm tra chứng chỉ về cường độ của cốt thép đã sử dụng khi thi công phù hợp theo TCVN 197:2002.
6.1.2.5. Nghiên cứu và kiểm tra hồ sơ thiết kế
Mục đích của công tác này nhằm xác định hay loại trừ nguyên nhân gây hư hỏng do thiết kế, hiểu rõ sơ đồ chịu lực kết cấu, lựa chọn và quyết định biện pháp sửa chữa gia cường sau này.
Các nội dung bao gồm:
- Kiểm tra các bản vẽ thiết kế dùng để thi công và bản vẽ hoàn công công trình;
- Kiểm tra tính hợp lý của giải pháp thiết kế;
- Kiểm tra sơ đồ và kết quả tính toán kết cấu, cần thiết có thể tính toán lại kết cấu.
6.1.2.6. Khảo sát tình hình thi công
Trong quá trình khảo sát tình hình thi công, phương pháp thi công và lịch trình công việc đã sử dụng được nghiên cứu kỹ để phát hiện những sai sót thi công và các lỗi khác.
Công việc khảo sát gồm có:
- Phương pháp thi công;
- Sự chấp hành các yêu cầu, trình tự và tiến bộ thi công được qui định trong hồ sơ thiết kế và các qui phạm thi công khác, sự gián đoạn/chậm trễ trong thi công, thi công nhanh bỏ qua qui trình..;
- Trong một số trường hợp cần thống kê phân tích các trị số tải trọng do thi công;
- Nghiên cứu kiểm tra các biên bản kiểm tra chất lượng và chứng chỉ thí nghiệm vật liệu, bê tông và cốt thép.
6.1.2.7. Khảo sát tải trọng và tác động
Khảo sát, điều tra tất cả các loại tải trọng và tác động có thể tác dụng lên kết cấu trong suốt thời gian thi công và sử dụng công trình. Nội dung, chủ yếu bao gồm điều tra và phân tích các tải trọng và hiệu ứng (nội lực/ứng suất, biến dạng/độ võng) của các tải trọng này tác dụng lên kết cấu, và tổ hợp của tải trọng. Khi có nghi ngờ về sự vượt tải trọng, tiến hành đo thực tế trị số của tải trọng tác dụng lên công trình.
6.1.2.8. Thí nghiệm tải trọng
Khi có yêu cầu, có thể tiến hành thí nghiệm tải trọng hiện trường bằng phương pháp chất tải. Việc thí nghiệm tải trọng hiện trường được thực hiện dựa vào thiết kế hoặc yêu cầu sử dụng, nhằm kiểm tra sức chịu tải, khả năng chống nứt, biến dạng và độ võng thực tế. Qui trình thí nghiệm tải trọng có thể tham khảo tiêu chuẩn bê tông Hoa kỳ: ACI 318-2002 (chương 20).
6.1.3. Đánh giá mức độ hư hỏng và lựa chọn biện pháp sửa chữa kết cấu
6.1.3.1. Kiểm tra, đánh giá công năng và mức độ hư hỏng của kết cấu
6.1.3.1.1. Kiểm tra độ an toàn (về khả năng chịu lực)
Độ an toàn hay khả năng chịu lực của kết cấu được xem là không đảm bảo khi một trong các chỉ tiêu sau đây xảy ra:
a) Chỉ số công năng về an toàn (xem 4.5.3) (Ptt/Pyc) lớn hơn 1 hay khả năng chịu lực của kết cấu không đảm bảo theo qui định trong tiêu chuẩn TCVN 5574: 1991.
(Ptt/Pyc) > 1 (1)
Trong đó:
Pyc là giá trị nguy hiểm có thể xảy ra của từng nội lực hoặc do tác dụng đồng thời của một số nội lực;
Ptt là khả năng chịu lực (ứng với tác dụng P) của tiết diện đang xét của kết cấu khi tiết diện chịu lực đạt tới trạng thái giới hạn.
Giá trị Pyc xác định theo tải trọng (thực tế hoặc theo thiết kế) tính toán và được chọn trong các tổ hợp nội lực ứng với các trường hợp nguy hiểm đối với sự làm việc của kết cấu, xét cả về trị số và cả về phương chiều của nội lực.
Giá trị Ptt được xác định theo đặc trưng hình học (thực tế hoặc theo thiết kế) của tiết diện và đặc trưng cường độ (thực tế hoặc theo thiết kế) tính toán của vật liệu. Các biểu thức tính Ptt cũng như việc cụ thể hóa điều kiện (1) được trình bày trong Điều 3 của TCVN 5574:1991.
b) Việc khảo sát, phân tích khẳng định là có hiện tượng nén nứt: bêtông bị nén vỡ, lớp bảo vệ bị bong rộp.
c) Vết nứt phát triển không có dấu hiệu ổn định.
d) Vết nứt ảnh hưởng lớn đến độ cứng và tính tổng thể (toàn khối) của kết cấu.
e) Các vết nứt nguy hiểm như trình bày trong 6.1.2.1.4.
6.1.3.1.2. Kiểm tra khả năng sử dụng bình thường
Kết cấu được coi là mất khả năng sử dụng bình thường khi một trong các chỉ tiêu sau đây xảy ra:
a) Chỉ số công năng về nứt kết cấu (att/ayc) lớn hơn 1 (hay bề rộng khe nứt vượt quá giới hạn qui định trong TCVN 5574:1991):
(att/ayc) > 1 (2)
Trong đó:
att là bề rộng khe nứt (tính toán theo lý thuyết hoặc đo thực tế) của bê tông ở vị trí ngang mức cốt thép chịu kéo;
ayc là bề rộng giới hạn của khe nứt xác định theo TCVN 5574:1991.
b) Chỉ số công năng về biến dạng của kết cấu (ftt/fyc) lớn hơn 1 (hay biến dạng vượt quá giới hạn cho phép trong TCVN 5574:1991):
(ftt/fyc) > 1 (3)
Trong đó:
ftt là biến dạng của kết cấu (độ võng, góc xoay, góc trượt, biên độ dao động) do tải trọng tiêu chuẩn gây ra;
fyc là trị số giới hạn của biến dạng cho trong TCVN 5574:1991.
c) Mất tính năng chống thấm
Có thấm ẩm hoặc thấm chảy dòng.
d) Mật độ nứt cao, gây lo sợ cho người sử dụng.
6.1.3.2. Xử lý kết cấu phải căn cứ vào cơ chế
Xác định nguyên nhân hay nguyên nhân gây hư hỏng kết cấu để ngăn chặn hay loại trừ hiện tượng nứt, võng quá giới hạn cho phép.
Các nguyên nhân gây nứt và hư hỏng kết cấu có thể là:
6.1.3.2.1. Sai sót trong thiết kế kết cấu
- Mặt cắt tiết diện kết cấu/cấu kiện quá nhỏ, không khống chế được yêu cầu về võng, nứt hay ổn định
- Diện tích cốt thép chịu kéo nhỏ, bỏ qua hay xem nhẹ yêu cầu chống nứt và khống chế độ võng khi tính toán thiết kế.
- Diện tích mặt cắt bê tông bé, nhưng bố trí nhiều cốt thép làm cho vùng chịu nén bị nứt vỡ khi chịu tải trọng cực hạn.
- Bỏ qua hay không xét đến một số trường hợp tải trọng có khả năng xuất hiện trong quá trình sử dụng công trình.
- Xem nhẹ các giải pháp cấu tạo qui định trong các tiêu chuẩn thuộc lĩnh vực bê tông cốt thép.
6.1.3.2.2. Công nghệ thi công không tốt
- Chất lượng vật liệu không đảm bảo, cấp phối bê tông không đạt yêu cầu.
- Ván khuôn bị biến dạng, cây chống ván khuôn bị lún, dẫn đến kết cấu bị võng và lún trước khi chịu tải.
- Trình tự đổ bê tông không tốt, tốc độ đổ bê tông quá nhanh, không xem xét đến điều kiện thời tiết khi thi công, xuất hiện khe nứt trong khi thi công nhưng không xử lý, bảo dưỡng kém (như hiện tượng nứt trong các bể chứa loại lớn).
- Lớp bảo vệ cốt thép quá lớn hoặc quá nhỏ.
- Gia tải quá sớm hoặc vượt tải khi thi công (có thể sinh ra nứt hoặc sập đổ kết cấu).
- Công nghệ trượt ván khuôn không tốt.
- Sai sót trong bố trí cốt thép theo mặt cắt tiết diện kết cấu (ví dụ, nhầm tiết diện cột tầng 6 xuống tầng 4).
- Bê tông không đạt cường độ qui định.
- Và các nguyên nhân khác.
6.1.3.2.3. Vượt tải
- Vượt tải do sử dụng sai công năng.
- Vượt tải do cơi nới cải tạo thêm
- Vượt tải do có các trường hợp tải trọng không qui định trong tiêu chuẩn hay vượt quá giá trị qui định trong tiêu chuẩn, qui phạm (đặc biệt đối với các công trình công nghiệp hay các công trình đặc biệt khác).
6.1.3.2.4. Công trình bị lún không đều
6.1.3.3. Lựa chọn giải pháp sửa chữa hoặc gia cường
Quyết định biện pháp xử lý kết cấu phải bắt đầu từ phân tích, đánh giá mức độ nguy hiểm và nguyên nhân gây nứt, võng công trình. Cần phân rõ ranh giới các vết nứt cần phải sửa chữa gia cường hay không cần phải xử lý.
Nắm vững nguyên tắc sửa chữa, gia cường, chọn biện pháp, thời gian, tiến độ và giá thành thi công một cách hợp lý là những điều căn bản của sửa chữa, gia cường nhằm đảm bảo tuổi thọ và công năng sử dụng lâu dài của kết cấu.
6.1.4. Thiết kế sửa chữa gia cường kết cấu
6.1.4.1. Nguyên tắc chung
Khi kết quả khảo sát, đánh giá khẳng định rằng kết cấu không đảm bảo an toàn hoặc khả năng làm việc bình thường theo 6.1.3 thì bắt buộc phải sửa chữa hay gia cường kết cấu.
Công tác sửa chữa, gia cường có thể tiến hành cho toàn bộ công trình hoặc chỉ tại những vị trí hay cấu kiện được chỉ định, nhưng phải tôn trọng các nguyên tắc sau:
- Xác định đúng mức độ và nguyên nhân của hư hỏng. Đối với các hư hỏng chưa rõ mức độ và nguyên nhân, có thể theo dõi và khảo sát thêm, sau khi xác định đúng mức độ và nguyên nhân mới tiến hành sửa chữa hay gia cường.
- Làm rõ mục đích sửa chữa. Dựa vào tính chất của vết nứt, võng và yêu cầu sử dụng của công trình để xác định mục đích sửa chữa như: chỉ ngăn lại để bảo vệ hay gia cố để tăng cường.
- Đảm bảo an toàn cho kết cấu và người sử dụng trong thời gian khảo sát, trước khi và trong lúc sửa chữa hay gia cường công trình.
- Đáp ứng yêu cầu sử dụng.
- Đảm bảo độ bền lâu của vật liệu: bê tông và cốt thép.
- Tiến độ, tính khả thi và kinh tế của phương pháp.
- Đáp ứng yêu cầu thiết kế (về khả năng chịu lực), tuân theo các qui định của tiêu chuẩn kết cấu bê tông cốt thép hiện hành.
- Tiến hành kiểm tra công năng (công thức (1), (2) và (3)) và độ bền lâu (yêu cầu cấu tạo theo TCVN 5574:1991) theo giải pháp thiết kế sửa chữa hoặc gia cường.
6.1.4.2. Tính toán và thiết kế sửa chữa, gia cường
6.1.4.2.1. Thiết kế cần kết hợp chặt chẽ với biện pháp thi công.
6.1.4.2.2. Tải trọng và tác động tác dụng lên kết cấu được xác định theo các qui định của tiêu chuẩn tải trọng và tác động hiện hành. Tải trọng máy và công nghệ lấy theo số liệu cho bởi nhà cung cấp thiết bị và công nghệ. Khi phải đo thực tế tải trọng thì giá trị trung bình của tải trọng được tính trên số liệu đo tại ít nhất 5 vị trí, khi đó giá trị tiêu chuẩn của tải trọng có thể lấy bằng 1,1 lần giá trị trung bình nhận được.
6.1.4.2.3. Sơ đồ tính toán: sơ đồ tính toán kết cấu được xác định căn cứ vào sự tác động lên kết cấu hoặc yêu cầu chịu lực thực tế. Đối với kết cấu sửa chữa, gia cường (bao gồm kết cấu cũ và phần gia cường bổ sung), có thể có 2 trạng thái chịu lực sau:
a) Trạng thái 1: kết cấu cũ được tính toán chịu phần tĩnh tải và tải trọng thiết bị đã có tác dụng lên kết cấu trước khi sửa chữa. Các tải trọng này được giữ nguyên và tác dụng lên kết cấu trong suốt quá trình sửa chữa và sau sửa chữa;
b) Trạng thái 2: kết cấu sửa chữa, gia cường được tính toán chịu phần tĩnh tải thêm, phát sinh do sửa chữa, thiết bị đặt thêm, hoạt tải và tải trọng công nghệ.
Nội lực và ứng suất trong kết cấu cũ bằng tổng của 2 trạng thái 1 và 2. Biến dạng và ứng suất trong phần gia cường bổ sung chỉ do trạng thái 2 gây ra.
6.1.4.2.4. Tiết diện chịu lực của cấu kiện phải lấy thực tế có để ý đến đặc điểm chịu lực, biến dạng sau khi sửa chữa, gia cường và sự làm việc đồng thời giữa phần kết cấu cũ và mới.
6.1.4.2.5. Cần thiết phải kiểm tra lại khả năng chịu lực của các kết cấu hoặc bộ phận kết cấu có liên quan và nền móng công trình trong trường hợp tải trọng phát sinh do sửa chữa, gia cường là đáng kể.
6.1.5. Các phương pháp, kỹ thuật sửa chữa, gia cường
Phương pháp sửa chữa, gia cường kết cấu bê tông cốt thép có thể là:
6.1.5.1. Phương pháp sửa chữa đối với các vết nứt đã ổn định
6.1.5.1.1. Sửa chữa bề mặt
Phương pháp thường dùng là đục xung quanh vết nứt rồi trát phẳng, sơn chất kết dính epoxy, phun vữa xi măng hoặc bê tông đá nhỏ, dán vải sợi thủy tinh bằng mát-tit epoxy hoặc keo epoxy, tăng tính toàn khối của lớp mặt, neo nứt bằng bu-lông thép.
6.1.5.1.2. Sửa chữa cục bộ
Các phương pháp sử dụng là phương pháp đắp, phương pháp ứng suất trước, đục bỏ một phần bê tông để đổ lại.
6.1.5.1.3 Phun áp lực vữa xi măng
Là phương pháp phù hợp với các vết nứt ổn định có bề rộng khe nứt lớn hơn 0,5mm.
6.1.5.2. Giảm nội lực kết cấu
Phương pháp thường dùng có thể là giảm tải hoặc khống chế tải trọng sử dụng (ví dụ: ghi rõ hoạt tải của khu vực là 20 kPa tại các khu vực sử dụng), làm kết cấu giảm nội lực bằng cách tăng thêm gối tựa hoặc tăng thanh chống giảm khẩu độ của kết cấu.
6.1.5.3. Tăng cường kết cấu
Các phương pháp thường dùng là:
- Tăng tiết diện kết cấu (làm sàn dày thêm, tăng chiều cao dầm,…);
- Kỹ thuật bọc ngoài bằng bê tông;
- Kỹ thuật bọc ngoài bằng thép hình;
- Kỹ thuật gia cường dán bản thép hoặc bản composite;
- Tăng cường bằng hệ thống ứng suất trước căng ngoài.
6.1.5.4. Các phương pháp khác
Tháo dỡ làm lại, cải thiện điều kiện sử dụng kết cấu, thông qua thí nghiệm hoặc phân tích luận chứng để không tiến hành xử lí.
6.1.5.5. Phương pháp sửa chữa kết cấu bị nứt và xuống cấp do lún nền móng
Sửa chữa và gia cố nền, móng và gia cường kết cấu bên trên được qui định và chỉ dẫn ở 6.2. Sau khi đã hoàn thành biện pháp gia cường nền móng, đã giảm đáng kể ảnh hưởng của biến dạng nền đối với kết cấu bên trên, có thể áp dụng phương pháp (1) - phương pháp sửa chữa đối với các vết nứt đã ổn định - để sửa chữa kết cấu bị nứt và xuống cấp do lún nền móng. Trong một số trường hợp đặc biệt, khi mức độ hư hỏng của kết cấu là nguy hiểm mặc dù đã được xử lý nền móng nhưng cần thiết phải tăng cường kết cấu thì dùng phương pháp (3). Các phương pháp xử lý do tư vấn thiết kế (sửa chữa) lựa chọn căn cứ vào hiện trạng công trình, kết quả kiểm tra và yêu cầu sửa chữa của chủ công trình.
6.1.6. Phương pháp giảm nội lực kết cấu
Có 2 phương pháp giảm nội lực kết cấu là giảm tải trọng tác dụng lên kết cấu và tăng thêm gối đỡ.
6.1.6.1. Giảm tải trọng
a) Giảm nhẹ trọng lượng bản thân kết cấu như: thay tường gạch đặc bằng gạch rỗng, mái bằng bê tông cốt thép thay bằng khung thép nhẹ lợp tôn hoặc fibro ximăng, hoặc thay bê tông nặng bằng bê tông nhẹ…
b) Cải thiện điều kiện sử dụng công trình như: ngăn ngừa tích nước, thường xuyên quét bụi mái nhà xưởng…
c) Cải thiện công dụng của công trình để giảm tải như: chuyển phòng lưu trữ thành phòng làm việc, kho sách thành phòng đọc sách.
d) Dỡ tầng để giảm tải trọng tác dụng xuống cột và móng.
6.1.6.2. Tăng thêm gối đỡ
Trong các cấu kiện chịu uốn như dầm, sàn, việc tăng thêm cột mới (gối đỡ) là nhằm giảm khẩu độ, nội lực (mô men uốn, lực cắt), độ võng và bề rộng khe nứt trong kết cấu. Tuy nhiên, cần xem xét và tính toán lại việc bố trí cốt thép theo thiết kế gốc và theo thực tế khi sơ đồ tính có tăng thêm gối đỡ.
6.1.7. Phương pháp tăng tiết diện kết cấu
Việc gia cường bằng cách tăng tiết diện được thực hiện chủ yếu bằng cách đặt thêm cốt thép, đổ thêm bê tông để làm tăng khả năng chịu lực của kết cấu, cấu kiện. Lượng cốt thép đặt thêm, phần bê tông đổ thêm cần được xác định bằng tính toán. Cần có biện pháp thi công, biện pháp cấu tạo để đảm bảo sự làm việc đồng thời giữa vật liệu cũ và vật liệu mới.
6.1.8. Kỹ thuật gia cường bọc ngoài bằng bê tông
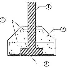
6.1.8.1. Kỹ thuật này thường dùng để gia cường các kết cấu chịu nén như cột nhà công nghiệp hay dân dụng một hoặc nhiều tầng.
Phương pháp này có 3 loại:
- Gia cường bọc xung quanh (Hình 6a);
- Gia cường 2 mặt (Hình 6b);
- Gia cường 3 mặt (Hình 6c);

CHÚ DẪN:
1 Cột cũ
2 Phần bê tông đục bỏ
3 Hàn với cốt đai cũ (hoặc với đinh neo)
4 Hàn nối chồng (hoặc hàn với đinh neo hoặc hàn với cốt đai cũ)
Hình 6 - Gia cường bọc ngoài bằng bê tông
6.1.8.2. Tính toán thiết kế
Giữa bê tông mới đổ và cốt thép mới bố trí với kết cấu cũ, tồn tại vấn đề ứng suất chênh và sự chênh biến dạng (do bê tông cũ đã chịu phần lớn tĩnh tải và có biến dạng trước khi gia cường), vì vậy khi tính toán khả năng chịu lực của kết cấu, phải xem xét tình hình cụ thể để tính giảm cường độ của bê tông và cốt thép thêm vào.
Khả năng chịu lực cực hạn (tới hạn) của cột chịu nén dọc trục sau khi gia cường có thể được kiểm tra theo công thức sau:
N ≤ j (fcAc + fyAs + a(fcmAcm + fymAsm)) (4)
Trong đó:
N là giá trị tính toán của lực nén dọc trục tác dụng lên cột sau khi gia cường;
j là hệ số uốn dọc xác định theo độ mảnh của cột sau khi gia cường;
fc, Ac là cường độ tính toán chịu nén và diện tích tiết diện bê tông cũ;
fy, As là cường độ tính toán chịu nén và diện tích tiết diện cốt thép cũ;
fcm, Acm là cường độ tính toán chịu nén và diện tích tiết diện bê tông mới;
fym, Asm là cường độ tính toán chịu nén và diện tích tiết diện cốt thép mới (bổ sung);
a là hệ số chiết giảm cường độ của bê tông mới tăng thêm và cốt thép dọc khi bê tông của phần gia cường làm việc với cột cũ.
Giá trị của a được lấy như sau:
+ a = 0,8 khi có biện pháp dỡ tải hoàn toàn cho kết cấu/cấu kiện khi sửa chữa gia cường (cấu kiện cũ và bê tông mới gần như cùng chịu một tải trọng).
+ Trong trường hợp chỉ giảm tải một phần nào đó khi thi công gia cường, phải lấy giảm giá trị của a, khi đó a = 0,8 DN/N (DN - phần lực nén tăng lên của phần tải trọng tác dụng lên kết cấu sau khi gia cường).
6.1.8.3. Yêu cầu cấu tạo và thi công
Cần chú ý các điểm sau khi thiết kế gia cường cột sử dụng kỹ thuật bọc ngoài bằng bê tông:
- Chiều dày nhỏ nhất của bê tông mới đổ là 60 mm (nếu dùng bê tông phun chiều dày nhỏ nhất là 50 mm);
- Đường kính cốt thép không nhỏ hơn 14 mm và không lớn hơn 25 mm; đường kính cốt đai khép kín không nhỏ hơn 8 mm;
- Khi gia cường bọc quanh (4 phía) cần phải đặt cốt đai khép kín. Khi chỉ gia cố một hoặc 2 bên thì dùng cốt đai dạng chữ U hàn vào cốt đai cũ. Độ dài đường hàn lấy bằng 10 lần đường kính cốt đai (nếu hàn 1 bên) và bằng 5 lần đường kính cốt đai d (nếu hàn 2 bên). Cũng có thể dùng đinh neo chôn vào bê tông cũ của cột rồi hàn liên kết cốt đai chữ U vào các đinh neo này. Đường kính đinh neo không nhỏ hơn 10 mm, độ sâu neo giữ không ngắn dưới 10 lần đường kính cốt đai;
- Hai đầu cốt thép chịu lực dọc trục tăng thêm phải uốn mỏ. Khi gia cường cột khung, neo cốt thép không chỉ ngàm vào móng mà còn phải có ít nhất 50 phần trăm cốt thép xuyên qua sàn;
- Cấp cường độ của bê tông mới đổ không được thấp hơn mác 200, nên cao hơn cường độ thiết kế của bê tông cũ. Nên dùng loại bê tông có cốt liệu bé, đường kính của đá sỏi không quá 10 mm;
- Trước khi thi công nên dỡ bớt tải hoặc dùng cây chống tạm để giảm phần tải trọng tác động lên kết cấu cũ, sao cho lực dọc trong cột (cũ) chỉ vào khoảng 60% sức chịu tải của cột;
- Đục xờm bề mặt cấu kiện cũ: độ lồi lõm của bề mặt cột không nhỏ hơn 4 mm. Cách một khoảng nhất định, thường từ 300 mm đến 500 mm, trên bề mặt cấu kiện cũ đục rãnh lõm (độ sâu không ít hơn 6 mm) để tạo thành lực nêm cắt giữa bê tông cũ và mới;
- Làm sạch bề mặt tiếp giáp giữa bê tông cũ và mới trước khi đổ bê tông mới.
6.1.9. Kỹ thuật gia cường bọc ngoài bằng thép hình
Gia cường bọc ngoài bằng thép hình cần được sử dụng để gia cường cột bê tông.
Gia cường bọc ngoài bằng thép hình chia làm 2 loại:
- Gia cường kiểu khô (Hình 7a);
- Gia cường kiểu ướt (Hình 7b).
Gia cường kiểu khô là phương pháp gia cường bọc ngoài bằng thép hình nhưng không có dính kết với kết cấu bê tông cốt thép cũ, hoặc tuy có nhồi vữa xi măng cát, nhưng không thể đảm bảo sự truyền lực giữa kết cấu mới và kết cấu cũ.
Gia cường bọc ngoài kiểu ướt là phương pháp gia cường bọc ngoài bằng thép hình mà giữa thép hình và kết cấu cũ để một khe hở nhất định, được nhồi đầy vữa xi măng và vữa epoxy hoặc đổ bê tông đá nhỏ, để dính kết chúng thành một khối.
Ưu điểm của kỹ thuật gia cường bọc ngoài bằng thép hình là kích thước cấu kiện tăng lên không nhiều, nhưng có thể nâng rất cao sức chịu tải và tính dẻo của kết cấu.
Để tính toán thiết kế và yêu cầu thi công kết cấu gia cường bọc ngoài bằng thép hình, có thể tham khảo các tài liệu kỹ thuật chuyên ngành trong và ngoài nước về vấn đề này.

CHÚ DẪN:
1 Kết cấu bê tông hiện có
2 Thép hình gia cường
3 Thanh giằng
4 Bê tông hạt nhỏ hoặc vữa
Hình 7 - Kỹ thuật gia cường bọc ngoài bằng thép hình
6.1.10. Kỹ thuật gia cường dán bản thép
Kỹ thuật gia cường dán bản thép là một phương pháp dùng keo dán dán bản thép hoặc bản composite vào mặt ngoài chịu kéo của dầm hay sàn bêtông cốt thép (Hình 8). Keo dán là loại keo epoxy resin có cho thêm một lượng nhất định chất cô đặc, chất tăng dẻo, tăng độ dai.

CHÚ DẪN:
1 Dầm hiện có
2 Bản thép hoặc composite
3 Keo dán dày (khoảng 1,5mm)
Hình 8 - Kỹ thuật gia cường dán bản thép hay composite
- Tính toán thiết kế và yêu cầu thi công: tính toán thiết kế và yêu cầu thi công dầm bêtông cốt thép dán bản thép có thể tham khảo thêm các tài liệu tương tự thuộc lĩnh vực này của nước ngoài.
- Những điểm cần lưu ý khi thực hiện gia cường dán bản thép: Phương pháp dán bản thép có những ưu điểm nổi trội sau:
+ Tốc độ đông cứng của keo dán nhanh, thời gian thi công ngắn;
+ Công nghệ đơn giản, có thể thi công trong khi vẫn sử dụng công trình (thí dụ đối với cầu);
+ Cường độ kết dính của keo dán cao hơn bê tông và đá, có thể khiến cho hệ gia cố và kết cấu cũ hình thành một chính thể tốt chịu lực đồng đều, không sinh ra hiện tượng ứng suất tập trung trong bê tông;
+ Bản thép dính kết chiếm không gian nhỏ, hầu như không làm tăng kích thước tiết diện và trọng lượng của cấu kiện hay kết cấu bị gia cường;
+ Ưu điểm lớn nhất của bản thép dán là: có thể tăng rất nhiều khả năng chống nứt của cấu kiện kết cấu (giảm bề rộng khe nứt, ngăn chặn vết nứt phát triển), giảm độ võng và nâng cao khả năng chịu tải.
Tuy nhiên, qua nghiên cứu cho thấy, bản thép dán có thể tạo ra hiện tượng chênh ứng suất và biến dạng so với cốt thép chủ kéo của dầm cũ. Khi thi công, phần tải tác dụng lên cấu kiện cũ càng lớn, hiện tượng chênh ứng suất và biến dạng càng nhiều.
Ngoài ra, chất lượng thi công và chất lượng keo dán có ảnh hưởng tương đối lớn đối với hiệu quả gia cường. Mặc dù nhiều thí nghiệm cho thấy, khi dầm dán bản thép gia cường bị phá hoại, bản thép dán có thể đạt đến cường độ chảy, nhưng cũng có một số thí nghiệm cho thấy bản thép dán chưa đạt đến cường độ chảy. Nguyên nhân là sự phá hoại của dầm do sự bong tách giữa phần cuối bản thép với bê tông. Loại phá hoại này không có điềm báo trước rõ rệt, thuộc loại phá hoại giòn thường tránh khi thiết kế kết cấu.
Hơn nữa, bản thép tương đối nặng đòi hỏi nhiều dàn giáo khi dán và hiện tượng ăn mòn bản thép sau gia cường vẫn còn là các vấn đề cân nhắc hiện nay khi sử dụng kỹ thuật này. Tuy nhiên, ngày nay, với sự tiến bộ của khoa học vật liệu, các nhược điểm của kỹ thuật dán bản thép đã được thay thế bởi bản composite sợi carbon, aramid có đặc tính: nhẹ, cường độ và khả năng chống ăn mòn cao.
6.1.11. Gia cường bằng phương pháp ứng lực trước căng ngoài
Nguyên tắc của phương pháp này là dùng thép thanh, thép hình (trong một số trường hợp có thể dùng cáp hay bó cáp) tạo nên ứng lực trước (từ đây trở đi gọi là thanh căng ứng lực trước), tác dụng ngược lại với tác động của ngoại lực nhằm làm tăng khả năng chịu lực, giảm bề rộng khe nứt và độ võng của kết cấu. Phương pháp này chủ yếu áp dụng cho dầm đơn giản hay thanh chịu kéo của vì kèo bê tông cốt thép.
6.1.11.1. Công nghệ cơ bản của thanh căng ứng lực trước gia cường dầm
Các công nghệ cơ bản của thanh căng ứng lực trước gia cường dầm bao gồm:
- Thêm thanh căng ứng lực trước ở mặt ngoài của vùng chịu kéo cần tăng cường;
- Neo cố định thanh căng ở phần đầu dầm;
- Kéo ứng suất trước.
6.1.11.2. Kéo thanh căng ứng lực trước
Có 2 phương pháp kéo căng thanh căng ứng lực trước thường dùng trong gia cường dầm bê tông cốt thép chịu uốn là:
a) Phương pháp kéo căng bằng kích: Kích tiến hành kéo căng đặt ở phần đầu của thanh căng. Trong trường hợp khó đặt kích kéo căng ở đầu dầm, có thể dùng kích kiểu kéo ngoài kéo căng ở phần giữa dầm (Hình 9).
b) Phương pháp kéo căng bằng các công cụ đơn giản (clê, bulông): đây là phương pháp tác động theo chiều ngang. Nguyên lí của phương pháp là khi hai đầu của thanh căng gia cường đã được neo chặt vào dầm, dùng các công cụ đơn giản như cờ lê và bu-lông, cưỡng bức thanh căng từ thẳng biến thành cong, tạo ra biến dạng và ứng suất trước trong thanh căng.

CHÚ DẪN:
1 Dầm hiện có
2 Thép hình gia cường
3 Bu lông dùng đê căng
4 Thanh phụ trợ
5 Bu lông cường độ cao để neo
Hình 9 - Kỹ thuật gia cường bằng phương pháp căng ngoài (căng sau)
6.1.11.3. Neo cố định thanh căng ứng lực trước
Neo cố định thanh căng ứng lực trước: có 4 phương pháp neo cố định thanh căng ứng lực trước:
a) Neo cố định bằng bản thép chữ U (Hình 10): các bước tiến hành như sau:
- Đục bỏ lớp bê tông bảo vệ ở đầu dầm, quét keo epoxy lên khu vực này;
- Kẹp chặt bản thép hình chữ U có cùng chiều rộng với dầm trong lớp keo epoxy;
- Hàn đầu của thanh kéo gia cường vào bản thép chữ U.
b) Ma sát bu-lông cường độ cao kết hợp với keo dán (Hình 11): phương pháp này được đề xuất trên nguyên tắc làm việc của bu-lông cường độ cao trong kết cấu thép. Các bước tiến hành là:
- Khoan lỗ có cùng đường kính với bu-lông cường độ cao trên dầm cũ và trên bản thép;
- Sau khi quét một lớp keo epoxy hoặc hồ xi-măng cường độ cao lên bản thép và bề mặt dầm cũ, dùng bu-lông cường độ cao nén chặt bản thép trên dầm cũ nhằm tạo ra lực dính kết và lực ma sát;
- Neo cố định thanh căng ứng lực trước trên mép lồi đường hàn với bản thép hoặc hàn trực tiếp trên bản thép.

CHÚ DẪN:
1 Dầm hiện có
2 Thanh kép
3 Cấu kiện phụ trợ
4 Thép hình chữ U
5 Cấu kiện phụ trợ
Hình 10 - Neo cố định bằng bản thép chữ U

CHÚ DẪN:
1- Dầm hiện có
2- Thanh căng
3- Thanh phụ trợ
4- Thép bản
5- Bu-lông cường độ cao
Hình 11 - Neo cố định sử dụng bu lông cường độ cao
c) Neo hàn: Neo hàn là phương pháp neo cố định hàn trực tiếp thanh thép gia cường trên vùng ứng suất tương đối nhỏ của cốt thép cũ của dầm (phía trên của dầm đơn giản, vùng gần gối tựa, Hình 12). Đục rãnh trên bề mặt dầm để lộ cốt thép cũ, hàn thanh thép ứng lực trước vào cốt thép cũ, đồng thời dùng vữa epoxy dán thanh thép gia cường vào trong rãnh. Khi đó không chỉ thanh căng ứng lực trước được neo mà còn tận dụng triệt để được cường độ cốt thép của dầm cũ.

CHÚ DẪN
1 Dầm hiện có
2 Thăng căng
3 Cấu kiện phụ trợ
Hình 12 - Neo hàn
d) Neo lợi dụng chi tiết chôn sẵn cũ: nếu đầu dầm được gia cố các chi tiết chôn sẵn thích hợp, hàn thanh kéo gia cường trên các chi tiết này có thể đạt được mục đích neo cố định.
6.1.11.4. Tính toán dầm gia cường
Sau khi kết thúc kéo căng, thanh căng ứng lực trước trên dầm gia cường có hai trạng thái:
- Thanh căng ứng lực trước lộ ra ngoài;
- Thanh căng ứng lực trước và dầm cũ đổ thành một khối.
Đối với dầm có thanh căng ứng lực trước lộ ra ngoài, biến dạng của thanh căng dưới tác dụng của tải trọng bên ngoài nhỏ hơn biến dạng của cốt thép cũ chịu kéo trong dầm. Khi tính toán loại dầm này có thể tham khảo phương pháp tính toán thiết kế dầm bê tông ứng suất trước không dính kết.
Đối với dầm mà sau khi kết thúc kéo căng, nếu đổ thêm lớp bê tông bảo vệ, hình thành một dầm, thì thanh kéo ứng suất trước cùng biến dạng với dầm cũ. Tính toán loại dầm này tương tự như tính toán các loại dầm bê tông cốt thép thông thường.
6.1.12. Ghi chép và lưu giữ hồ sơ
Có 3 hồ sơ chính cần phải lập khi khảo sát và khi sửa chữa công trình:
- Báo cáo kết quả kiểm tra chi tiết và đánh giá hiện trạng hư hỏng công trình;
- Hồ sơ thiết kế (bao gồm thiết kế kỹ thuật và thiết kế triển khai các bản vẽ thi công (từ đây gọi chung là hồ sơ thiết kế kỹ thuật)) sửa chữa hay gia cường kết cấu;
- Các loại hồ sơ về thi công, nghiệm thu và bản vẽ hoàn công công trình.
Báo cáo kiểm tra và đánh giá hiện trạng hư hỏng công trình phải trình bày rõ các nội dung và mục đích khảo sát qui định trong 6.1.2 và 6.1.3. Lựa chọn biện pháp sửa chữa, gia cường nên được kiến nghị trong báo cáo kiểm tra. Báo cáo phải được chủ công trình hay đại diện chủ công trình hoặc cấp có thẩm quyền đồng ý chấp nhận.
Hồ sơ thiết kế kỹ thuật sửa chữa hay gia cường kết cấu được thiết lập phải thể hiện rõ phương án sửa chữa, gia cường lựa chọn theo các qui định của 6.1.5. Các bản vẽ thiết kế phải tuân theo các qui định của tiêu chuẩn TCVN 6084:2012, TCVN 5574:1991 và các tiêu chuẩn liên quan khác. Hồ sơ thiết kế kỹ thuật phải được chủ công trình hay đại diện chủ công trình hoặc cấp có thẩm quyền phê duyệt.
Các loại hồ sơ về thi công, nghiệm thu và hoàn công công trình phải được thiết lập theo thông lệ và các qui định về xây dựng của Việt Nam.
Tất cả các loại hồ sơ trên đều được quản lý bởi chủ công trình để tạo thuận lợi cho công tác duy tu, bảo trì và nâng cấp kết cấu sau này.
6.2. Sửa chữa kết cấu hư hỏng do lún nền móng
6.2.1. Nguyên tắc chung
Mục này hướng dẫn phương pháp kiểm tra chi tiết, xác định cơ chế và mức độ xuống cấp và một số giải pháp khắc phục sự xuống cấp của công trình do nguyên nhân lún nền móng.
6.2.2. Kiểm tra chi tiết
6.2.2.1. Yêu cầu chung
Kiểm tra chi tiết được thực hiện khi phát hiện dấu hiệu công trình bị xuống cấp do nguyên nhân nền móng. Công tác kiểm tra chi tiết cần cung cấp các thông tin liên quan đến biến dạng của công trình và các yếu tố có thể ảnh hưởng đến sự hình thành và phát triển của biến dạng, gồm có:
- Lịch sử sử dụng công trình;
- Điều kiện đất nền và nước ngầm;
- Hồ sơ thiết kế và hoàn công;
- Hiện trạng của kết cấu móng công trình;
- Hoạt động xây dựng và hiện trạng các kết cấu ở khu vực lân cận.
Việc kiểm tra chi tiết được thực hiện theo đề cương được lập ra với mục đích đánh giá hiện trạng của nền móng, khẳng định nguyên nhân gây lún và dự báo tốc độ xuống cấp. Trong đề cương cần nêu chi tiết khối lượng kiểm tra, phương pháp thực hiện và mục tiêu cần đạt được. Khi xác định nội dung và khối lượng kiểm tra cần tận dụng các kết quả kiểm tra đã có trước.
Nội dung kiểm tra chi tiết gồm có:
- Khảo sát địa chất công trình bổ sung;
- Khảo sát hiện trạng móng;
- Khảo sát hiện trạng hư hỏng kết cấu bên trên;
- Khảo sát hiện trạng các công trình lân cận;
- Quan trắc lún và nghiêng của công trình;
- Quan trắc địa kỹ thuật.
6.2.2.2. Khảo sát địa chất công trình bổ sung
Mục tiêu của khảo sát địa chất bổ sung là xác định một số chỉ tiêu của đất nền mà các khảo sát trước đó chưa thu thập đầy đủ. Khảo sát bổ sung phải được định hướng theo những nhận định về cơ chế xuống cấp của công trình. Phương pháp, độ sâu, số lượng và vị trí các điểm khảo sát được xác định theo đặc điểm kết cấu công trình, đất nền, cơ chế và mức độ xuống cấp...
Các phương pháp khảo sát thường được áp dụng là:
- Khoan lấy mẫu đất để thí nghiệm trong phòng (theo TCVN 2683:1991);
- Thí nghiệm xuyên tĩnh CPT (theo TCVN 9352:2012);
- Thí nghiệm xuyên tiêu chuẩn SPT (theo TCVN 9351:2012);
- Cắt cánh;
- Quan trắc chuyển vị ngang trong đất;
- Quan trắc mực nước ngầm và áp lực nước lỗ rỗng…
Trong khảo sát nên xác định các chỉ tiêu phục vụ cho tính toán độ lún của đất nền theo thời gian.
Độ sâu khảo sát được xác định theo các yếu tố:
- Độ sâu ảnh hưởng của tải trọng công trình: Kích thước và tải trọng công trình càng lớn thì độ sâu khảo sát phải tăng lên tương ứng;
- Bề dày tầng đất yếu: Nên thực hiện khảo sát qua các lớp đất yếu.
Số lượng các điểm khảo sát xác định theo các yếu tố:
- Qui mô của công trình: Số lượng xác định trên cơ sở khoảng cách giữa các điểm khảo sát, thông thường bằng 15 m đến 30 m;
- Các kết quả khảo sát đã có: Nếu có thể sử dụng số liệu khảo sát đã có từ trước thì khối lượng khảo sát bổ sung có thể giảm bớt;
- Đặc điểm của hiện trạng lún: Ngoài các vị trí khảo sát bố trí theo một lưới cách đều, cần chú ý tăng mật độ khảo sát ở khu vực có biến động của điều kiện đất nền, thể hiện thông qua sự tập trung của các vết nứt trên kết cấu.
Vị trí của các điểm khảo sát nên bố trí tại:
- Các khe lún, nơi có thay đổi của tải trọng (thay đổi số tầng, thay đổi của công năng…) và góc của công trình;
- Khu vực dự kiến có biến động của điều kiện đất nền;
- Khu vực có thay đổi của độ lún, thể hiện thông qua mật độ của các vết nứt;
- Khu vực có độ lún tuyệt đối lớn nhất và nhỏ nhất.
Kết quả khảo sát địa chất bổ sung cần được so sánh với các kết quả khảo sát trong những giai đoạn trước (nếu có). Việc so sánh kết quả khảo sát ở nhiều giai đoạn cho phép đánh giá những biến động có thể xảy ra của điều kiện địa chất và phát hiện những sai sót có thể xảy ra trong quá trình khảo sát.
6.2.2.3. Khảo sát hiện trạng móng
Việc khảo sát hiện trạng móng cần được thực hiện khi vì một lý do nào đó không thu thập được hồ sơ thiết kế và hoàn công của công trình. Đối với trường hợp có được các hồ sơ nói trên cũng nên khảo sát tại một số vị trí xung yếu, đặc biệt là các vị trí móng của công trình có thể đã bị biến dạng quá mức. Số lượng điểm khảo sát cần xác định trong đề cương, phụ thuộc vào mức độ phức tạp của thiết kế móng và hiện trạng của công trình.
Công việc điều tra hiện trạng móng phải cung cấp được các thông tin:
- Độ sâu chôn móng, loại móng, kích thước…;
- Vật liệu móng (cường độ của vật liệu, bố trí cốt thép, mức độ suy thoái của vật liệu…);
- Tình trạng ăn mòn cốt thép;
- Các vết nứt trên kết cấu móng.
Phương pháp điều tra thông dụng là thực hiện một số hố đào để có thể trực tiếp quan sát, đo đạc và thực hiện kiểm tra chi tiết. Hố đào nên được bố trí tại các vị trí:
- Dưới kết cấu chịu lực chính;
- Tại các vị trí có biến động đột ngột của độ lún (thể hiện thông qua các vết nứt trên kết cấu).
6.2.2.4. Khảo sát hiện trạng hư hỏng kết cấu bên trên
Khảo sát chi tiết hiện trạng kết cấu bên trên gồm các nội dung:
- Thu thập và nghiên cứu hồ sơ thiết kế và hoàn công kết cấu công trình;
- Quan trắc các vết nứt trên kết cấu và sự phát triển của vết nứt theo thời gian.
Các quan trắc sự phát triển của vết nứt được thực hiện định kỳ. Chu kỳ quan trắc nên xác định theo khuyến nghị cho chu kỳ quan trắc lún (xem 6.2.2.6).
Công việc quan trắc các vết nứt trên kết cấu cần cung cấp các thông tin:
- Vị trí vết nứt và hướng của nó;
- Chiều dài vết nứt;
- Bề rộng vết nứt;
- Độ sâu vết nứt;
Sự phát triển của chiều dài, bề rộng và độ sâu của một số vết nứt tiêu biểu.
Phương pháp quan trắc các vết nứt trên kết cấu được trình bày trong 6.1.2.
Vị trí, hình dạng và chiều dài vết nứt được thể hiện trên các bản vẽ. Kết quả quan trắc sự phát triển của vết nứt theo thời gian được trình bày dưới dạng biểu đồ.
6.2.2.5. Khảo sát hiện trạng hư hỏng kết cấu lân cận
Điều tra hiện trạng khu vực xung quanh cần cung cấp các thông tin phục vụ cho việc nhận định nguyên nhân gây xuống cấp của công trình. Phương pháp khảo sát thường áp dụng là quan sát và mô tả. Các thông tin cần thu thập khi khảo sát các công trình lân cận gồm:
- Lịch sử xây dựng và sử dụng;
- Khoảng cách đến công trình;
- Qui mô và đặc điểm kết cấu (diện tích mặt bằng, loại kết cấu, số tầng, móng, công năng…);
- Tình trạng của kết cấu: Nếu phát hiện các dấu hiệu của hiện tượng nghiêng, lún, nứt…, thì cần thể hiện chi tiết trên bản vẽ.
Trong trường hợp tác nhân gây xuống cấp công trình là hố đào, xung động hoặc các tải trọng khác thì các đặc trưng của các tác nhân này cần được xác định trong quá trình khảo sát. Ví dụ đối với hố đào thì cần xác định kích thước, độ sâu, biện pháp giữ thành, biện pháp hạ mực nước ngầm, tốc độ thi công…
6.2.2.6. Quan trắc lún và nghiêng của công trình
6.2.2.6.1. Yêu cầu chung
Quan trắc lún cho phép xác định độ lún tuyệt đối và tốc độ phát triển của độ lún của công trình theo thời gian. Tốc độ lún của công trình được theo dõi bằng cách định kỳ đo độ lún của các mốc gắn trên công trình so với mốc chuẩn (được coi là không lún).
Công tác quan trắc có thể được thực hiện bằng phương pháp thủy chuẩn hình học, thủy chuẩn lượng giác, thủy chuẩn thủy tĩnh hoặc bằng cách chụp ảnh. Trong điều kiện thông thường nên áp dụng phương pháp của TCVN 9360:2012.
6.2.2.6.2. Xác định cấp đo lún
Quan trắc lún của công trình cần được thực hiện lâu dài với độ chính xác cao, vì vậy nên lựa chọn độ chính xác cấp I hoặc cấp II khi đo lún.
6.2.2.6.3. Chu kỳ đo
Khoảng thời gian giữa 2 lần tiến hành quan trắc lún phụ thuộc vào tốc độ lún và cấp đo lún. Khi tốc độ lún nhỏ thì khoảng thời gian giữa 2 lần đo phải đủ lớn mới có thể xác định chính xác độ lún. Ngược lại nếu tốc độ lún lớn thì có thể đo với chu kỳ dày hơn. Thông thường khoảng thời gian giữa hai lần đo bằng từ 1 tháng đến 3 tháng.
6.2.2.6.4. Bố trí mốc đo lún
Để thực hiện quan trắc cần lắp đặt hệ mốc chuẩn và các mốc đo lún.
Mốc chuẩn được bố trí bên ngoài công trình và phải đảm bảo không bị lún trong suốt thời gian thực hiện quan trắc. Trong điều kiện cụ thể của từng công trình cần đặt 2 mốc chuẩn đến 3 mốc chuẩn. Nên sử dụng mốc chuẩn loại A cho các công trình quan trọng hoặc loại B cho các công trình thông thường (theo phân loại mốc chuẩn của TCVN 9360:2012).
Các mốc đo lún được gắn trên công trình tại các vị trí phù hợp để có thể đánh giá được tình trạng lún của công trình nói chung và xác định được biến dạng của kết cấu. Vị trí gắn mốc đo lún trên một số loại kết cấu thường gặp như sau:
Kết cấu tường chịu lực: tại các vị trí giao nhau giữa tường ngang và tường dọc;
- Kết cấu khung: tại các chân cột;
- Công trình dạng tháp (silo, ống khói…): bố trí tối thiểu 4 mốc phân bố đều trên chu vi của kết cấu.
Khoảng cách giữa các mốc đo lún không nên lớn hơn 15 m. Mốc có thể được bố trí dày hơn quanh khe lún và tại các vị trí có biến động của điều kiện đất nền, thay đổi tải trọng cũng như tại các vị trí quan sát thấy sự thay đổi của tốc độ lún.
6.2.2.7. Quan trắc kỹ thuật
Quan trắc địa kỹ thuật nên được thực hiện để đánh giá và dự báo sự phát triển của độ lún và chuyển vị ngang trong đất nền. Các quan trắc thường được thực hiện là:
- Quan trắc nước ngầm (mực nước, áp lực nước lỗ rỗng…);
- Quan trắc sự phát triển của độ lún trong đất;
- Quan trắc chuyển dịch ngang.
Số lượng điểm quan trắc, vị trí các điểm và chu kỳ quan trắc được xác định theo qui mô, đặc điểm công trình và tốc độ xuống cấp.
6.2.3. Xác định cơ chế và dự báo tốc độ xuống cấp
6.2.3.1. Xác định cơ chế xuống cấp
Việc xác định cơ chế gây lún của công trình cần được thực hiện trên cơ sở kết hợp các kết quả tính toán và kết quả kiểm tra chi tiết.
Các kết quả quan trắc lún và kết quả khảo sát địa chất cần được tập hợp có hệ thống. Nên xác định quan hệ (nếu có) giữa tốc độ lún và đặc trưng của điều kiện địa chất (ví dụ bề dày tầng đất yếu).
Các tính toán cần thực hiện phục vụ cho việc xác định cơ chế gây xuống cấp gồm có:
- Tính toán kiểm tra theo trạng thái giới hạn thứ nhất: Cường độ của đất nền (TCVN 9362:2012), sức chịu tải của cọc (tham khảo theo TCXD 205:1998), khả năng chịu tải của kết cấu móng bê tông cốt thép (TCVN 5574:1991), móng kết cấu gạch đá (TCVN 5573:1991);
- Tính toán kiểm tra theo trạng thái giới hạn thứ hai: tính toán độ lún tuyệt đối và độ lún theo thời gian.
Cơ chế xuống cấp do nguyên nhân nền móng thường gặp được tóm tắt trong Bảng 3.
Bảng 3 - Nhận định cơ chế xuống cấp do nguyên nhân nền móng
|
Nguyên nhân hư hỏng |
Kết quả khảo sát |
Cơ chế |
|
1. Đất nền không đủ khả năng chịu tải |
- Độ lún lớn - Tốc độ lún cao và không có dấu hiệu giảm dần |
Phá hoại của đất nền |
|
2. Kết cấu móng không đủ khả năng chịu tải |
- Độ lún lớn - Tốc độ lún cao và không có dấu hiệu giảm dần - Nứt gãy ở kết cấu móng tại các vị trí xung yếu |
Phá hoại của kết cấu móng |
|
3. Độ lún tuyệt đối lớn |
- Tầng đất yếu có bề dày lớn - Độ lún lớn - Tốc độ lún giảm dần theo thời gian |
Lún cố kết |
|
4. Độ lún lệch lớn |
- Tầng đất yếu có bề dày biến đổi mạnh - Chênh lệch lớn của tải trọng công trình - Các vết nứt xiên trên kết cấu |
Lún lệch |
|
|
- Độ lún và các vết nứt trên kết cấu tăng sau khi công trình đã được sử dụng ổn định một thời gian khá dài - Bề dày tầng đất yếu khá lớn - Không có hoạt động xây dựng mới ở khu vực lân cận - Công trình nằm gần giếng khai thác nước |
Hạ mực nước ngầm |
|
|
- Độ lún và các vết nứt trên kết cấu tăng sau khi công trình đã được sử dụng ổn định một thời gian khá dài. - Có hoạt động xây dựng mới ở khu vực lân cận (hố đào, nền đắp, công trình mới…) |
Lún ảnh hưởng |
|
CHÚ THÍCH: Không có biến động đáng kể của tải trọng công trình |
||
6.2.3.2. Dự báo tốc độ xuống cấp do lún
Tốc độ xuống cấp phụ thuộc vào sự phát triển của độ lún theo thời gian. Việc dự báo tốc độ xuống cấp có thể được thực hiện theo các phương pháp sau:
- Tính toán độ lún theo thời gian trên cơ sở tải trọng công trình và các chỉ tiêu cơ lý của đất nền theo TCVN 9362:2012;
- Phân tích kết quả quan trắc, từ đó dự báo sự phát triển của độ lún, nghiêng, nứt và sự ảnh hưởng của nó đối với công năng về khả năng chịu tải và yêu cầu sử dụng bình thường của công trình.
6.2.4. Đánh giá mức độ xuống cấp và lựa chọn biện pháp khắc phục
6.2.4.1. Đánh giá mức độ xuống cấp
6.2.4.1.1. Nguyên tắc chung
Mức độ xuống cấp do nguyên nhân nền móng được đánh giá theo các chỉ số công năng:
Công năng về an toàn (khả năng chịu tải);
Công năng sử dụng bình thường của công trình: Độ lún tuyệt đối, độ lún lệch và độ nghiêng của kết cấu.
6.2.4.1.2. Đánh giá mức độ xuống cấp theo công năng về an toàn
Tải trọng truyền lên móng không được vượt quá sức chịu tải cho phép của nền:
N <>a (5)
Trong đó:
Qa là sức chịu tải cho phép, được xác định từ sức chịu tải giới hạn Q0 và hệ số an toàn Fs theo quan hệ Qa = Q0/Fs.
Tùy theo từng trường hợp cụ thể, phương pháp tính toán Qa và giá trị của Fs cho các điều kiện đất nền khác nhau được xác định theo các TCVN 9362:2012; TCVN 5574:1991 và TCVN 5573:1991, hoặc tham khảo theo TCXD 205:1998, hoặc bằng phương pháp thực nghiệm.
Nếu N <>a thì công năng về khả năng chịu tải đáp ứng yêu cầu. Ngược lại nếu N > Qa thì phải áp dụng biện pháp gia cố công trình để tăng khả năng chịu tải của móng.
6.2.4.1.3. Đánh giá mức độ xuống cấp theo mức độ đáp ứng yêu cầu sử dụng bình thường
Công năng cần đánh giá trong trường hợp này là mức biến dạng của công trình. Độ lún tuyệt đối S, độ lún lệch DS/L và độ nghiêng i của công trình không được vượt quá giới hạn cho phép:
S ≤ [S] (6)
DS/L ≤ [DS/L] (7)
i ≤ [i] (8)
trong đó:
[S], [DS/L] và [i] là các trị số cho phép của biến dạng, xác định theo Bảng 4 và Bảng 5.
Độ lún và nghiêng của công trình được tính toán theo TCVN 9362:2012 hoặc bằng quan trắc.
Nếu các điều kiện trên không được thỏa mãn (không đáp ứng công năng sử dụng) thì phải áp dụng biện pháp gia cố nền thích hợp để ngăn chặn sự phát triển của độ lún và nghiêng.
6.2.4.2. Lựa chọn biện pháp khắc phục
6.2.4.2.1. Yêu cầu chung
Biện pháp khắc phục sự xuống cấp của công trình được xác định theo kết quả đánh giá nguyên nhân và dự báo tốc độ xuống cấp. Nó phải đáp ứng các yêu cầu về kinh tế - kỹ thuật, các yếu tố khác cần xem xét là tuổi thọ công trình, giá trị vô hình và hữu hình, mức độ nguy hiểm, các yếu tố xã hội và môi trường, tính khả thi… Việc lựa chọn biện pháp khắc phục xuống cấp phụ thuộc chủ yếu vào độ lún còn lại của công trình. Nếu độ lún còn lại là nhỏ thì chỉ cần phục hồi khả năng làm việc của kết cấu. Các phương pháp gia cường móng được lựa chọn khi độ lún còn lại lớn, có khả năng gây hư hỏng công trình. Thông thường có nhiều biện pháp khắc phục có thể đáp ứng được yêu cầu đề ra, vì vậy cần so sánh các chỉ tiêu kinh tế - kỹ thuật của chúng để có thể xác định biện pháp tối ưu.
Kết cấu sau khi được sửa chữa phải đáp ứng các yêu cầu cho các công năng sau đây:
- Công năng về khả năng chịu tải;
- Công năng sử dụng của công trình;
Yêu cầu đối với việc kiểm tra các công năng nêu trên được trình bày trong 6.2.4.1.
6.2.4.2.1. Lựa chọn biện pháp khắc phục
Kiến nghị biện pháp khắc phục sự xuống cấp của công trình được trình bày trong Bảng 6.
Nội dung các biện pháp khắc phục được trình bày trong 6.2.4.3 và 6.2.4.4.
Bảng 4 - Độ lún và nghiêng giới hạn của công trình (tham khảo theo TCXD 205:1997)
|
Công trình |
Độ lún lệch tương đối DS/L |
Độ nghiêng i |
Độ lún trung bình S hoặc lớn nhất Smax (trong ngoặc), cm |
|
1. Nhà sản xuất 1 tầng và nhà dân dụng nhiều tầng có khung hoàn toàn bằng bê tông cốt thép |
0,002 |
- |
(8) |
|
2. Nhà và công trình mà trong kết cấu không xuất hiện nội lực do lún không đều |
0,006 |
- |
(15) |
|
3. Nhà nhiều tầng không khung với tường chịu lực: |
|
|
|
|
- Bằng tấm lớn |
0,0016 |
0,005 |
10 |
|
- Bằng khối lớn hoặc thể xây gạch không có thép |
0,0020 |
0,0005 |
10 |
|
- Như trên nhưng có thép, trong đó có giằng bê tông cốt thép |
0,0024 |
0,0005 |
15 |
|
4. Công trình tháp chứa bằng kết cấu bê tông cốt thép: |
|
|
|
|
- Nhà công tác và silo, kết cấu đổ tại chỗ liền khối trên cùng một móng bè |
- |
0,003 |
40 |
|
- Như trên nhưng kết cấu lắp ghép - Silo độc lập kết cấu toàn khối đổ tại chỗ - Như trên nhưng kết cấu lắp ghép - Nhà công tác đứng độc lập |
- - - - |
0,003 0,004 0,004 0,004 |
30 40 30 25 |
|
5. Ống khói có chiều cao H, m: - H ≤ 100 m - 100 ≤ H ≤ 200 m - 200 ≤ H ≤ 300 m - H > 300 m |
- - - - |
0,005 1/(2H) 1/(2H) 1/(2H) |
40 30 20 10 |
|
6. Công trình cứng cao đến 100 m, ngoài những điều đã nói ở điểm 4 và điểm 5 |
- |
0,004 |
20 |
|
7. Công trình liên lạc, ăng ten: - Thân tháp tiếp đất - Thân tháp phát thanh cách điện với đất - Tháp phát thanh - Tháp phát thanh sóng ngắn - Tháp (block riêng rẽ) |
- - 0,002 0,0025 0,001 |
0,002 0,001 - - - - |
20 10 - - - - |
|
8. Trụ đường dây tải điện trên không: - Trụ trung gian - Trụ neo, neo góc, trụ góc trung gian, trụ ở vòng cung, cửa chính của thiết bị phân phối kiểu hở |
|
0,003 0,0025 |
- - |
|
- Trụ trung chuyển đặc biệt |
|
0,002 |
- |
|
CHÚ THÍCH: - Trị giới hạn của độ võng (vồng lên) tương đối của nhà nói ở điểm 3 lấy bằng 0,5DS/L. - Khi xác định độ lún lệch tương đối DS/L nói ở điểm 8, L là khoảng cách giữa 2 trục block móng theo hướng tải trọng ngang, còn ở các trụ kéo dây - là khoảng cách giữa các trục của móng chịu nén và neo. - Nếu nền gồm các lớp đất nằm ngang (với độ dốc không quá 0,1) thì trị giới hạn về độ lún lớn nhất và độ lún trung bình cho phép tăng lên 20%. - Đối với các công trình nói ở điểm 2 và 3 có móng dạng bè thì trị giới hạn của độ lún trung bình cho phép tăng lên 1,5 lần. - Trên cơ sở tổng kết kinh nghiệm thiết kế, xây dựng và khai thác các loại công trình khác nhau, cho phép lấy trị biến dạng giới hạn của nền khác với trị cho ở bảng này. |
|||
Bảng 5 - Giới hạn biến dạng góc
|
f/L |
Trạng thái giới hạn |
|
1/5000 |
Vết rạn li ti quan sát thấy trong công trình bằng gạch không cốt thép; các tường chịu lực bị cong |
|
1/3000 |
Các vết nứt nhìn thấy ở các tường chịu lực |
|
1/1000 |
Các vết nứt nhìn thấy ở các tường gạch chèn khung |
|
1/750 |
Giới hạn thực tế để ngăn chặn sự mất cân bằng của máy móc có độ chính xác cao |
|
1/600 |
Mức vượt ứng suất cho phép trong các tiết diện nghiêng trở nên đáng kể |
|
1/500 |
Giới hạn thực tế để ngăn chặn các vết nứt trầm trọng trong nhà khung và công trình hiện đại |
|
1/300 |
Hư hại công trình và tường tấm lớn, gây trở ngại cho di chuyển của các cần trục trên cao |
|
1/250 |
Nghiêng đáng chú ý trong các nhà nhiều tầng |
|
1/150 |
Hư hại đến kết cấu đối với hầu hết công trình |
|
CHÚ THÍCH: - Đối với công trình bình thường, biến dạng góc giới hạn lấy nhỏ hơn 1/500; - Cần tránh hư hại khi các khe nứt nhìn thấy được nếu biến dạng góc nhỏ hơn 1/1000; - Hư hại của công trình ít xảy ra với giá trị f/L <> |
|
Bảng 6 - Một số biện pháp khắc phục xuống cấp do nguyên nhân nền móng
|
Cơ chế xuống cấp |
Biện pháp khắc phục |
Ghi chú |
|
1. Đất nền không đủ khả năng chịu tải |
- Gia cố nông (Mở rộng móng, hố đào…) |
Đất nền tương đối tốt |
|
- Gia cố sâu (móng cọc) |
Đất yếu |
|
|
2. Kết cấu móng không đủ khả năng chịu tải |
- Sửa chữa kết cấu móng |
|
|
3. Độ lún tuyệt đối lớn |
- Gia cố sâu (có thể kết hợp với giảm tải) |
Nếu độ lún lệch nhỏ và có thể khắc phục ảnh hưởng của độ lún đối với hoạt động của công trình thì không cần gia cường |
|
4. Độ lún lệch lớn |
- Gia cố sâu (có thể kết hợp với gia cường kết cấu và giảm tải) |
Có thể nghiên cứu biện pháp cắt tách kết cấu |
|
5. Hạ mực nước ngầm |
- Gia cố sâu (móng cọc) |
Cần áp dụng biện pháp hạn chế ma sát âm |
|
6. Lún ảnh hưởng |
- Gia cố sâu (có thể kết hợp với gia cường kết cấu) - Cừ ngăn lún |
|
6.2.4.3. Một số phương pháp gia cố nông và gia cường kết cấu
6.2.4.3.1. Mở rộng móng
Mục đích của phương pháp mở rộng móng là tăng diện tích móng, qua đó giảm áp lực tác dụng lên đất nền tại đấy móng. Phương pháp này thường được áp dụng khi đất nền dưới móng có khả năng chịu tải cao và trong phạm vi ảnh hưởng của tải trọng công trình không có những lớp đất yếu.
Việc lựa chọn biện pháp mở rộng móng phụ thuộc vào điều kiện cụ thể của mỗi công trình. Trong thiết kế cần lưu ý đến liên kết giữa phần móng móng mở rộng với kết cấu móng cũ. Các biện pháp đơn giản nhưng khá hiệu quả để tăng cường liên kết là đục nhám bề mặt tiếp xúc, khoan để đặt neo thép. Kỹ thuật ép trước (gia tải trước) có thể được sử dụng để phần móng mới có thể làm việc tốt ngay sau khi thi công.
Một số ví dụ về mở rộng móng được thể hiện trên Hình 13. Để thực hiện công việc này, một số lỗ được khoan qua tường để đặt cốt thép chủ, sau đó thi công phần mở rộng bằng bê tông cốt thép. Độ sâu đặt móng được xác định theo điều kiện đất nền và yêu cầu sử dụng của công trình. Móng đặt càng nông thì càng dễ thi công.

CHÚ DẪN:
1 Cột
2 Móng mở rộng
3 Móng cũ
4 Đất đầm chặt
5 Dầm gánh
Hình 13 - Mở rộng móng - Liên kết bằng bê tông cốt thép
Hình 14 thể hiện thiết kế mở rộng móng trong đó tải trọng của kết cấu được truyền sang móng thông qua dầm gánh bằng thép.

CHÚ DẪN:
1 Cột
2 Móng mở rộng
3 Móng cũ
4 Thép hình
5 Dầm gánh
Hình 14 - Mở rộng móng - Liên kết bằng thép hình
Hình 15 là một ví dụ mở rộng móng tường trong đó có sử dụng neo thép và chốt bê tông cốt thép để liên kết phần bê tông mở rộng vào móng cũ.

CHÚ DẪN:
1 Tường bê tông cốt thép
2 Móng mở rộng
3 Móng cũ
4 Chốt thép
Hình 15 - Mở rộng móng - Liên kết bằng neo và chốt
6.2.4.3.2. Gia cường bằng hố đào
Phương pháp này có thể áp dụng trong đất tương đối khô do vách hố đào không có khả năng bị sát lở khi đào. Nguyên lý của phương pháp này là tăng độ sâu đặt móng bằng cách thực hiện hố đào dưới móng cũ cho đến độ sâu gặp lớp đất tốt. Quá trình thi công được bắt đầu bằng cách đào một hố bên cạnh móng cũ (Hình 16a). Từ hố này người ta tiến hành đào hố dưới đáy móng cho tới độ sâu gặp lớp đất tốt (Hình 16b). Kích thước hố thông thường bằng từ 700 mm đến 900 mm rồi đổ bê tông lấp đầy hố. Tùy theo tải trọng của công trình, các hố đào có thể được thi công tạo thành các trụ riêng biệt hoặc được thi công sát nhau tạo thành một tường liên tục. Nếu móng dưới tường là khối xây lớn hoặc là bằng bê tông cốt thép thì không cần bổ sung giằng đỡ tường trong khoảng giữa các trụ. Trường hợp móng không đủ cứng thì cần bổ sung giằng dưới đáy móng hoặc giằng kẹp hai bên tường.
6.2.4.3.3. Gia cường kết cấu bên trên
Gia cường kết cấu bên trên là biện pháp có thể được áp dụng khi các kết quả tính toán và quan trắc chứng tỏ độ lún còn lại của công trình là tương đối nhỏ. Nội dung của phương pháp này là tăng cường độ cứng của kết cấu công trình bằng cách bổ sung một số giằng thép hoặc bê tông cốt thép tại các vị trí thích hợp để tiếp thu các nội lực phát sinh khi công trình bị lún không đều. Vị trí đặt các giằng phụ thuộc vào công trình chịu lún võng (Hình 17a) hay lún vồng (Hình 17b):

CHÚ DẪN:
1 Cột, tường bê tông cốt thép
2 Móng cũ
3 Hố đào
4 Đào và cừ dưới hố móng
5 Đặt cốt pha và đổ bê tông
Hình 16 - Gia cố móng bằng hố đào

Hình 17 - Dạng lún của công trình
- Trường hợp lún võng (vết nứt phát triển từ phía dưới) thì hệ thống giằng nên bố trí ở móng dưới dạng giằng kẹp hai bên cổ móng hoặc cũng có thể sử dụng kỹ thuật Pynford để thi công giằng trong tường.
- Trường hợp lún vồng (vết nứt phát triển từ phía mái) thì hệ thống giằng nên bố trí ở phía trên (cao trình mái).
Để hệ thống giằng gia cường có thể làm việc tốt ngay sau khi thi công, nên kéo căng thép trước khi đổ bê tông.
Các vết nứt trên kết cấu của công trình cần được sửa chữa bằng cách đục bỏ vật liệu đã bị nứt vỡ sau đó phục hồi lại bằng bê tông hoặc vữa cường độ cao và không co.
6.2.4.4. Gia cường bằng móng sâu
Phương pháp gia cường bằng móng sâu được áp dụng khi phương pháp mở rộng móng không đáp ứng được yêu cầu kỹ thuật, đặc biệt khi trong phạm vi độ sâu ảnh hưởng của tải trọng công trình tồn tại các lớp đất yếu. Nguyên lý của phương pháp này là dùng cọc đưa tải trọng của công trình xuống các lớp đất cứng nằm ở độ sâu lớn. Độ lún của công trình sau khi cọc được liên kết vào móng thường rất nhỏ.
Với các công nghệ thi công hiện có, phương pháp gia cường bằng móng sâu có thể áp dụng được trong hầu hết các điều kiện đất nền thường gặp trong thực tế, kể cả những trường hợp mặt bằng thi công cọc chật hẹp và bị hạn chế về chiều cao thao tác. Công nghệ thi công thông dụng hiện nay là sử dụng kích ép cọc với đối tải là trọng lượng của công trình.
Một số vấn đề cần lưu ý khi thực hiện thiết kế gia cố bằng phương pháp ép sau là:
- Khoảng cách từ cọc đến tường hoặc cột là tối thiểu (trong phạm vi công nghệ thi công cho phép);
- Tiết diện cọc và độ sâu ép cọc xác định theo lực ép lớn nhất, Pmax, cho phép tác dụng lên công trình khi thi công. Lực này được xác định theo trọng lượng và độ cứng của kết cấu công trình;
- Neo ép cọc cần được thiết kế với hệ số an toàn FS lớn hơn 2;
- Cần chú ý đến tải trọng thi công ép cọc khi thiết kế hệ thống giằng móng.
Móng bê tông cốt thép dưới các cột hoặc tường bê tông cốt thép có thể là móng đơn, móng băng hoặc móng bè. Giải pháp thiết kế gia cường các loại móng này bằng cọc thường được sử dụng là:
- Đối với móng đơn: Nếu bề rộng móng tương đối nhỏ thì có thể bố trí cọc ra phía ngoài móng. Ngược lại khi bề rộng đáy móng lớn thì phải khoan dẫn qua bê tông để có thể ép cọc;
- Đối với móng băng: Nếu bề rộng móng tương đối nhỏ thì có thể bố trí cọc hai bên móng tương tự như trường hợp móng dưới tường chịu lực. Nếu bề rộng móng khá lớn thì phải áp dụng biện pháp khoan dẫn qua bê tông bản móng để ép cọc;
- Đối với móng bè: Trong trường hợp này việc khoan dẫn qua bê tông là bắt buộc. Khi bố trí cọc cần lưu ý tránh khoan dẫn vào các sườn móng (nếu có).
Neo ép cọc có thể được liên kết vào hệ thống đài giằng hoặc vào hệ thống dầm thép tạm thời được lắp đặt phục vụ mục đích ép cọc và được thu hồi ngay sau khi kết thúc ép cọc. Các ưu điểm và nhược điểm của từng biện pháp thi công nêu trên như sau:
- Khi sử dụng hệ thống neo cố định:
+ Neo và đài giằng ổn định, dễ dàng ép cọc thẳng đứng;
+ Vị trí ép cọc khó thay đổi;
+ Thời gian từ khi thi công đài giằng đến khi ép dài (lớn hơn 15 ngày);
+ Chi phí cao vì hệ thống đài giằng được thiết kế chịu tải trọng thi công cao hơn nhiều so với tải trọng thiết kế;
+ Không thu hồi được neo.
- Khi sử dụng hệ thống dầm thép tạm thời:
+ Dễ dàng điều chỉnh vị trí ép cọc cho phù hợp với điều kiện thực tế, đặc biệt là khi cần bổ sung cọc;
+ Có thể bắt đầu ép cọc ngay sau khi lắp đặt hệ dầm;
+ Dầm được thu hồi ngay sau khi ép cọc;
+ Kém ổn định;
+ Dễ gây hư hại kết cấu công trình cũ do ép cục bộ tại vị trí truyền tải từ dầm thép sang kết cấu.
Hình 18 thể hiện một ví dụ về cấu tạo hệ thống đài cọc sử dụng trong gia cố móng của kết cấu khung. Để tăng cường bám dính giữa hệ móng mới và cổ móng, nên đục nhám bề mặt bê tông móng cũ và có thể tăng cường một số neo liên kết. Khoảng cách giữa các neo thép thông thường từ 20 cm đến 30 cm. Nên bổ sung giằng giữa các cột của công trình nếu móng cũ không có hệ thống giằng hoặc hệ thống giằng cũ không đủ cứng.
6.2.4.5. Sửa chữa kết cấu bị hư hỏng do lún nền móng
Việc sửa chữa kết cấu bên trên bị xuống cấp do nguyên nhân lún nền móng được thực hiện sau khi đã hoàn thành biện pháp gia cường nền móng. Một số phương pháp sửa chữa được trình bày trong 6.1.4.
6.2.5. Ghi chép và lưu giữ hồ sơ
Các hồ sơ về khảo sát, thiết kế, và thi công cần được tập hợp và lưu trữ lâu dài.
Trong quá trình thi công cần thực hiện ghi chép và lập hồ sơ theo qui định của các tiêu chuẩn TCVN 4055:2012; TCVN 9361:2012; TCVN 4453:1995 và TCVN 4085:1985.

CHÚ DẪN:
1 Cột
2 Neo
3 Lỗ chờ hình côn
4 Đài cọc mới
5 Cọc
6 Móng cũ
Hình 18 - Gia cố móng dưới cột hoặc tường bê tông cốt thép
6.3. Sửa chữa kết cấu hư hỏng do tác động của điều kiện khí hậu nóng ẩm
6.3.1. Nguyên tắc chung
Mục này hướng dẫn kiểm tra chi tiết, xác định cơ chế và mức độ xuống cấp và các biện pháp sửa chữa hoặc gia cường kết cấu hư hỏng do tác động của các điều kiện khí hậu nóng ẩm (như nhiệt độ và độ ẩm không khí, bức xạ mặt trời, mưa gió, bão…).
Các kết cấu trong công trình xây dựng chịu tác động trực tiếp của các điều kiện khí hậu là các kết cấu lộ thiên, gồm có:
- Mái bê tông cốt thép;
- Khung bê tông cốt thép (dầm, cột) ngoài trời;
- Tường bê tông cốt thép ngoài trời (tường ngoài, tường chắn mái, tường bể nước, thành silo).
Dấu hiệu xuống cấp: dấu hiệu xuống cấp các kết cấu nêu trên gồm có:
- Nứt bê tông;
- Thấm nước mưa;
- Rêu mốc;
- Cacbonat hóa.
Dấu hiệu các bô nát hóa đã được chỉ dẫn ở 6.4. Trong mục này, việc kiểm tra chi tiết và hoạt động sửa chữa chỉ tiến hành với 3 dấu hiệu còn lại.
Nguyên nhân xuống cấp:
- Tình trạng nứt kết cấu bê tông: kết cấu bê tông cốt thép có thể bị nứt dưới tác động của khí hậu nóng ẩm do các nguyên nhân sau:
+ Biến dạng nhiệt ẩm quá lớn do thiếu khe co dãn nhiệt ẩm;
+ Thiếu cốt thép âm;
+ Cốt thép chủ bị rỉ do hiện tượng cacbonat hóa bê tông, làm nứt lớp bảo vệ của bê tông;
+ Kết cấu không đủ độ cứng chịu lực;
+ Không tính đủ tải trọng nhiệt môi trường khi thiết kế.
- Thấm nước: kết cấu mái hoặc tường bê tông cốt thép bị thấm nước có thể do những nguyên nhân sau:
+ Kết cấu bị nứt (mái bê tông cốt thép, sênô, ô văng, tường…);
+ Bê tông kết cấu không có khả năng ngăn nước (mác bê tông thấp, đầm không chặt, bị rỗ…);
+ Bị phá vỡ liên kết các chi tiết kỹ thuật qua kết cấu (như đường ống, dây thu lôi, cáp điện…);
+ Bị hỏng màng chắn nước trên mặt kết cấu (lớp láng vữa xi măng cát; lớp sơn chống thấm hay lớp giấy dầu, giấy cao su).
- Tình trạng rêu mốc: rêu mốc xuất hiện khi có đồng thời 2 yếu tố sau đây:
+ Tích ẩm;
+ Tồn tại vi sinh vật gây mốc.
Thiếu một trong hai yếu tố này thì không có rêu mốc.
6.3.2. Kiểm tra chi tiết
6.3.2.1. Khảo sát tình trạng nứt mặt bê tông
Cần khảo sát trên toàn bộ bề mặt kết cấu lộ thiên, chịu tác động trực tiếp của các yếu tố khí hậu nhiệt ẩm. Đặc biệt cần khảo sát ở những vị trí nguy hiểm của kết cấu như: vị trí gối tựa có mômen âm; vị trí một phần ba khẩu độ vượt sàn mái; khe co dãn hoặc khe nối; vị trí cốt thép bị rỉ… Các thông số yêu cầu khi khảo sát tình trạng nứt bề mặt kết cấu gồm có:
- Số lượng hay mật độ vết nứt;
- Chiều dài và bề rộng vết nứt;
- Khoảng cách giữa các vết nứt;
- Vị trí vết nứt;
- Đặc điểm vị trí vết nứt (chỗ có mô men âm, chỗ có cốt thép bị rỉ…);
- Nứt có quy luật hay không.
6.3.2.2. Khảo sát tình trạng thấm nước
Đối với mái bê tông cốt thép: tiến hành khảo sát tình trạng thấm ở mặt dưới sàn bê tông mái sau mỗi trận mưa. Nên chú ý khảo sát ở những chỗ tiếp giáp với tường, dưới các dầm đỡ sàn, chỗ gắn kết sàn mái với các chi tiết kỹ thuật xuyên qua mái, những chỗ có nghi ngờ bị nứt, các góc sênô (máng nước), góc ôvăng (mái hắt).
Đối với tường bê tông cốt thép thì cần chú ý khảo sát ở những khe lún, khe co dãn, chỗ điểm dừng thi công bê tông, những vị trí có đặt gioăng chắn nước, chỗ có vết nứt, chỗ rỗ.
Việc khảo sát thấm cần làm sáng tỏ những vấn đề sau đây:
- Nguồn thấm;
- Số điểm thấm;
- Vị trí thấm;
- Diện tích bị thấm;
- Tình trạng thấm (thấm ẩm hay thấm nhỏ giọt, thấm có dòng chảy);
- Thấm có quy luật hay không;
- Kết cấu có chịu lực hay không.
6.3.2.3. Khảo sát tình trạng rêu mốc
Tiến hành khảo sát mặt ngoài kết cấu. Chú ý ở những điểm thường xuyên tích ẩm như: các gờ chỉ, góc trên mái hắt, những chỗ thường xuyên có nguồn ẩm do vỡ đường ống nước hay do tưới cây.
Kết quả khảo sát cần làm sáng tỏ các vấn đề sau đây:
- Nguồn sinh rêu mốc;
- Vị trí rêu mốc;
- Số điểm rêu mốc;
- Diện tích rêu mốc;
- Mức độ rêu mốc (nặng hay nhẹ);
- Loại hình rêu mốc;
- Có mùi rêu mốc hay không.
6.3.3. Nhận biết cơ chế xuống cấp và xác định hướng khắc phục
6.3.3.1. Đối với tình trạng nứt bê tông
Trên cơ sở số liệu khảo sát tình trạng nứt, cần phân tích để xác định cơ chế phát sinh vết nứt. Một số cơ chế điển hình và hướng khắc phục được xem xét dưới đây.
6.3.3.1.1. Khi kết cấu quá dài mà không có khe co dãn nhiệt ẩm thì các vết nứt thường cách đều nhau, hoặc vết nứt sẽ xuất hiện ở những chỗ bị cản biến dạng. Vết nứt do biến dạng nhiệt ẩm thường là nứt xuyên suốt kết cấu (đứt kết cấu bê tông) và thẳng góc với phương biến dạng.
Hướng khắc phục các vết nứt dạng này là hạn chế biến dạng nhiệt ẩm của kết cấu. Có thể thực hiện theo các hướng sau:
a) Đặt khe co dãn nhiệt ẩm với khoảng cách theo qui định của TCVN 9345:2012 cho các kết cấu chịu tác động trực tiếp của điều kiện khí hậu.
Cụ thể như sau:
- Đối với khe dãn:
Lmax trong khoảng 6 m đến 9 m - Đối với kết cấu lộ thiên không có cốt thép hoặc chỉ có cốt thép cấu tạo, chịu tác động trực tiếp của khí hậu (như bê tông chống thấm mái, đường ô tô, sân bãi…)
Lmax nhỏ hơn 18 m - Đối với kết cấu không cốt thép, hoặc chỉ có cốt thép cấu tạo, được che chắn khỏi bức xạ mặt trời.
Lmax bằng 35 m - Đối với kết cấu bê tông cốt thép chịu tác động trực tiếp của bức xạ mặt trời (sàn mái, tường bê tông cốt thép ngoài nhà).
Lmax bằng 50 m - Đối với kết cấu bê tông cốt thép được che chắn khỏi bức xạ mặt trời (như sàn mái được chống nóng; tường trong nhà…).
Có thể kết hợp khe co dãn nhiệt ẩm dạng này cùng với khe lún của công trình.
- Đối với khe co:
Imax trong khoảng 6 m đến 9 m đối với mọi kết cấu bê tông cốt thép T chịu tác động trực tiếp của khí hậu.
Imax bằng một phần hai chiều cao vòm đối với kết cấu dạng vòm chịu tác động trực tiếp của khí hậu.
CHÚ THÍCH: Đối với các kết cấu vỏ có khẩu độ lớn, việc đặt khe co cần được tính toán riêng.
Vị trí đặt các khe co dãn nhiệt ẩm được thực hiện theo chỉ dẫn của TCVN 9345:2012.
b) Bảo vệ kết cấu khỏi tác động trực tiếp của môi trường nhiệt ẩm bằng cách che chắn, bọc vật liệu cách nhiệt. Thí dụ chống nóng cho mái bằng.
6.3.3.1.2. Các vết nứt chạy dọc các gối sàn mái liên tục nhiều nhịp thường là do thiếu thép âm tại các gối này. Các vết nứt dạng này thường mở rộng ở trên mặt và khép dần theo chiều sâu bê tông.
Hướng khắc phục là phải bảo vệ sàn mái khỏi tác động trực tiếp của môi trường (chống nóng mái) theo TCVN 5718:1993.
6.3.3.1.3. Các vết nứt cắt ngang sàn mái ở vị trí khoảng từ một phần ba đến một phần tư khẩu độ vượt sàn thường là do khi tính toán thiết kế hoặc thi công sàn đã bỏ qua yếu tố biến dạng nhiệt ẩm của bê tông. Đặc điểm của các vết nứt này là đứt xuyên suốt bê tông, bề rộng vết nứt ở mặt dưới sàn thường lớn hơn mặt trên sàn. Hướng khắc phục ở đây là bảo vệ sàn mái khỏi tác động trực tiếp của môi trường.
6.3.3.1.4. Đối với các sàn bê tông mái có chiều dày không đủ đạt được độ cứng thì thường xuất hiện vết nứt ở chỗ có mô men uốn lớn nhất và chỗ chuyển tiếp mô men âm sang dương (thường tại khoảng từ một phần ba đến một phần tư khẩu độ sàn). Hướng khắc phục là đổ thêm một lớp sàn gia cường cho đủ độ cứng cần thiết.
6.3.3.1.5. Các vết nứt chạy dọc theo cốt thép (cột, dầm, sàn, tường) thường là do thép chủ bị gỉ do cacbonat hóa bê tông, trương nở làm nứt lớp bảo vệ cốt thép. Hướng giải quyết ở đây là đánh gỉ và gia cường cốt thép chủ. Sau đó kiến tạo lại lớp bảo vệ mới (xem 6.4).
6.3.3.1.6. Các dầm bê tông cốt thép nổi trên mái chịu tác động trực tiếp của các yếu tố khí hậu thường hay xuất hiện vết nứt ngang dầm tại khu vực trục trung hòa, nơi không có thép chủ, cách đều và thẳng góc với trục trung hòa. Đặc điểm các vết nứt này là nứt xuyên suốt chiều ngang dầm. Giải pháp khắc phục là phun ép hồ xi măng làm đầy các vết nứt, sau đó bọc xung quanh dầm bê tông cốt thép bằng vật liệu cách nhiệt để dầm không phải chịu tác động trực tiếp của môi trường. Khi cần thì phải tính toán lại khả năng chịu lực của dầm.
6.3.3.1.7. Các kết cấu dạng vòm bê tông cốt thép ngoài trời thường bị nứt tiện vòng quanh tại một phần hai chiều cao vòm (Hình 19a). Giải pháp khắc phục ở đây là đặt khe co tại một phần hai chiều cao vòm và chạy quanh vòm (nếu làm mới) theo chỉ dẫn của TCVN 9345:2012 và bảo vệ vòm khỏi tác động trực tiếp của khí hậu (nếu sửa chữa).
6.3.3.1.8. Tại các góc trần bê tông cốt thép ở tầng áp mái thường xuất hiện vết nứt vòng quanh nhà, do sàn mái bị biến dạng nhiệt ẩm theo chu kỳ, đã tiện đứt liên kết giữa tường và sàn (Hình 19b). Giải pháp khắc phục ở đây là chống nóng cho sàn mái để hạn chế biến dạng co nở. Sau đó gắn vá lại các vết nứt đã có trên góc trần.
6.3.3.1.9. Các ô văng và sênô quá dài thường xuất hiện vết nứt ngang cách đều nhau (Hình 19c). Đặc điểm của các vết nứt này là xuyên suốt, cắt đứt sàn bê tông. Giải pháp khắc phục ở đây là tạo khe co theo chỉ dẫn của TCVN 9345:2012 để chủ động cho vết nứt sẽ chỉ xuất hiện tại khe này.
6.3.3.1.10. Đối với các mái nhà cầu nối từ nhà nọ sang nhà kia thì thường xuất hiện vết nứt tại hai đầu liên kết với tường nhà. Hướng khắc phục là tạo liên kết mềm giữa sàn mái nhà cầu và tường nhà dưới dạng một khe co dãn nhiệt ẩm. Hoặc có thể có giải pháp bảo vệ bê tông mái khỏi chịu tác động trực tiếp của điều kiện khí hậu (để hạn chế biến dạng bê tông).

Hình 19 - Vết nứt trên các kết cấu bê tông cốt thép do tác động của khí hậu nóng ẩm
6.3.3.2. Đối với tình trạng thấm nước
Cần phân biệt các dạng thấm do nứt bê tông, do bê tông không đặc chắc, do phá vỡ liên kết bê tông với tường hoặc chi tiết kỹ thuật, hay bị hỏng màng vật liệu ngăn nước (xem Hình 20 cho mái).


Hình 20 - Các dạng thấm qua mái bê tông cốt thép
Tùy theo mức độ suy thoái, các dạng hư hỏng trên đều có thể gây thấm ẩm hoặc thấm nhỏ giọt. Nghiêm trọng có thể chảy dòng.
Hướng khắc phục các dạng thấm có thể chọn như sau:
- Thấm do nứt bê tông: tùy theo bề rộng và độ sâu vết nứt có thể bơm keo, bơm hồ xi măng, xảm matit, xảm vữa xi măng (xem 6.4). Xong trước hết cần khắc phục cơ chế gây ra nứt.
- Thấm do bê tông không đặc chắc: có thể dùng bơm ép hồ xi măng, đập bỏ trám vá cục bộ, hoặc nếu thấm diện rộng có thể tạo thêm lớp bê tông chống thấm mới.
- Thấm do phá vỡ liên kết bê tông mái với tường hoặc chi tiết kỹ thuật xuyên qua mái: tất cả sự phá vỡ liên kết này đều do bê tông mái bị biến dạng liên tục theo chu kỳ dưới tác động của khí hậu nóng ẩm. Cần khắc phục cơ chế biến dạng này (như tạo liên kết mềm hay chống nóng bê tông mái), sau đó mới tạo liên kết mới.
- Thấm do hỏng màng vật liệu ngăn nước. Màng sơn chống thấm có thể bị rách, bị bong. Cần tạo màng sơn mới thay thế các chỗ này. Theo TCVN 5718:1993 thì không được sử dụng giấy cách nước dán trên mặt mái bê tông trong điều kiện khí hậu nóng ẩm Việt Nam. Cần tạo giải pháp chống thấm khác.
6.3.3.3. Đối với tình trạng rêu mốc
Cần xác định cơ chế rêu mốc do tích bụi, tích ẩm hay thường xuyên có nguồn vi sinh (như ở nơi chế biến thực phẩm). Nguyên tắc chung là phải tìm cách loại bỏ một trong hai yếu tố: nguồn ẩm hoặc nguồn vi sinh.
6.3.4. Đánh giá mức độ xuống cấp và lựa chọn biện pháp sửa chữa
6.3.4.1. Xuống cấp do kết cấu bị nứt
6.3.4.1.1. Kiểm tra công năng
Mức độ xuống cấp của kết cấu khi bị nứt được đánh giá theo các chỉ số công năng sau đây:
a) Kiểm tra theo khả năng sử dụng bình thường.
Những chỉ số công năng sau đây cần được kiểm tra:
- Độ võng: độ võng được coi là không ảnh hưởng đến khả năng làm việc bình thường của kết cấu nếu thỏa mãn điều kiện sau đây:
ftt <>yc (9)
trong đó:
ftt - Độ võng thực tế tại thời điểm kiểm tra
fyc - Độ võng yêu cầu của kết cấu, xác định theo TCVN 5574:1991.
- Bề rộng vết nứt: bề rộng vết nứt được xác định là không lớn hơn giá trị ghi trong TCVN 5574:1991 tùy theo tầm quan trọng của kết cấu và loại cốt thép sử dụng.
- Mật độ vết nứt: mật độ vết nứt phải không lớn đến mức làm cho người sử dụng cảm thấy sợ hãi.
b) Kiểm tra theo độ an toàn
Cần kiểm tra trạng thái giới hạn cực hạn để đảm bảo an toàn của kết cấu cả khi có xuất hiện một số vết nứt vượt quá giới hạn cho phép.
Các chỉ số công năng cần kiểm tra là: lực dọc, mô men uốn, lực cắt và lực xoắn tác động lên kết cấu.
Nếu các chỉ số công năng trên không thỏa mãn yêu cầu đề ra thì phải có biện pháp khắc phục hậu quả nứt.
Ngoài các công năng cần kiểm tra nêu trên, khi kết cấu bị nứt thì còn phải quan tâm đến khả năng bền lâu. Yếu tố cần quan tâm ở đây là tình trạng vết nứt. Cụ thể như sau:
- Đối với kết cấu không ứng lực trước: bề rộng vết nứt không được lớn hơn 0,2 mm là giá trị có thể gây ăn mòn cốt thép chủ trong điều kiện tác động trực tiếp của khí hậu nóng ẩm;
- Đối với kết cấu ứng lực trước: yêu cầu không có vết nứt.
Các kết cấu bê tông cốt thép không chịu lực bị nứt thì cần xem xét khả năng kết cấu có thể bị vỡ, bị gãy hay không.
6.3.4.1.2. Biện pháp khắc phục
Biện pháp khắc phục cho mỗi kết cấu bị nứt cần được xác định cụ thể theo hướng nêu trong 6.3.3.
6.3.4.2. Xuống cấp do kết cấu bị thấm
6.3.4.2.1. Kiểm tra công năng
Công năng cần kiểm tra là khả năng sử dụng bình thường.
Kết cấu bê tông cốt thép bị thấm có thể phân ra 2 mức: thấm ẩm và thấm nhỏ giọt hay chảy dòng. Các chỉ số công năng sau đây cần được xem xét:
- Không thấm ẩm: cho kết cấu có tầm quan trọng và kết cấu có yêu cầu thẩm mỹ cao;
- Không thấm nhỏ giọt hay thấm chảy dòng: cho mọi kết cấu;
Lượng nước mất hàng ngày của các bể chứa do bị thấm không quá mức quy định của tiêu chuẩn hiện hành.
Nếu các chỉ số công năng kiểm tra trên không thỏa mãn yêu cầu đề ra thì phải có biện pháp khắc phục hậu quả thấm.
Ngoài ra cần quan tâm tới độ bền lâu của kết cấu. Cụ thể như sau:
- Đối với kết cấu bê tông cốt thép: Mức thấm phải không gây cho cốt thép chủ bị ăn mòn tới mức mất trên 5% tiết diện cốt thép trong thời gian sử dụng.
- Đối với kết cấu bê tông không cốt thép: không thấm nhỏ giọt hay thấm chảy dòng.
6.3.4.2.1. Biện pháp khắc phục
Trong mọi trường hợp, việc chống thấm phải được tiến hành từ phía nguồn thấm;
Trong trường hợp bị thấm ẩm thì có thể trát vữa xi măng cát đánh màu, dùng sơn chống thấm hoặc dùng màng ngăn nước từ phía nguồn thấm;
Trong trường hợp bị thấm nhỏ giọt hay thấm chảy dòng thì phải phun ép hồ xi măng dưới áp lực cao để ngắt dòng chảy, chuyển về chỉ còn thấm ẩm. Khi cần có thể dùng hồ xi măng nở ninh kết nhanh để ngắt dòng chảy, sau đó mới tiến hành chống thấm ẩm;
Đối với kết cấu mái: nếu các điểm thấm trải đều trên khắp mặt trần mái thì có thể đổ một lớp bê tông chống thấm lên trên mặt mái.
6.3.4.3. Xuống cấp do rêu mốc
6.3.4.3.1. Kiểm tra công năng
Rêu mốc làm xuống cấp vẻ đẹp công trình. Cần phải đánh giá ảnh hưởng của rêu mốc đến các lớp trang trí mặt ngoài của kết cấu như lớp vữa vi măng trát ngoài, lớp đá rửa, lớp sơn vôi trang trí.
Chỉ số công năng kiểm tra ở đây là: không rêu mốc.
6.3.4.3.2. Biện pháp khắc phục
Đa số các trường hợp rêu mốc đều gây bạc màu trang trí sau khi được cọ rửa. Vì vậy thường phải làm lại lớp màu công trình sau khi đã tạo được bề mặt kết cấu có khả năng thoát ẩm và thoát bụi.
Điều kiện cần và đủ để phát sinh rêu mốc là:
Có ẩm ướt;
Có vi sinh vật gây mốc.
Hướng khắc phục có hiệu quả là hạn chế nguồn gây ẩm ướt bề mặt kết cấu như vỡ ống nước và nguồn tích bụi ở các gờ chỉ mặt tường ngoài.
Đối với trường hợp lớp mặt kết cấu bị bở bục thì cần kiểm tra độ pH (tham khảo theo ASTM D 1293-95) và cường độ (theo TCVN 3118:1993) của lớp mặt này. Nếu ở những chỗ có rêu mốc, độ pH của lớp mặt bê tông hoặc lớp vữa giảm tới mức dưới 8,5 và cường độ giảm rõ rệt, thì phải tạo một lớp mặt mới có tác dụng bảo vệ tốt hơn.
6.3.5. Một số giải pháp sửa chữa cụ thể
6.3.5.1 Sửa chữa kết cấu bị nứt
Cơ sở phát sinh vết nứt là biến dạng nhiệt ẩm gây ứng suất kéo vượt quá giới hạn kéo của bê tông. Vì vậy việc sửa chữa trước hết là làm hạn chế biến dạng nhiệt ẩm của bê tông. Sau đó mới sửa chữa vết nứt.
Đối với kết cấu có thể cắt để tạo khe co giãn nhiệt ẩm thì phải đặt khe co dãn nhiệt ẩm trước khi xử lý vết nứt.
Đối với kết cấu không thể cắt để tạo khe co dãn nhiệt ẩm thì phải có giải pháp bảo vệ kết cấu (bọc hoặc chống nóng) khỏi tác động trực tiếp của điều kiện khí hậu nóng ẩm sau khi đã xử lý vết nứt.
Phương pháp sửa chữa vết nứt được hướng dẫn ở 6.4.
6.3.5.2. Sửa chữa kết cấu thấm nước
6.3.5.2.1. Những nguyên tắc cần đảm bảo khi sửa chữa kết cấu bị thấm nước
Gia cường để khôi phục khả năng chịu lực của kết cấu trước khi chống thấm.
Chống thấm từ phía có nguồn thấm.
Cần quan tâm tới khả năng đặt khe co dãn nhiệt ẩm trước khi chống thấm.
Khi kết cấu không đặt được khe co dãn nhiệt ẩm thì phải có dùng sơn chống thấm và phải có giải pháp che chắn bảo vệ kết cấu khỏi tác động trực tiếp của điều kiện khí hậu nóng ẩm theo TCVN 5718:1993.
Sơn chống thấm phải được che chắn khỏi tác động trực tiếp của bức xạ mặt trời.
6.3.5.2.2. Quy trình sửa chữa chống thấm điển hình cho sàn mái bê tông mái bị thấm
Phá dỡ tất cả những gì có trên mặt bê tông sàn mái cho tới hở mặt bê tông.
Đục tẩy những chỗ rỗ, vết nứt, chỗ có khuyết tật trên mặt bê tông.
Cọ rửa sạch mặt bê tông sàn mái.
Trám vá lại các vết nứt và các chỗ đã đục tẩy.
Quét 2 nước sơn đến 3 nước sơn chống thấm (theo chỉ dẫn của nhà sản xuất sơn).
Chống nóng mái. (Theo TCVN 5718:1993).
Lát gạch đất sét nung (gạch lá nem)
CHÚ THÍCH: Khi kết cấu mái bị suy giảm khả năng chịu lực thì cần có biện pháp gia cường để khôi phục khả năng chịu lực của kết cấu trước khi làm các bước trên.
6.3.5.2.3. Yêu cầu kỹ thuật chống nóng cho mái bằng bê tông cốt thép
a) Mục đích chống nóng
Làm mát không gian dưới nhà.
Bảo vệ sàn bê tông mái và lớp sơn chống thấm khỏi tác động trực tiếp của các yếu tố khí hậu nóng ẩm (để hạn chế biến dạng bê tông và tránh lão hóa màng sơn chống thấm).
b) Vật liệu chống nóng
Có thể dùng các vật liệu sẵn có trên thị trường chống nóng mái (như: xỉ nhiệt điện, xỉ lò cao; gốm xốp; bê tông xốp; sỏi keramzit; bê tông polystyrene; tấm xốp polystyrene…).
Yêu cầu chiều dày lớp vật liệu chống nóng h được lấy theo TCVN 5718:1993.
Khi chống nóng bằng cách lợp mái dốc phía trên thì cần đảm bảo 2 nguyên tắc sau đây (Hình 21):

Hình 21 - Sơ đồ chống nóng bằng lợp mái dốc
- Chiều cao h từ đỉnh nóc của mái dốc không dưới 1,5 m.
- Có cơ cấu thoát nhiệt trong mái.
6.3.5.2.4.
Sơ đồ điển hình một mái bê tông cốt thép sửa chữa có chống thấm và chống nóng xem Hình 22.
6.3.6. Ghi chép và lưu giữ hồ sơ
Tất cả những số liệu ghi chép dưới đây trong quá trình kiểm tra chi tiết và sửa chữa kết cấu cần được chuyển cho chủ công trình để lưu giữ lâu dài:
- Thuyết minh tính toán và thiết kế sửa chữa;
- Thuyết minh giải pháp sửa chữa;
- Biện pháp thi công sửa chữa;
- Bản vẽ hoàn công;
- Các biên bản kiểm tra.
- Sổ nhật ký công trình.

CHÚ DẪN:
1 Gạch lá nem chiết mạch vữa xi măng cát mác 50. Đặt khe co dãn nhiệt ẩm 3 m x 3 m
2 Vữa TH 50 dày 2 cm có khe co dãn nhiệt ẩm theo gạch lá nem
3 Lớp vật liệu chống nóng có độ dày theo TCVN 5718:1993 (nếu là tấm xốp polystyrene thì dày lớn hơn hoặc bằng 5cm; g ≥ 30 kg/m3)
4 Lớp sơn chống thấm
5 Sàn bê tông mái đã cọ rửa trám vá vết nứt và khuyết tật
Hình 22 - Sơ đồ mái bê tông cốt thép sửa chữa có chống thấm và chống nóng
6.4. Sửa chữa kết cấu hư hỏng do cacbonat hóa bề mặt bê tông
6.4.1. Phạm vi áp dụng
Mục này hướng dẫn các giải pháp kỹ thuật nhằm khắc phục tình trạng hư hỏng kết cấu do rỉ cốt thép dưới tác động của quá trình cácbonát hóa bề mặt bê tông. Nội dung cụ thể bao gồm các công việc: kiểm tra chi tiết hư hỏng kết cấu, đánh giá mức độ hư hỏng, dự báo thời gian sử dụng còn lại, lựa chọn biện pháp khắc phục và một số giải pháp sửa chữa, gia cường kết cấu thường sử dụng trong thực tế.
Đối tượng xem xét ở đây là các kết cấu bê tông cốt thép lộ thiên trong khí quyển, chịu tác động của tác nhân xâm thực chính là khí CO2. Đối với các trường hợp kết cấu ở trong môi trường khí quyển biển và khí quyển công nghiệp, khi các tác nhân xâm thực chính có thể không phải là khí CO2, biện pháp sửa chữa hư hỏng các kết cấu này được trình bày ở 6.5 và 6.6.
6.4.2. Kiểm tra chi tiết
6.4.2.1. Khảo sát sơ bộ và phân cấp hư hỏng kết cấu
Khảo sát sơ bộ bằng quan trắc toàn bộ kết cấu hay bộ phận kết cấu. Ghi chép đánh dấu trên bản vẽ kết hợp với chụp ảnh, quay phim ghi nhận các dấu hiệu hư hỏng sau đây (bao gồm dạng, vị trí và qui mô hư hỏng).
6.4.1.1.1. Dấu hiệu ăn mòn cốt thép
Biểu hiện là các vết rỉ vàng thấm ra ngoài bề mặt kết cấu, nứt lớp bê tông bảo vệ dọc cốt thép hoặc bong lở hoàn toàn lớp bê tông bảo vệ để lộ cốt thép đã bị rỉ.
6.4.1.2.2. Các dấu hiệu hư hỏng kết cấu khác
- Các dạng nứt kết cấu khác (ngoài nứt bê tông bảo vệ do rỉ cốt thép);
- Biến dạng kết cấu như võng, nghiêng, lệch…;
- Gãy, sụp đổ kết cấu.
Từ kết quả khảo sát sơ bộ như đã nêu trên, phân loại từng vùng hay từng bộ phận kết cấu theo các cấp hư hỏng điển hình như sau:
- Hư hỏng cấp I: vùng kết cấu hay bộ phận kết cấu chưa có bất cứ dấu hiệu hư hỏng nào thể hiện ra bên ngoài;
- Hư hỏng cấp II: vùng kết cấu hay bộ phận kết cấu đã có dấu hiệu bị hư hỏng nhẹ. Cụ thể gồm các dấu hiệu:
+ Cốt thép bị rỉ nhẹ, có vết rỉ thấm ra mặt ngoài kết cấu hoặc bê tông bảo vệ bị nứt nhỏ (bề rộng vết nứt tối đa là 0,1 mm), gõ nhẹ bằng búa không làm bong lớp bê tông bảo vệ;
+ Các dạng nứt kết cấu khác với bề rộng vết nứt nhỏ hơn 0,5 mm.
- Hư hỏng cấp III: vùng kết cấu hay bộ phận kết cấu bị hư hỏng nặng, gồm các dấu hiệu:
+ Cốt thép bị rỉ nặng, bê tông bị nứt to hoặc bong lở hoàn toàn trên diện rộng.
+ Có thể có dấu hiệu khả năng chịu lực của kết cấu đã bị suy giảm như nứt kết cấu nghiêm trọng, biến dạng kết cấu lớn…
- Hư hỏng cấp IV: kết cấu bị mất khả năng chịu lực hoàn toàn.
Các kết cấu lớn đơn chiếc như cầu, cống, silô, bể nước, kè, tháp, vòm… thì được phân thành các vùng hư hỏng khác nhau. Đối với hệ kết cấu gồm nhiều bộ phận như cột, dầm, sàn (nhà) thì từng bộ phận này được phân thành các mức hư hỏng như đã phân cấp ở trên.
Qui mô và mức độ khảo sát chi tiết được lựa chọn tùy theo cấp hư hỏng và tầm quan trọng của kết cấu (xem Bảng 7).
Bảng 7 - Qui mô kiểm tra chi tiết kết cấu tùy theo cấp độ hư hỏng
|
Cấp hư hỏng kết cấu hay bộ phận kết cấu |
Qui mô kiểm tra theo các thông số thí nghiệm |
|||
|
Tính chất cơ lý bê tông |
Ăn mòn cốt thép |
Chiều sâu cácbonat hóa và các tác nhân xâm thực khác |
Thông số đánh giá khả năng chịu lực |
|
|
Cấp I1) |
Thử tối thiểu 3 vùng hay. 3 bộ phận kết cấu bị hư hỏng |
Thử tối thiểu 15% số vùng hay bộ phận kết cấu hư hỏng |
Chọn trên 3 lõi khoan hoặc trên 3 mẫu khoan bột đại diện cho mỗi vùng hay bộ phận kết cấu hư hỏng đã chọn để kiểm tra |
- |
|
Cấp II |
Thử tối thiểu 3 vùng hay. 3 bộ phận kết cấu bị hư hỏng |
Thử tối thiểu 15% số vùng hay bộ phận kết cấu hư hỏng |
Chọn trên 3 lõi khoan hoặc trên 3 mẫu khoan bột đại diện cho mỗi vùng hay bộ phận kết cấu hư hỏng đã chọn để kiểm tra |
|
|
Cấp III, cấp IV2) |
Thử tối thiểu 3 vùng hay. 3 bộ phận kết cấu bị hư hỏng |
Tất cả số vùng hay bộ phận kết cấu hư hỏng |
Chọn trên 3 lõi khoan hoặc trên 3 mẫu khoan bột đại diện cho mỗi vùng hay bộ phận kết cấu hư hỏng đã chọn để kiểm tra |
Tất cả số vùng hay bộ phận kết cấu hư hỏng |
|
CHÚ THÍCH: 1) Đối với kết cấu thuộc bảo trì loại A cần phải kiểm tra tình trạng rỉ cốt thép trên toàn bộ kết cấu cho mọi cấp hư hỏng. 2) Đối với kết cấu đã bị hư hỏng hoàn toàn (Cấp IV), không cần phải kiểm tra chi tiết nếu chủ công trình không có yêu cầu xác định nguyên nhân hư hỏng. |
||||
6.4.2.2. Kiểm tra tính chất cơ lý của bê tông
Tính chất cơ lý của bê tông cần được kiểm tra trên các vùng hay bộ phận kết cấu đại diện theo cấp hư hỏng khác nhau, tập trung vào các vị trí quan trọng về chịu lực của công trình. Cụ thể, mỗi cấp hư hỏng chọn không ít hơn 3 vùng hoặc 3 bộ phận kết cấu đại diện để thử.
Chỉ tiêu cơ lý của bê tông cần được kiểm tra trong mọi trường hợp là cường độ chịu nén. Ngoài ra cũng cần kiểm tra thêm các chỉ tiêu khác như độ hút nước, mô đun đàn hồi, độ đồng nhất về cường độ… của bê tông.
Cách thức kiểm tra được tiến hành như sau:
- Từ mỗi vùng, bộ phận kết cấu được kiểm tra khoan lấy lõi từ 1 tổ mẫu đến 2 tổ mẫu, mỗi tổ 3 viên theo tiêu chuẩn TCVN 3105:1993. Trong trường hợp không thể khoan lấy lỗi, xác định cường độ và độ đồng nhất về cường độ trên kết cấu bằng các thí nghiệm không phá hủy như siêu âm, súng bật nảy… theo các tiêu chuẩn TCVN 9334:2012, TCVN 9357:2012 hoặc tham khảo theo TCXDVN 239:2006
- Trên các lõi khoan, quan sát và chụp ảnh hiện trạng bê tông, xác định chiều sâu cacbonát hóa theo 6.4.2.4. Tiếp theo xác định độ hút nước, cường độ chịu nén và mô đun đàn hồi của bê tông theo các tiêu chuẩn TCVN 3113:1993, TCVN 3118:1993, TCVN 5726:1993 hay tham khảo BS 1881 Part 120:83.
Nếu có yêu cầu về phân tích hàm lượng xi măng trong bê tông đã đóng rắn, sau khi ép, mẫu được lưu để xác định hàm lượng xi măng trong bê tông tham khảo theo ASTM 1084:1997.
6.4.2.3. Kiểm tra tình trạng ăn mòn cốt thép
Đối với các vùng kết cấu hoặc bộ phận kết cấu chưa bị hư hỏng (hư hỏng cấp I) hoặc bị hư hỏng nhẹ (cấp II), lựa chọn lấy tối thiểu 15% số vùng hoặc bộ phận kết cấu đại diện cho từng cấp hư hỏng này để định lượng mức độ rỉ cốt thép. Tiến hành kiểm tra không phá hủy tham khảo theo tiêu chuẩn TCVN 9348:2012 hoặc ASTM C 876:1999 kết hợp với đục lộ cốt thép tại một vài điểm để kiểm tra đối chứng. Cần kiểm tra kỹ tình trạng rỉ cốt thép tại các vết nứt nhỏ trên kết cấu nếu có.
Đối với các vùng kết cấu hay bộ phận kết cấu đã bị hư hỏng nặng (cấp III), tiến hành kiểm tra tình trạng ăn mòn cốt thép tại 100% số vùng và bộ phận kết cấu. Việc kiểm tra được tiến hành bằng cách đục lộ cốt thép, đo chiều dày lớp rỉ và đường kính còn lại của cốt thép bằng thước kẹp cơ khí.
Đối với các kết cấu hay hệ kết cấu quan trọng thuộc bảo trì loại A (xem 4.2.3) thì cần phải được kiểm tra tình trạng rỉ cốt thép trên toàn bộ kết cấu hay hệ kết cấu.
Tại các vùng kết cấu hay bộ phận kết cấu được kiểm tra ăn mòn cốt thép, cần xác định chiều dày lớp bê tông bảo vệ tương ứng. Phương pháp kiểm tra bằng thiết bị điện từ chuyên dụng tham khảo theo tiêu chuẩn BS 1881-Part 204:88, hoặc đục lộ cốt thép để đo trực tiếp. Nên lựa chọn vị trí kiểm tra ăn mòn cốt thép trùng với vị trí kiểm tra tính chất cơ lý của bê tông và vị trí lấy mẫu xác định chiều sâu cácbonat hóa.
6.4.2.4. Xác định chiều sâu cácbonat hóa
Vị trí lấy mẫu cần trùng với vị trí kiểm tra tính chất cơ lý của bê tông và tình trạng ăn mòn cốt thép trên kết cấu.
Trên cạnh tất cả các lõi khoan đại diện cho từng nhóm vùng hay bộ phận kết cấu theo các cấp độ hư hỏng khác nhau (xem 6.4.2.2) nhỏ dung dịch phenolphtalein từ mặt ngoài bê tông vào trong. Chiều sâu cácbonat hóa bê tông được xác định là khoảng cách từ mặt ngoài tới vị trí mà bê tông bắt đầu chuyển sang màu hồng.
Trong trường hợp không lấy được mẫu ở dạng lõi khoan, thì có thể áp dụng biện pháp khoan mẫu ở dạng bột như sau: dùng mũi khoan đường kính 12 cm đến 16 cm khoan nhiều lỗ trên một diện tích tối thiểu 400 cm2 theo các lớp 0 cm đến 1cm; 1cm đến 2cm;…6cm đến 8cm hoặc sâu hơn theo hướng từ ngoài vào trong. Lượng bột lấy cho mỗi lớp tối thiểu là 200g. Mẫu sau khi lấy cần được bảo quản ngay trong túi kín để tránh hiện tượng cacbonát hóa bê tông. Độ pH của bê tông được xác định trong phòng thí nghiệm tham khảo theo tiêu chuẩn ASTM D 5015:95. Phần bê tông được coi là đã bị cácbonat hóa hoàn toàn khi có pH nhỏ hơn hoặc bằng 9,5.
Trong trường hợp nghi ngờ nguyên nhân ăn mòn cốt thép có thể là do ion clorua, thì tiến hành phân tích xác định hàm lượng clorua trong bê tông theo tham khảo ASTM C 1152:94.
Trong trường hợp nghi ngờ nguyên nhân làm giảm độ pH của bê tông có thể còn là do ăn mòn bê tông ở dạng rửa trôi hoặc phân hủy thì phân tích một số chỉ tiêu về thành phần hóa của bê tông theo hướng dẫn ở 6.6.
6.4.2.5. Thu thập các số liệu đánh giá lại khả năng chịu lực của kết cấu
6.4.2.5.1. Cần phải đánh giá lại khả năng chịu lực và sự làm việc bình thường của kết cấu tại tất cả các vị trí kết cấu hay bộ phận kết cấu quan trọng về yêu cầu chịu lực, các vị trí kết cấu bị hư hỏng nặng (cấp III). Các số liệu cần thiết để đánh giá gồm có:
- Kích thước hình học kết cấu, các mặt cắt tiết diện;
- Bố trí cốt thép;
- Mức độ rỉ cốt thép, đường kính cốt thép còn lại;
- Cường độ và độ đồng nhất về cường độ của bê tông;
- Tải trọng và tác động lên kết cấu;
- Các dạng vết nứt vỡ và mức độ biến dạng của kết cấu.
Trong một số trường hợp cần thiết nếu không xác định được chính xác các thông số nói trên thì có thể gia tải kết cấu để kiểm tra trực tiếp khả năng chịu lực của chúng. Chi tiết xem hướng dẫn ở 6.1.
6.4.2.5.2. Kích thước hình học và mặt cắt tiết diện kết cấu được xác định bằng phương pháp đo vẽ trực tiếp. Bố trí cốt thép được lấy theo hồ sơ hoàn công. Trong trường hợp không có hồ sơ hoàn công thì tiến hành dò cốt thép bằng thiết bị điện từ theo tiêu chuẩn TCVN 9356:2012 hoặc tham khảo BS 1881. Part 204:88. Cường độ và độ đồng nhất của bê tông nếu chưa được kiểm tra theo 3.4.2.2 thì xác định bằng các phương pháp không phá hủy theo TCVN 9334:2012, TCVN 9357:2012 hoặc tham khảo theo TCXDVN 239:2006. Mức độ rỉ cốt thép và đường kính còn lại xác định trực tiếp bằng thước kẹp cơ khí.
Tải trọng tác động lên kết cấu được xác định trực tiếp trên hiện trường, tính toán theo tiêu chuẩn TCVN 2737:1995.
Các vết nứt và biến dạng của kết cấu dưới tác động của tải trọng được kiểm tra, khảo sát theo hướng dẫn ghi trong 6.1 và 6.3.
Trong trường hợp nghi ngờ có thể có các nguyên nhân khác dẫn tới suy thoái kết cấu ngoài nguyên nhân rỉ cốt thép do hiện tượng cácbonat hóa như lún nền móng, tác động chu kỳ của khí hậu nóng ẩm, tác động sự cố bất thường của tải trọng… thì cần khảo sát thu thập thêm một số thông số khác có liên quan tới các dạng hư hỏng này được nêu trong 6.1; 6.2 và 6.3.
Khi kết cấu đã bị mất khả năng chịu lực hoàn toàn (hư hỏng ở cấp IV ở 6.4.2.1) về nguyên tắc không cần phải khảo sát chi tiết. Tuy nhiên trong trường hợp cần xác định nguyên nhân gây nên sự cố hư hỏng thì tiến hành xác định các thông số để kiểm tra lại khả năng chịu lực và sự làm việc bình thường của kết cấu như đã nói ở trên.
6.4.2.6. Kiểm tra các hồ sơ lưu trữ có liên quan và xác định tính chất xâm thực của môi trường
Các hồ sơ lưu trữ có liên quan cần được kiểm tra như sau:
- Hồ sơ thiết kế;
- Hồ sơ hoàn công;
- Nhật ký thi công.
- Biên bản kiểm tra chất lượng trong thi công.
- Hồ sơ ghi chép kết quả kiểm tra ban đầu, thường xuyên và định kỳ (xem Điều 5).
Ngoài ra cần phải tiến hành xác lập các thông tin sau:
- Tầm quan trọng và cấp bảo trì của công trình; tuổi thọ thiết kế ban đầu; thời gian thực tế công trình đã được sử dụng; các đợt sửa chữa trước đây (nếu có);
- Nguồn vật liệu đã sử dụng như xi măng, cốt liệu, nước trộn, phụ gia, mác bê tông, hàm lượng xi măng…;
- Điều kiện sử dụng có tính xâm thực tới kết cấu như độ ẩm ướt của kết cấu, nguồn tải khí CO2, ion clorua (nếu có).
6.4.3. Nhận biết cơ chế và xác định cơ chế và tốc độ xuống cấp
6.4.3.1. Xác định cơ chế xuống cấp
Kết cấu được coi là bị suy thoái bởi nguyên nhân chính là do rỉ cốt thép dưới tác động của quá trình cácbonat hóa bê tông khi có các bằng chứng sau:
- Có dấu hiệu rỉ theo 6.4.2.1 hoặc chưa có dấu hiệu rỉ nhưng điện thế ăn mòn Ecorr xác định theo 3.4.2.3 có giá trị nhỏ hơn hoặc bằng âm 350 mV;
- Bê tông tại vị trí cốt thép có độ pH nhỏ hơn hoặc bằng 10,5;
- Không phát hiện thấy các nguyên nhân gây suy thoái kết cấu khác.
Trong trường hợp có các dấu hiệu để suy diễn tới các nguyên nhân gây suy thoái kết cấu như hàm lượng ion clorua cao, bê tông bị ăn mòn, công trình bị lún nền móng, tác động chu kỳ của khí hậu nóng ẩm… thì để nhận định về cơ chế xuống cấp của kết cấu cần tham khảo thêm các chỉ dẫn được nêu trong 6.1; 6.2; 6.3; 6.5 và 6.6.
6.4.3.2. Xác định tốc độ xuống cấp
6.4.3.2.1. Nguyên tắc chung
Quá trình ăn mòn cốt thép dưới tác động của hiện tượng cácbonát hóa bê tông được phân làm hai giai đoạn chính như trình bày ở Bảng 8. Trong giai đoạn tích tụ điều kiện gây rỉ, thông số quyết định tốc độ suy thoái là sự phát triển chiều sâu cácbonat hóa trong bê tông. Mức giới hạn là chiều sâu cácbonat hóa gần đạt tới vị trí cốt thép (trong khoảng từ 0 mm đến 10 mm cách cốt thép). Ở giai đoạn phát triển rỉ, yếu tố quyết định tới tốc độ suy thoái là tốc độ rỉ cốt thép theo thời gian. Mốc giới hạn là tiết diện cốt thép tối thiểu khi đưa vào tính toán trạng thái giới hạn cực hạn về mặt chịu lực của kết cấu theo TCVN 5574:1991 thông qua các chỉ số công năng cụ thể về moment, lực dọc trục, lực cắt…
Bảng 8 - Mô tả các giai đoạn ăn mòn cốt thép dưới tác động của quá trình cácbonat hóa bê tông
|
Tên gọi giai đoạn ăn mòn |
Bản chất hiện tượng |
Yếu tố quyết định tốc độ suy thoái |
Giá trị giới hạn |
|
Giai đoạn tích tụ điều kiện gây rỉ |
Bê tông bị cácbonat hóa, pH giảm. |
Tốc độ cácbonat hóa bê tông |
Chiều sâu cácbonat hóa sát tới vị trí cốt thép |
|
Giai đoạn phát triển rỉ |
Cốt thép bị rỉ, gây nứt và bong lở bê tông bảo vệ cho tới khi mất khả năng chịu lực của kết cấu |
Tốc độ rỉ cốt thép |
Tiết diện cốt thép tối thiểu còn đảm bảo khả năng chịu lực |
6.4.3.2.2. Xác định tốc độ suy thoái trong giai đoạn tích tụ điều kiện gây rỉ
Trong giai đoạn này, tốc độ suy thoái được biểu thị bằng sự phát triển chiều sâu cácbonat hóa theo thời gian, xác định bằng công thức sau:
x = k (10)
trong đó:
x: Chiều dày lớp bê tông bị cácbonát hóa (hay là chiều sâu cácbonat hóa), tính bằng milimet (mm);
k: Hệ số phản ánh tốc độ cácbonát hóa;
tin: Thời gian bê tông chịu tác động xâm thực của khí CO2, tính bằng năm (năm).
Từ công thức trên, tính toán thời gian cốt thép sẽ bắt đầu rỉ khi chiều sâu bê tông bị cácbonat hóa tiến sát gần tới vị trí cốt thép như sau:
tin max = ()2 (11)
trong đó:
tin max: Thời gian kết cấu tồn tại trong môi trường khí quyển cho tới khi bắt đầu rỉ cốt thép, tính bằng năm (năm);
C: Chiều dày lớp bê tông bảo vệ cốt thép, tính bằng milimet (mm);
k: Hệ số phản ánh tốc độ cácbonat hóa tính từ biểu thức 7 khi các giá trị x và t được lấy bằng các số liệu khảo sát thực tế theo 3.4.2.4.
6.4.3.2.3. Xác định tốc độ suy thoái trong giai đoạn phát triển rỉ
Trong giai đoạn này, tốc độ suy thoái kết cấu được biểu thị bằng tốc độ rỉ cốt thép theo thời gian, tính bằng tỷ lệ suy giảm tiết diện cốt thép/năm (DF) hoặc tỷ lệ hao hụt bán kính cốt thép/năm (Dr) theo các công thức sau:
DF = (12)
Dr = (13)
Trong đó:
DF: Tỷ lệ suy giảm tiết diện cốt thép trên một năm, tính bằng phần trăm trên năm (%/năm);
F0: Diện tích cốt thép ban đầu; tính bằng milimét vuông (mm2);
Ft: diện tích cốt thép tại thời điểm kiểm tra; tính bằng milimet vuông (mm2);
Dr: Mức hao hụt bán kính cốt thép do rỉ trên một năm, tính bằng milimet trên năm (mm/năm);
r0: Bán kính cốt thép ban đầu, tính bằng milimet (mm);
rt: Bán kính cốt thép tại thời điểm kiểm tra; tính bằng milimet (mm);
tcorr: Thời gian cốt thép bị rỉ, tính từ thời điểm cốt thép bắt đầu rỉ tới thời điểm kiểm tra, tính bằng năm (năm).
Từ các công thức trên, tính toán dự báo thời gian cốt thép sẽ rỉ tới mức giới hạn tcorr max theo qui trình sau:
- Kiểm tra các kết cấu đã bị nứt, bong lở lớp bê tông bảo vệ, đo đường kính ban đầu và hiện nay của cốt thép, tính giá trị F0, Ft và r0, rt;
- Xác định thời gian tích tụ điều kiện gây rỉ tin từ biểu thức 9, lấy thời gian kết cấu đã tồn tại trừ đi thời gian tin, xác định được thời gian tcorr;
- Đưa các giá trị F0, Ft hay r0, rt, tcorr vào các biểu thức 12 và 13, tính toán tốc độ rỉ cốt thép DF hay Dr;
- Xác định tiết diện cốt thép tối thiểu có thể chấp nhận được từ yêu cầu chịu lực theo TCVN 5574:1991 Fmin hay rmin. Thay các giá trị này vào công thức 9 hay 10, với tốc độ rỉ cốt thép đã biết, tính toán dự báo được thời gian cốt thép sẽ bị rỉ tới mức giới hạn tcorr max.
6.4.4. Xác định mức độ xuống cấp và lựa chọn biện pháp khắc phục
6.4.4.1. Yêu cầu chung
Việc xác định mức độ xuống cấp được thực hiện thông qua việc kiểm tra các chỉ số công năng về khả năng chịu lực (an toàn), sự làm việc bình thường và độ bền lâu hiện tại của kết cấu (Ptt) so với các giá trị tương ứng yêu cầu (Pyc). Có thể kiểm tra toàn bộ kết cấu hay từng bộ phận kết cấu trên công trình. Việc kiểm tra công năng được tiến hành cả trước và sau khi sửa chữa kết cấu.
6.4.4.2. Giá trị giới hạn của các công trình
Công năng cần kiểm tra ở đây là khả năng chịu lực (độ an toàn) và sự làm việc bình thường của kết cấu.
Giá trị giới hạn đối với khả năng chịu lực: Các giá trị về moment, lực dọc trục, lực cắt phải đáp ứng được giá trị tính theo trạng thái giới hạn thứ nhất theo TCVN 5574:1991, ứng với tải trọng thực tế mà nó đang phải chịu.
Giá trị giới hạn đối với sự làm việc bình thường:
- Độ võng, độ nghiêng lệch tối đa không vượt quá giá trị quy định của TCVN 5574:1991;
- Bề rộng vết nứt tối đa lấy theo TCVN 5574:1991 tùy theo loại hình và đặc điểm làm việc của kết cấu;
- Bê tông bảo vệ không được bong rộp tới mức dùng búa gõ nhẹ có thể bong ra được.
Ngoài các công năng cần kiểm tra nêu trên, khi kết cấu bị cacbonat hóa bề mặt tới mức nguy hiểm thì cần phải xem xét khả năng kết cấu duy trì được độ bền lâu. Yêu cầu cụ thể như sau:
- Đối với kết cấu được lấy thời điểm cốt thép bắt đầu rỉ làm giới hạn về độ bền lâu (kết cấu thuộc bảo trì loại A): độ pH trong bê tông tại vị trí sát cốt thép phải lớn hơn 10,5 hoặc chiều sâu cácbonat hóa bê tông phải cách cốt thép ít nhất 10 mm;
- Đối với kết cấu thuộc bảo trì loại B, C, D: Hao hụt tiết diện cốt thép tính theo DF hay Dr phải nhỏ hơn giá trị DFmax hay Drmax xác định theo TCVN 5574:1991.
6.4.4.3. Phân loại kết cấu theo mức độ xuống cấp
Tất cả các kết cấu hoặc bộ phận kết cấu đều phải được kiểm tra các chỉ số công năng hiện trạng và khả năng duy trì độ bền lâu, so sánh với giá trị giới hạn quy định ở 6.4.4.2 và phân thành các mức như sau:
- Khả năng chịu lực
Kết cấu hay bộ phận kết cấu được xếp vào mức không còn đáp ứng được khả năng chịu lực nếu có một trong các dấu hiệu sau:
+ Kết cấu đã bị gãy gục, sụp đổ hoặc hư hỏng cục bộ nghiêm trọng;
+ Kết cấu bị rỉ cốt thép nặng ở cấp III, mức độ rỉ cốt thép xác định theo TCVN 5574:1991 vượt quá giới hạn DFmax hoặc Drmax.
+ Qua tính toán kiểm tra lại về mặt chịu lực tại các vị trí xung yếu của kết cấu theo 6.4.2.5 và đối chiếu với các giá trị giới hạn theo 6.4.4.2, thấy không còn đáp ứng được yêu cầu tối thiểu về môment, lực dọc trục, lực cắt mà nó phải chịu.
- Sự làm việc bình thường
Các kết cấu được xếp vào mức không đáp ứng được yêu cầu về sự làm việc bình thường nếu có các dấu hiệu sau:
+ Độ võng, độ rộng vết nứt (các loại vết nứt) hiện nay vượt quá giá trị giới hạn quy định theo 6.4.4.2;
+ Bê tông đã bị bong rộp hoàn toàn hoặc dùng búa gõ nhẹ có thể bong ra được.
- Độ bền lâu
+ Các kết cấu thuộc diện bảo trì loại A sau nửa đầu niên hạn sử dụng dự kiến được coi là đã không đạt được yêu cầu về độ bền lâu nếu cốt thép đã bị rỉ, với độ pH trong bê tông tại vị trí cốt thép nhỏ hơn giá trị 10,5 hoặc chiều sâu cácbonat hóa đã sát gần vị trí cốt thép (khoảng cách nhỏ hơn 10 mm);
+ Các kết cấu thuộc diện bảo trì B, C, D hoặc loại A (nhưng đã quá nửa thời gian dự kiến sử dụng) được coi là đã không đạt được yêu cầu về độ bền lâu nếu cốt thép bị rỉ với mức độ hao hụt tiết diện vượt quá giá trị DFmax hoặc Drmax.
6.4.4.4. Lựa chọn giải pháp khắc phục
Căn cứ vào mức độ suy thoái (xác định theo 6.4.4.3), tốc độ suy thoái (xác định theo 6.4.3.2), vào tầm quan trọng của kết cấu, khả năng tài chính của chủ đầu tư… để cân nhắc lựa chọn các hướng giải quyết cho mỗi tình trạng hư hỏng như trình bày trong Bảng 8. Cụ thể được lập luận như sau:
- Hư hỏng cấp I: sửa chữa bảo vệ dự phòng cho các kết cấu thuộc bảo trì loại A nếu độ bền lâu của chúng đã tới mức giới hạn;
- Hư hỏng cấp II: sửa chữa và bảo vệ dự phòng cho kết cấu thuộc bảo trì loại A và loại B nếu điều kiện tài chính cho phép và thời gian sử dụng còn lại còn dài. Các trường hợp khác chỉ cần tiếp tục tăng cường theo dõi;
- Hư hỏng cấp III: gia cường và sửa chữa cho các kết cấu thuộc mọi loại bảo trì. Tuy nhiên nếu thời gian sử dụng kết cấu còn lại không nhiều thì có thể chỉ tăng cường theo dõi, hạn chế sử dụng và chống đỡ tạm thời nếu cần;
- Hư hỏng cấp IV: dỡ bỏ kết cấu trong mọi trường hợp.
Bảng 9 - Các phương án khắc phục tình trạng suy thoái kết cấu dưới tác động cácbonat hóa bê tông
|
Cấp hư hỏng kết cấu |
Mô tả trạng thái hư hỏng |
Mức độ hư hỏng xét theo các yêu cầu kỹ thuật |
Các phương án giải quyết |
||||
|
Sửa chữa |
Gia cường |
Tăng cường theo dõi |
Chống đỡ tạm thời và hạn chế sử dụng |
Phá bỏ |
|||
|
I |
Không có bất cứ một dấu hiệu hư hỏng nào thể hiện bên ngoài kết cấu (mặc dù vậy nhưng cốt thép có thể chớm rỉ hoặc chiều sâu cácbonat và độ pH vượt quá giới hạn gây rỉ) |
- Khả năng chịu lực: đạt yêu cầu; - Sự làm việc bình thường: đạt yêu cầu; - Độ bền lâu: đạt yêu cầu, hoặc có thể không đạt yêu cầu (nếu kết cấu thuộc bảo trì loại A) |
+ |
|
+ |
|
|
|
II |
Cốt thép bị rỉ nhẹ, gây nứt bê tông bảo vệ nhưng chưa bong, lở. Các dạng vết nứt khác với bề rộng nhỏ hơn 0,5 mm |
- Khả năng chịu lực: đạt yêu cầu; - Sự làm việc bình thường: đạt yêu cầu, hoặc không đạt yêu cầu (nếu bề rộng vết nứt lớn hơn mức cho phép); - Độ bền lâu: đạt yêu cầu hoặc không đạt yêu cầu (nếu kết cấu thuộc bảo trì loại A) |
+ |
|
+ |
|
|
|
III |
Cốt thép rỉ nặng, bê tông bảo vệ nứt to hoặc bị bong lở hoàn toàn. Có thể có dấu hiệu mất ổn định về mặt chịu lực |
- Khả năng chịu lực: đạt yêu cầu, hoặc không đạt yêu cầu (tùy vào tính toán cụ thể); - Sự làm việc bình thường: không đạt yêu cầu; - Độ bền lâu: không đạt yêu cầu nếu DF hoặc Dr đã vượt quá giá trị giới hạn. |
+ |
+ |
+ |
+ |
|
|
IV |
Kết cấu đã bị gãy gục, sụp đổ |
- Khả năng chịu lực: không đạt yêu cầu; - Sự làm việc bình thường: không đạt yêu cầu; - Độ bền lâu: không đạt yêu cầu |
|
|
|
|
+ |
6.4.5. Sửa chữa và gia cường kết cấu
6.4.5.1. Lựa chọn phương án sửa chữa
Phương án sửa chữa được lựa chọn tùy thuộc vào mức độ suy thoái kết cấu như sau:
Kết cấu hư hỏng cấp I, II: áp dụng các biện pháp bảo vệ dự phòng chống ăn mòn cốt thép như sửa chữa trám bịt các vết nứt, tạo màng bảo vệ mặt ngoài kết cấu hoặc bảo vệ cốt thép bằng phương pháp catôt.
Kết cấu bị hư hỏng cấp III nhưng chưa có dấu hiệu mất khả năng chịu lực: áp dụng các biện pháp sửa chữa cốt thép, sửa chữa phục hồi tiết diện, bảo vệ mặt ngoài kết cấu và bảo vệ hỗ trợ cốt thép bằng phương pháp catốt.
Kết cấu bị hư hỏng cấp III, đã bị mất khả năng chịu lực: ngoài việc sửa chữa như đã nói ở trên cần có biện pháp gia cường kết cấu.
Bên cạnh hiện tượng rỉ cốt thép do quá trình cácbonát hóa bê tông còn có thể có các nguyên nhân khác đồng thời gây nên hư hỏng kết cấu như: lún nền móng, tác động vượt tải, tác động chu kỳ của khí hậu nóng ẩm, ăn mòn bê tông, tác động xâm thực của ion clorua… Trong các trường hợp này, khi lựa chọn phương án sửa chữa cần tham khảo chỉ dẫn kỹ thuật ở 6.1; 6.2; 6.3; 6.5 và 6.6.
6.4.5.2. Bảo vệ dự phòng
6.4.5.2.1. Sửa chữa trám bịt vết nứt
Sửa chữa trám bịt vết nứt trong các trường hợp dưới đây là nhằm ngăn chặn khí cácbonic, oxy và nước thẩm thấu qua vết nứt gây rỉ cốt thép. Tùy theo nguyên nhân gây nứt, độ mở rộng vết nứt, trạng thái biến động của vết nứt… để lựa chọn biện pháp sửa chữa vết nứt thích hợp.
a) Bơm keo epoxy độ nhớt thấp: áp dụng cho các vết nứt kết cấu phát sinh dưới tác động của tải trọng có bề rộng nhỏ (an từ 0,05 mm đến 0,5 mm), vết nứt sâu và ổn định.
Nguyên lý chung là đục sâu vết nứt hình chữ V, xong chôn ống kim loại và bơm keo làm đầy các vết nứt.
b) Trám bịt vết nứt bằng xảm keo đàn hồi: áp dụng cho các vết nứt phát sinh dưới tác động chu kỳ của khí hậu nóng ẩm. Các vết nứt này thường biến dạng co dãn liên tục theo chu kỳ. Nguyên lý chung là đục mặt vết nứt hình chữ V với chiều rộng và chiều sâu khoảng 15 mm. Xong xảm bằng keo đàn hồi. Vật liệu xảm thường là keo polyurethane, polysulfide, silicon, acrylic…
c) Trám bịt vết nứt bằng vữa xi măng: áp dụng cho các vết trên bề mặt nông, ổn định. Cần phân biệt 2 trường hợp là vết nứt phát sinh do rỉ cốt thép và vết nứt phát sinh do các nguyên nhân khác (ví dụ nứt do biến dạng mềm của bê tông trong quá trình đóng rắn). Cách sửa chữa như sau:
+ Vết nứt phát sinh do co ngót bê tông: nguyên lý sửa chữa tương tự như mô tả ở 6.4.2.5.1.b). Vật liệu trám bịt vết nứt bằng vữa xi măng polyme hoặc vữa xi măng không co ngót. Việc đặt khe co dãn nhiệt ẩm được thực hiện theo chỉ dẫn ở TCVN 9345:2012.
+ Vết nứt phát sinh do rỉ cốt thép: nguyên lý chung là đục mở vết nứt sâu đến phía sau cốt thép, xong tiến hành trám bịt vết nứt bằng vữa xi măng polime hoặc vữa xi măng không co ngót. Qui trình sửa chữa tương tự như ở 6.4.5.3.
Chi tiết về công nghệ và vật liệu sửa chữa vết nứt bê tông có thể tham khảo thêm trong các tiêu chuẩn ACI 201.2R-2002, ACI 224.1R-2002 và các tài liệu chuyên ngành khác.
6.4.5.2.2. Bảo vệ mặt ngoài kết cấu
Bảo vệ mặt ngoài kết cấu ở đây là tạo các lớp màng ngăn cách hạn chế hay ngăn cản sự thẩm thấu khí CO2, O2 và nước vào bê tông nhằm làm chậm lại quá trình cácbonat hóa bê tông và kìm hãm tốc độ rỉ cốt thép.
Tùy thuộc vào dạng kết cấu (dân dụng hay công nghiệp…), môi trường sử dụng, yêu cầu về tính trang trí trên bề mặt công trình mà lựa chọn phương pháp và vật liệu bảo vệ bề mặt thích hợp.
Trong trường hợp trên bề mặt kết cấu có vài vết nứt thì trước hết cần sửa chữa trám bịt vết nứt như đã trình bày tại 6.4.5.1.1, sau đó mới tiến hành tạo các lớp màng bảo vệ mặt ngoài.
a) Sơn phủ bề mặt
Biện pháp này áp dụng thích hợp cho kết cấu thuộc các công trình xây dựng dân dụng, có yêu cầu về tính trang trí của bề mặt công trình. Các loại sơn dạng này được chế tạo trên nền nhựa epoxy. polyurethane, silicon, acrylic… pha loãng trong dung môi hoặc trong nước. Có thể sử dụng cả các loại sơn xi măng - polyme có tính năng chống thấm. Chi tiết về mô tả vật liệu, tính năng kỹ thuật và quy trình áp dụng xem hướng dẫn riêng của từng hãng sản xuất.
b) Dùng vữa trát chống thấm
Biện pháp này áp dụng cho các kết cấu xây dựng dân dụng ở qui mô nhỏ. Vật liệu là vữa xi măng polyme có mác tối thiểu là 20 MPa. Chiều dày lớp vữa từ 10 mm đến 20 mm. Chi tiết mô tả các loại vữa này cần tham khảo trên các tài liệu chuyên ngành.
c) Phun bê tông khô
Biện pháp này áp dụng thích hợp cho các công trình xây dựng công nghiệp, dân dụng có diện tích bề mặt lớn. Chiều dày lớp bê tông phun khô từ 30 mm đến 40 mm, có lưới thép hoặc không có lưới thép. Bê tông mác tối thiểu 30 MPa. Chi tiết qui trình áp dụng công nghệ bê tông phun khô tham khảo trong tài liệu "Bê tông phun khô - Chỉ dẫn kỹ thuật thi công và nghiệm thu" ban hành theo QĐ số 20/1999/QĐ-BXD.
6.4.5.2.2. Bảo vệ cốt thép bằng phương pháp catốt
Đối với các kết cấu quan trọng, thời gian sử dụng theo thiết kế còn dài nhưng bê tông không đủ năng lực để bảo vệ cốt thép như: chiều dày bảo vệ mỏng, bê tông đã bị cácbonat hóa trên diện rộng thì có thể áp dụng biện pháp bảo vệ trực tiếp cốt thép bằng phương pháp catốt theo nguyên lý dòng ngoài hoặc anốt hy sinh. Qui trình áp dụng thực hiện theo chỉ dẫn riêng.
6.4.5.3. Sửa chữa kết cấu
Qui trình sửa chữa phục hồi tiết diện kết cấu được thực hiện theo các bước sau:
- Chống đỡ kết cấu: tiến hành chống đỡ kết cấu và giải phóng hoàn toàn hoặc một phần kết cấu cần sửa chữa khỏi trạng thái chịu lực. Các kết cấu chịu tải lớn có thể chia ra xử lý từng phần thiết diện.
- Đục tẩy bê tông: yêu cầu đục tẩy hoàn toàn phần bê tông đã bị bong lở và phần bê tông bị cácbonat hóa. Thông thường cần đục sâu sau cốt thép từ 15 mm đến 20 mm.
- Tẩy gỉ cốt thép: cốt thép phải được đánh sạch rỉ bằng bàn chải, chổi sắt hoặc phun cát. Khi cần sơn chống gỉ cốt thép, sơn epoxy phải đáp ứng yêu cầu kỹ thuật tham khảo theo ASTM D 3963/D 3963M - 93a. Sơn xi măng - polyme phải có các tính năng kỹ thuật phù hợp do nhà sản xuất cung cấp.
- Tạo bám dính giữa bê tông/vữa mới và bê tông cũ;
+ Đục nhám bề mặt bê tông cũ, rửa sạch bề mặt bằng nước, để ráo nước;
+ Quét một lớp hồ xi măng sệt với tỷ lệ N/X nhỏ hơn hoặc bằng 0,3 hoặc hồ xi măng polime acrylic, xi măng polime styrenbutadien lên bề mặt bê tông cũ. Polime tạo dính hệ latex phải đáp ứng yêu cầu kỹ thuật tham khảo theo ASTM C 1509-90. Có thể sử dụng chất tạo dính bằng keo epoxy tham khảo theo ACI 503.2-79.
Việc phun hoặc đổ bê tông bơm hay trát vữa lên bề mặt bê tông cũ cần được thực hiện khi lớp tạo dính còn chưa khô.
- Các giải pháp thi công và vật liệu sửa chữa: có nhiều dạng công nghệ và vật liệu được dùng để sửa chữa phục hồi tiết diện kết cấu, tùy vào từng trường hợp cụ thể mà lựa chọn các giải pháp như sau:
+ Đổ bê tông không co: áp dụng thích hợp cho trường hợp đổ vá bề mặt trên của kết cấu. Thi công thực hiện theo TCVN 4453:1995. Mác bê tông sửa chữa tối thiểu phải cao hơn mác bê tông cũ 1 cấp nhưng không nhỏ hơn 30 MPa.
+ Đổ bê tông tự đầm, vữa tự chảy không co: áp dụng cho trường hợp sửa chữa cục bộ. Mác bê tông/ vữa sửa chữa phải cao hơn mác bê tông 1 cấp và không nhỏ hơn 30 MPa. Qui trình thi công thực hiện theo chỉ dẫn riêng tương ứng với từng loại vật liệu.
+ Phun bê tông khô: áp dụng cho trường hợp sửa chữa hư hỏng trên diện rộng, bề mặt kết cấu bằng phẳng, ít góc cạnh. Mác bê tông phun khô phải cao hơn mác bê tông cũ 1 cấp và không nhỏ hơn 30 MPa. Qui trình thi công tuân thủ theo tài liệu "Bê tông phun khô - Chỉ dẫn kỹ thuật thi công và nghiệm thu" ban hành theo QĐ số 20/1999/QĐ-BXD.
+ Trám vá vữa sửa chữa: áp dụng cho các trường hợp sửa chữa nhỏ, cục bộ. Vữa sửa chữa là vữa xi măng không co ngót, không chảy xệ. Mác vữa sửa chữa phải cao hơn mác bê tông cũ 1 cấp và không nhỏ hơn 30 MPa. Qui trình thi công thực hiện theo hướng dẫn riêng tùy theo loại vật liệu.
Các chỉ dẫn chuyên sâu về công nghệ và vật liệu sửa chữa kết cấu bê tông cốt thép có thể tham khảo thêm trong tài liệu kỹ thuật: ACI 201.2R-2002 và các tài liệu chuyên ngành khác.
6.4.5.4. Gia cường kết cấu
Trong trường hợp kết cấu bị hư hỏng quá nặng cho dù sửa chữa phục hồi lại tiết diện ban đầu cũng không đủ khả năng chịu lực thì cần phải gia cường nâng cao khả năng chịu lực của kết cấu. Có một số giải pháp gia cường thông thường sau đây:
- Tăng cường cho cốt thép bị hư hỏng cục bộ, không tăng tiết diện kết cấu;
- Tăng tiết diện kết cấu bằng phương pháp ốp thép hình hoặc thép tròn;
- Gia cường bằng dán bản thép;
- Gia cường bằng thép ứng lực trước căng ngoài;
- Gia cường bằng biện pháp dùng kết cấu hỗ trợ hoặc thay thế.
Thông tin chi tiết về nguyên tắc lựa chọn giải pháp gia cường, thiết kế gia cường cần tham khảo thêm ở 6.1.
Qui trình thi công sửa chữa được tiến hành tuần tự theo các bước như đã nêu ở 6.4.5.3.
Sau khi sửa chữa và gia cường, nếu bê tông vẫn không đủ năng lực bảo vệ cốt thép lâu dài như bê tông bị cácbonát hóa sâu và trên diện rộng, chiều sâu bảo vệ mỏng… thì cần phải áp dụng biện pháp bảo vệ chống ăn mòn hỗ trợ như bảo vệ mặt ngoài, bảo vệ cốt thép bằng phương pháp catốt. Chi tiết xem mô tả ở 3.4.5.2.
6.4.6. Ghi chép và lưu giữ hồ sơ
Toàn bộ kết quả kiểm tra chi tiết, thiết kế giải pháp sửa chữa và thi công sửa chữa đều phải được ghi chép đầy đủ theo trình tự quản lý chất lượng xây dựng cơ bản hiện hành và chuyển cho chủ đầu tư lưu giữ lâu dài. Cụ thể cần lập các hồ sơ lưu trữ sau đây:
- Các báo cáo kiểm tra ban đầu, thường xuyên và định kỳ;
- Báo cáo khảo sát chi tiết hư hỏng kết cấu;
- Hồ sơ thiết kế, sửa chữa, gia cường kết cấu;
- Nhật ký thi công;
- Các biên bản kiểm tra chất lượng vật liệu và chất lượng thi công từng giai đoạn;
- Hồ sơ hoàn công.
6.5. Sửa chữa kết cấu hư hỏng do tác động của môi trường vùng biển
6.5.1. Phạm vi áp dụng
Mục này hướng dẫn các giải pháp kỹ thuật nhằm khắc phục sự hư hỏng kết cấu do ăn mòn cốt thép và bê tông trong môi trường xâm thực vùng biển. Nội dung cụ thể bao gồm các công việc: kiểm tra chi tiết hư hỏng kết cấu, xác định cơ chế suy thoái, đánh giá mức độ hư hỏng, dự báo thời gian sử dụng còn lại, lựa chọn biện pháp khắc phục và một số giải pháp sửa chữa, gia cường kết cấu thường được áp dụng trong thực tế.
Dạng hư hỏng kết cấu được đề cập tới ở đây chủ yếu là ăn mòn cốt thép dẫn tới nứt, vỡ bê tông và ăn mòn bê tông trong nước biển. Đối với các dạng hư hỏng khác nếu có cùng xảy ra như nứt vỡ kết cấu do va đập của tàu thuyền, nứt kết cấu do lún nền móng, nứt kết cấu do tác động chu kỳ của khí hậu nóng ẩm thì có thể tham khảo các phương án khắc phục nêu trong 6.1; 6.2 và 6.3. Đối tượng xem xét ở đây là các kết cấu bê tông và bê tông cốt thép ngập trong nước biển, trong vùng nước lên xuống, trên mặt biển và trên bờ chịu ảnh hưởng xâm thực của ion clorua.
6.5.2. Kiểm tra chi tiết
6.5.2.1. Khảo sát sơ bộ và phân cấp hư hỏng kết cấu
Khảo sát sơ bộ bằng quan trắc toàn bộ kết cấu hay hệ kết cấu. Ghi chép đánh dấu trên bản vẽ kết hợp với chụp ảnh, quay phim ghi nhận các dấu hiệu hư hỏng sau đây (bao gồm: dạng, vị trí và qui mô hư hỏng):
- Dấu hiệu ăn mòn rửa trôi bê tông trong vùng ngập nước và nước lên xuống;
- Dấu hiệu ăn mòn cốt thép, biểu hiện là các vết rỉ vàng thấm ra mặt ngoài bê tông, vết nứt dọc cốt thép hoặc bê tông bảo vệ bị bong rộp để lộ cốt thép đã bị rỉ;
- Các dấu hiệu hư hỏng kết cấu khác gồm có:
- Các dạng nứt kết cấu khác (ngoài nứt lớp bê tông bảo vệ do rỉ cốt thép);
- Biến dạng kết cấu như: võng, nghiêng, lệch;
- Gẫy, sụp đổ kết cấu.
Từ kết quả khảo sát sơ bộ như đã nêu trên, phân loại kết cấu hoặc vùng hay từng bộ phận kết cấu theo các cấp hư hỏng điển hình như sau:
- Cấp I: Kết cấu (vùng hay bộ phận kết cấu) chưa có bất cứ dấu hiệu hư hỏng nào thể hiện ra bên ngoài.
- Cấp II: Kết cấu (vùng hay bộ phận kết cấu) đã có dấu hiệu bị hư hỏng nhẹ. Cụ thể gồm các dấu hiệu:
+ Cốt thép bị rỉ nhẹ, có vết rỉ thấm ra mặt ngoài kết cấu hoặc bê tông bảo vệ bị nứt nhỏ (bề rộng vết nứt tối đa 1,0 mm), gõ nhẹ bằng búa không làm bong lớp bê tông bảo vệ;
+ Các dạng vết nứt khác với bề rộng vết nứt nhỏ hơn 0,5 mm.
- Cấp III: Kết cấu (vùng hay bộ phận kết cấu) bị hư hỏng nặng, gồm các dấu hiệu:
+ Có dấu hiệu ăn mòn bê tông;
+ Cốt thép bị rỉ nặng, bê tông bị nứt to hoặc bong lở hoàn toàn trên diện rộng;
+ Có thể có dấu hiệu khả năng chịu lực của kết cấu đã bị suy giảm như nứt kết cấu nghiêm trọng, biến dạng kết cấu lớn…
- Cấp IV: Kết cấu bị mất khả năng chịu lực hoàn toàn.
Các kết cấu lớn đơn chiếc như cầu, cống, silô, bể nước, kè, tháp, vòm thì được phân thành các vùng hư hỏng khác nhau. Đối với hệ kết cấu gồm nhiều bộ phận như cột, dầm, sàn (của nhà, cầu cảng) thì từng bộ phận này được phân thành các mức hư hỏng như đã phân cấp ở trên.
Ngoài việc phân loại kết cấu theo các cấp hư hỏng như trên cần ghi chép, xác định vị trí kết cấu hay bộ phận kết cấu làm việc trong các môi trường xâm thực khác nhau. Cụ thể phân làm 3 vùng môi trường xâm thực: vùng ngập nước biển hoàn toàn; vùng nước lên xuống và sóng đánh; và vùng khí quyển trên mặt biển, khí quyển ven bờ và gần bờ.
Qui mô và mức độ khảo sát chi tiết cần được lựa chọn tùy theo cấp hư hỏng kết cấu, tính chất xâm thực của môi trường và tầm quan trọng của kết cấu (xem Bảng 10).
Bảng 10 - Quy mô thẩm tra chi tiết kết cấu theo cấp độ hư hỏng
|
Cấp hư hỏng kết cấu hay bộ phận kết cấu |
Qui mô thẩm tra |
|||
|
Tính chất cơ lý bê tông |
Tình trạng ăn mòn cốt thép |
Hàm lượng và chiều sâu thâm nhập tác nhân xâm thực |
Thông số đánh giá khả năng chịu lực |
|
|
Cấp I(1) |
Thử tối thiểu 3 vùng hay 3 bộ phận kết cấu hư hỏng đại diện cho 1 môi trường xâm thực |
Thử tối thiểu 15 phần trăm số vùng hay bộ phận kết cấu hư hỏng đại diện cho 1 môi trường xâm thực |
Chọn tối thiểu 3 mẫu thử đại diện cho 1 môi trường xâm thực. |
- |
|
Cấp II |
Thử tối thiểu 3 vùng hay 3 bộ phận kết cấu hư hỏng đại diện cho 1 môi trường xâm thực |
Thử tối thiểu 15 phần trăm số vùng hay bộ phận kết cấu hư hỏng đại diện cho 1 môi trường xâm thực |
Chọn tối thiểu 3 mẫu thử đại diện cho 1 môi trường xâm thực. |
- |
|
Cấp III, cấp IV(2) |
Thử tối thiểu 3 vùng hay 3 bộ phận kết cấu hư hỏng đại diện cho 1 môi trường xâm thực |
Thử toàn bộ kết cấu hay các bộ phận kết cấu hư hỏng |
Chọn tối thiểu 3 mẫu thử đại diện cho 1 môi trường xâm thực. |
Toàn bộ kết cấu |
|
CHÚ THÍCH: 1) Đối với kết cấu thuộc bảo trì loại A cần phải kiểm tra tình trạng rỉ cốt thép trên toàn bộ kết cấu cho mọi cấp hư hỏng. 2) Đối với kết cấu đã bị hư hỏng hoàn toàn (cấp IV), không cần phải kiểm tra chi tiết nếu chủ công trình không có yêu cầu xác định nguyên nhân hư hỏng. |
||||
6.5.2.2. Kiểm tra tình trạng ăn mòn cốt thép
Đối với các vùng kết cấu hoặc bộ phận kết cấu chưa bị rỉ cốt thép (cấp I) hoặc mới bị rỉ nhẹ (cấp II), lựa chọn lấy từ 10% đến 15% số vùng hoặc bộ phận kết cấu tiêu biểu để kiểm tra tình trạng rỉ cốt thép. Tiến hành kiểm tra không phá hủy theo tiêu chuẩn TCVN 9348:2012 hoặc tham khảo ASTM C 876:1999, kết hợp với đục lộ cốt thép tại một vài điểm để kiểm tra đối chứng.
Đối với các vùng kết cấu hay bộ phận kết cấu đã bị rỉ cốt thép nặng (cấp III), tiến hành kiểm tra toàn bộ kết cấu. Việc kiểm tra được tiến hành bằng cách đục lộ cốt thép, đo chiều dày lớp rỉ và đường kính còn lại của cốt thép bằng thước kẹp cơ khí.
Đối với các kết cấu hay bộ phận kết cấu quan trọng được bảo trì loại A (xem 4.2.3) thì cần phải kiểm tra tình trạng rỉ cốt thép trên toàn bộ kết cấu.
Tại các vùng kết cấu hay bộ phận kết cấu được kiểm tra ăn mòn cốt thép, cần xác định chiều dày lớp bê tông bảo vệ tương ứng. Việc kiểm tra được tiến hành bằng thiết bị điện từ chuyên dụng theo tiêu chuẩn TCVN 9356:2012 hoặc tham khảo BS 1881 - Part 204:88, hoặc đục lộ cốt thép để đo trực tiếp. Nên lựa chọn vị trí kiểm tra ăn mòn cốt thép trùng với vị trí kiểm tra tính chất cơ lý của bê tông và vị trí lấy mẫu xác định chiều sâu các tác nhân gây ăn mòn xâm nhập vào bê tông.
6.5.2.3. Kiểm tra hàm lượng và chiều sâu thâm nhập các tác nhân gây ăn mòn bê tông, cốt thép và thành phần hóa của bê tông
Vị trí lấy mẫu cần trùng với vị trí kiểm tra tính chất cơ lý của bê tông và tình trạng ăn mòn cốt thép trên kết cấu. Tại mỗi vùng xâm thực thuộc mỗi cấp hư hỏng kết cấu cần lấy tối thiểu 3 mẫu song song trên 3 vị trí khác nhau.
Mẫu được lấy ở dạng bột bằng phương pháp khoan khô. Dùng mũi khoan đường kính 12 cm đến 16 cm khoan nhiều lỗ trên một diện tích tối thiểu 400 cm2 theo các lớp từ 0 cm đến 1 cm; 1 cm đến 2 cm… 6cm đến 8 cm hoặc sâu hơn theo hướng từ ngoài vào trong. Lượng bột cần lấy cho mỗi lớp chiều sâu tối thiểu là 200 g. Mẫu sau khi lấy được bảo quản ngay trong túi kín để tránh hiện tượng cacbonát hóa. Đối với các bộ phận kết cấu nằm ngập hoàn toàn trong nước thì phải áp dụng phương pháp khoan lấy lõi, sau đó cắt lát theo từng lớp rồi đập nghiền mịn để phân tích.
Trên tất cả các mẫu chỉ tiêu độ pH và hàm lượng ion Cl- tan trong axit được xác định theo các tiêu chuẩn ASTM D5015:95 và ASTM C1152:94. Trong trường hợp nghi ngờ có ăn mòn bê tông cần phân tích thêm các chỉ tiêu về hàm lượng SO3, CaO, SiO2 hòa tan theo các tiêu chuẩn TCVN 141:2008 và tham khảo ASTM C 1084:1997.
6.5.2.4. Thu thập số liệu để đánh giá lại khả năng chịu lực của kết cấu
Cần phải đánh giá lại khả năng chịu lực của kết cấu tại các vị trí quan trọng về yêu cầu chịu lực, các vị trí kết cấu bị hư hỏng nặng (cấp III). Các số liệu cần thiết để đánh giá gồm có:
- Kích thước hình học kết cấu, các mặt cắt tiết diện;
- Bố trí cốt thép;
- Cường độ và độ đồng nhất về cường độ của bê tông;
- Mức độ rỉ cốt thép, đường kính còn lại của cốt thép;
- Tải trọng và tác động lên kết cấu;
- Các vết nứt vỡ và mức độ biến dạng của kết cấu.
Trong một số trường hợp cần thiết nếu không xác định được các thông số nói trên thì có thể gia tải kết cấu để kiểm tra trực tiếp khả năng chịu lực của chúng. Chi tiết xem hướng dẫn ở 6.1.
Kích thước hình học và mặt cắt tiết diện kết cấu được xác định bằng phương pháp đo vẽ trực tiếp. Bố trí cốt thép được lấy theo hồ sơ hoàn công. Trong trường hợp không có hồ sơ hoàn công thì tiến hành dò cốt thép bằng thiết bị điện từ theo tiêu chuẩn TCVN 9356:2012 hoặc tham khảo BS 1881:Part 204:88. Cường độ và độ đồng nhất của bê tông (nếu chưa được kiểm tra trước đó theo 6.5.2.2) thì xác định bằng các phương pháp không phá hủy theo TCVN 9334:2012, TCVN 9357:2012 hoặc tham khảo TCXDVN 239:2006).
Tải trọng tác động lên kết cấu được xác định trực tiếp trên hiện trường, lấy theo tiêu chuẩn TCVN 2737:1995.
Các vết nứt và biến dạng của kết cấu dưới tác động của tải trọng hoặc do lún nền móng (nếu có) được kiểm tra theo hướng dẫn ghi trong 6.1 và 6.2.
6.5.2.5. Kiểm tra các hồ sơ lưu trữ có liên quan và xác định tính chất xâm thực của môi trường
Các hồ sơ lưu trữ có liên quan cần được kiểm tra gồm có:
- Hồ sơ khảo sát địa chất và đánh giá tính chất xâm thực của môi trường;
- Hồ sơ thiết kế;
- Hồ sơ hoàn công;
- Hồ sơ ghi chép kết quả thẩm tra ban đầu, thẩm tra thường xuyên và định kỳ (xem Điều 5).
Ngoài ra cần phải tiến hành xác lập các thông tin sau:
- Tầm quan trọng và cấp bảo trì của kết cấu; Tuổi thọ thiết kế ban đầu; Thời gian thực tế công trình đã được sử dụng; Các đợt sửa chữa trước đây (nếu có);
- Vật liệu trước đây đã được sử dụng để chế tạo bê tông như xi măng, cốt liệu, nước trộn, phụ gia; mác bê tông; hàm lượng xi măng…;
- Xác định tính chất xâm thực của môi trường như thành phần hóa của nước biển, độ ẩm và nhiệt độ không khí, hàm lượng ion clorua.
6.5.3. Nhận biết cơ chế và xác định tốc độ xuống cấp
6.5.3.1. Nhận biết cơ chế xuống cấp
Nguyên nhân gây xuống cấp kết cấu trong môi trường biển chủ yếu là do cốt thép bị rỉ. Ngoài ra còn có thể do bê tông bị ăn mòn. Cụ thể việc nhận biết được thực hiện như sau:
Bê tông được coi là bị ăn mòn nếu phát hiện thấy các dấu hiệu ăn mòn theo 6.5.2.1 với các số liệu minh chứng sau:
- Cường độ chịu nén của bê tông ở vùng bị ăn mòn suy giảm đến trên 20% so với mẫu bê tông ở vị trí khô ráo không bị ăn mòn;
- Độ pH và hàm lượng CaO giảm mạnh, độ rỗng và độ hút nước của bê tông tăng rõ rệt so với mẫu bê tông ở vị trí không bị ăn mòn (pH giảm đến dưới 9,0, độ hút nước của bê tông trên 10%);
- Hàm lượng SO3 trong mẫu bê tông bị nghi ngờ có ăn mòn sunfat ở mức trên 6 phần trăm so với xi măng;
- Hàm lượng SiO2 hòa tan trong mẫu bê tông bị nghi ngờ có ăn mòn kiềm - silic cao hơn nhiều so với mẫu bê tông không bị ăn mòn.
Bê tông được coi là bị phá hủy ở dạng ăn mòn rửa trôi, khi thấy cường độ bê tông giảm kèm theo độ hút nước tăng, độ pH và hàm lượng CaO giảm mạnh. Bê tông bị phá hủy ở dạng ăn mòn sunfat khi có vết nứt đặc trưng cho dạng ăn mòn này, tiếp đó là hàm lượng SO3 cao trong bê tông trong khi độ hút nước không tăng và hàm lượng CaO có thể không giảm. Bê tông bị phá hủy ở dạng ăn mòn kiềm silic khi có các vết nứt dạng lưới đặc trưng cho dạng ăn mòn này kèm theo hàm lượng SiO2 hòa tan cao hơn bê tông không bị ăn mòn. Trong điều kiện cụ thể của môi trường biển Việt Nam, khả năng bê tông bị ăn mòn là ít xảy ra.
Cốt thép được xem là đã bị rỉ khi dấu hiệu rỉ đã thể hiện rõ bên ngoài, như mô tả ở 6.5.2.1, hoặc có thể các dấu hiệu này chưa thể hiện ra bên ngoài, nhưng kiểm tra bằng máy điện từ thì thấy có thể ăn mòn Ecorr nhỏ hơn hoặc bằng âm 350 mV. Kèm theo đó là hàm lượng ion Cl- trong bê tông ở vị trí sát cốt thép lớn hơn 1,2 kgCl/m3 bê tông, hoặc độ pH của bê tông nhỏ hơn 10,5. Đối với phần kết cấu ngập trong nước, thế ăn mòn có thể thấp hơn giới hạn đã nêu trên nhưng cốt thép vẫn có thể chưa bị rỉ. Ăn mòn cốt thép là nguyên nhân chủ yếu nhất dẫn tới suy thoái kết cấu trong môi trường biển ở Việt Nam.
Ngoài các nguyên nhân chủ yếu như đã nêu trên, có thể còn có một số nguyên nhân khác cũng đồng thời tác động tới quá trình suy thoái của kết cấu như: tác động mạnh của tải trọng, lún nền móng, tác động chu kỳ của khí hậu nóng ẩm… Khi đó nhận định về cơ chế xuống cấp của kết cấu cần tham khảo thêm các chỉ dẫn được nêu trong 6.1; 6.2 và 6.3.
6.5.3.2. Xác định tốc độ xuống cấp
6.5.3.2.1. Nguyên tắc chung
Yếu tố chính làm suy thoái bê tông cốt thép trong môi trường biển là hiện tượng rỉ cốt thép dẫn tới nứt, vỡ lớp bê tông bảo vệ, làm mất khả năng bám dính giữa bê tông và cốt thép, giảm tiết diện cốt thép và có thể dẫn tới sụp đổ kết cấu. Do đó xác định tốc độ suy thoái kết cấu cũng như dự báo thời gian sử dụng còn lại của kết cấu chủ yếu được dựa trên quá trình ăn mòn cốt thép. Quá trình ăn mòn cốt thép được phân thành hai giai đoạn chính như trình bày ở Bảng 11. Ở giai đoạn tích tụ điều kiện gây rỉ, thông số quyết định tốc độ suy thoái là tốc độ thẩm thấu ion Cl- vào trong bê tông. Mốc giới hạn là nồng độ ion clorua tích tụ trên bề mặt cốt thép đạt giá trị giới hạn bắt đầu gây rỉ cốt thép. Ở giai đoạn phát triển rỉ cốt thép, yếu tố quyết định tới tốc độ suy thoái là tốc độ rỉ cốt thép theo thời gian. Mốc giới hạn là tiết diện cốt thép tối thiểu khi đưa vào tính toán trạng thái giới hạn cực hạn về mặt chịu lực của kết cấu theo TCVN 5574: 1991 thông qua các chỉ số công năng cụ thể về moment, lực dọc trục, lực cắt…
Bảng 11 - Mô tả các giai đoạn ăn mòn cốt thép trong bê tông trong môi trường biển
|
STT |
Tên gọi giai đoạn |
Bản chất hiện tượng |
Yếu tố quyết định tốc độ của quá trình suy thoái |
Giá trị giới hạn |
|
1 |
Tích tụ điều kiện gây rỉ |
Ion Clorua thẩm thấu vào bê tông tính tích tụ trên bề mặt cốt thép đạt giá trị bắt đầu gây rỉ |
Tốc độ thẩm thấu ion Clorua trong bê tông |
Giá trị hàm lượng Clorua bắt đầu gây rỉ cốt thép |
|
2 |
Phát triển rỉ |
Cốt thép bị rỉ, gây nứt và bong lở bê tông bảo vệ và tiếp tục rỉ cho tới khi làm mất hoàn toàn khả năng chịu lực của kết cấu |
Tốc độ rỉ cốt thép |
Tiết diện cốt thép tối thiểu còn đảm bảo khả năng chịu lực của kết cấu |
6.5.3.2.2. Xác định tốc độ suy thoái trong giai đoạn tích tụ điều kiện gây rỉ
Trong giai đoạn này, tốc độ suy thoái được biểu thị bằng hàm lượng ion Cl- tại vị trí cốt thép theo thời gian tác động của môi trường biển, tính từ thời điểm ban đầu. Hàm lượng ion Cl- trong bê tông theo thời gian được tính theo định luật Fick như sau:
C(x,t) = C0 [ 1 - erf ] (14)
Trong đó:
C(x,t): Hàm lượng ion Clorua trong bê tông ở cự ly bất kỳ (x), tại thời điểm bất kỳ (t), tính bằng kilogram trên mét khối (kg/m3);
C0: Hàm lượng ion clorua trên bề mặt bê tông kết cấu, tính bằng kilogram trên mét khối (kg/m3);
X: Vị trí xác định hàm lượng clorua trong bê tông tính từ bề mặt kết cấu, tính bằng centimet (cm);
tin: Thời gian thẩm thấu ion clorua trong bê tông, tính từ thời điểm ban đầu, tính bằng năm (năm);
D: Hệ số khuyếch tán ion clorua vào trong bê tông, tính bằng centimet vuông trên năm (cm2/năm).
Từ công thức này có thể dự đoán được thời gian cốt thép sẽ bắt đầu rỉ (tin max) (khi hàm lượng ion clorua tại vị trí cốt thép đạt đến ngưỡng gây rỉ). Qui trình tính như sau:
- Xác định hàm lượng C0 từ kết quả khảo sát hiện trường theo 6.5.2.4;
- Xác định hệ số D: từ đường biểu diễn phân bố hàm lượng Clorua trong bê tông tại thời điểm kiểm tra theo 6.5.2.4, đưa các giá trị C(x,t), x và tin đã biết khi khảo sát vào biểu thức 14, để tính được hệ số D;
- Tính toán dự đoán được thời điểm cốt thép sẽ bắt đầu rỉ tin max bằng cách cho trước giá trị x bằng chiều dày lớp bê tông bảo vệ, lấy giá trị C(x,t) bằng hàm lượng Clorua giới hạn gây rỉ là 1,2 kg Cl-/m3 bê tông và đưa giá trị D xác định ở trên vào biểu thức 15 để tính giá trị tin max;
- Xác định tốc độ xuống cấp kết cấu trong giai đoạn phát triển rỉ: xem chỉ dẫn ở 6.4.3.2.
6.5.4. Xác định mức độ xuống cấp và lựa chọn phương án khắc phục
6.5.4.1. Yêu cầu chung
Việc xác định mức độ xuống cấp được thực hiện thông qua việc kiểm tra các chỉ số công năng về khả năng chịu lực (an toàn), sự làm việc bình thường và độ bền lâu hiện tại của kết cấu (P tt) so với các giá trị yêu cầu (P yc). Có thể kiểm tra toàn bộ kết cấu hay từng bộ phận kết cấu trên công trình. Việc kiểm tra công năng được tiến hành cả trước và sau khi sửa chữa kết cấu.
6.5.4.2. Các giá trị giới hạn của công năng
Các giá trị giới hạn đối với từng dạng công năng được lựa chọn như sau:
- Giá trị giới hạn đối với khả năng chịu lực: Các giá trị tối thiểu về moment, lực dọc trục, lực cắt phải đáp ứng được trạng thái giới hạn thứ nhất theo TCVN 5574:1991, ứng với tải trọng thực tế mà nó đang phải chịu.
- Giá trị giới hạn đối với sự làm việc bình thường:
+ Độ võng, độ nghiêng lệch tối đa không vượt quá giá trị quy định của TCVN 5574:1991;
+ Bề rộng vết nứt tối đa Wmax bằng 0,2 mm;
+ Bề dày lớp bê tông bảo vệ phải không nhỏ hơn giá trị yêu cầu của tiêu chuẩn hiện hành. Bê tông bảo vệ không được bong rộp tới mức dùng búa gõ nhẹ có thể bong ra được.
Ngoài các công năng cần kiểm tra nêu trên, khi kết cấu đã bị ăn mòn tới mức nguy hiểm thì cần phải xem xét đến khả năng kết cấu duy trì được độ bền lâu. Yêu cầu cụ thể như sau:
+ Đối với kết cấu được lấy thời điểm cốt thép bắt đầu rỉ làm giới hạn về độ bền lâu (kết cấu thuộc bảo trì loại A): hàm lượng ion Clorua tại vị trí cốt thép phải nhỏ hơn 1,2 kg/m3;
+ Đối với các kết cấu còn lại thuộc bảo trì B, C, D hao hụt tiết diện cốt thép phải nhỏ hơn giá trị DFmax hay Drmax xác định theo TCVN 5574:1991.
6.5.4.3. Phân loại kết cấu theo mức độ xuống cấp
Toàn bộ kết cấu hoặc một bộ phận kết cấu phải được kiểm tra các chỉ số công năng hiện trạng và khả năng duy trì độ bền lâu, so sánh với giá trị giới hạn quy định ở 6.5.4.2 và phân thành các mức xuống cấp như sau:
- Khả năng chịu lực
Kết cấu hay bộ phận kết cấu được xếp vào mức không còn đáp ứng được khả năng chịu lực nếu có các dấu hiệu sau:
Kết cấu đã bị gãy gục, sụp đổ… hoặc hư hỏng cục bộ nghiêm trọng;
+ Kết cấu bị rỉ cốt thép nặng ở cấp C, mức độ rỉ cốt thép vượt quá giới hạn DFmax hoặc Drmax xác định theo TCVN 5574:1991.
+ Kết cấu được tính toán thẩm tra lại về mặt chịu lực theo 6.5.2.5 tại các vị trí xung yếu, đối chiếu với các giá trị giới hạn theo 6.5.4.2, thấy không đáp ứng được yêu cầu tối thiểu về môment, lực dọc trục, lực cắt.
- Sự làm việc bình thường
Các kết cấu được xếp vào mức không đáp ứng được yêu cầu về sự làm việc bình thường nếu có các dấu hiệu sau:
+ Độ võng, độ rộng vết nứt (các loại vết nứt) hiện tại vượt quá giá trị giới hạn quy định theo 6.5.4.2;
+ Bê tông đã bị bong rộp hoàn toàn hoặc dùng búa gõ nhẹ có thể bong ra được.
Độ bền lâu cũng cần phải được xem xét như sau:
+ Các kết cấu thuộc diện bảo trì loại A sau nửa đầu niên hạn sử dụng được coi là đã không đạt yêu cầu về độ bền lâu nếu hàm lượng ion clorua trong bê tông tại vị trí cốt thép vượt quá giá trị 1,2 kg/m3, hoặc cốt thép đã bị rỉ;
+ Các kết cấu thuộc diện bảo trì B, C, D hoặc loại A nhưng đã quá nửa thời gian dự kiến sử dụng được coi là đã không đạt yêu cầu về độ bền lâu nếu cốt thép bị rỉ với mức độ hao hụt tiết diện vượt quá giá trị DFmax hoặc Drmax.
6.5.4.4. Lựa chọn giải pháp khắc phục
Căn cứ vào mức độ suy thoái, xác định theo 6.5.4.3, tốc độ suy thoái, xác định theo 3.5.3.2; vào tầm quan trọng của công trình và khả năng tài chính của chủ đầu tư, có thể cân nhắc, lựa chọn hướng giải quyết tình trạng hư hỏng theo hướng trình bày trong Bảng 12. Cụ thể được lập luận như sau:
- Hư hỏng cấp I: Sửa chữa bảo vệ dự phòng cho các kết cấu thuộc bảo trì loại A nếu độ bền lâu của chúng đã vượt quá giá trị giới hạn (xem 6.5.4.3).
- Hư hỏng cấp II: Sửa chữa và bảo vệ dự phòng cho các kết cấu thuộc bảo trì loại A hoặc bảo trì loại B nếu điều kiện tài chính cho phép và thời gian sử dụng lại còn dài. Đối với các trường hợp khác chỉ tiếp tục tăng cường theo dõi.
- Hư hỏng cấp III: Gia cường và sửa chữa cho kết cấu thuộc mọi loại bảo trì. Tuy nhiên nếu thời gian dự kiến sử dụng còn lại không nhiều thì có thể chỉ tăng cường theo dõi và hạn chế sử dụng, chống đỡ tạm thời.
- Hư hỏng cấp IV: Dỡ bỏ kết cấu trong mọi trường hợp.
6.5.5. Sửa chữa và gia cường kết cấu
6.5.5.1. Lựa chọn phương án sửa chữa
Phương án sửa chữa được lựa chọn tùy thuộc vào mức độ suy thoái kết cấu như sau:
- Kết cấu hư hỏng loại I, II: áp dụng các biện pháp bảo vệ dự phòng chống ăn mòn cốt thép như sửa chữa trám bịt các vết nứt, tạo màng bảo vệ mặt ngoài kết cấu hoặc bảo vệ cốt thép bằng phương pháp catôt.
- Kết cấu bị hư hỏng loại III nhưng chưa có dấu hiệu mất khả năng chịu lực: Áp dụng các biện pháp sửa chữa bê tông và cốt thép, sửa chữa phục hồi tiết diện kết cấu, bảo vệ mặt ngoài kết cấu và bảo vệ hỗ trợ cốt thép bằng phương pháp catốt.
- Kết cấu bị hư hỏng loại III, đã bị mất khả năng chịu lực: ngoài việc sửa chữa như đã nói ở trên cần có thêm biện pháp gia cường kết cấu.
- Song song với hiện tượng rỉ cốt thép do ion tác nhân xâm thực Clorua còn có thể có các nguyên nhân khác đồng thời gây nên hư hỏng kết cấu như lún nền móng, tác động vượt tải, tác động chu kỳ của khí hậu nóng ẩm… Trong các trường hợp này, khi lựa chọn phương án sửa chữa cần tham khảo chỉ dẫn kỹ thuật ở 6.1, 6.2, 6.3.
6.5.5.2. Bảo vệ dự phòng
- Sửa chữa trám bịt vết nứt: xem 6.4.5.2.1.
- Bảo vệ mặt ngoài kết cấu:
- Bảo vệ mặt ngoài kết cấu ở đây là tạo các lớp màng ngăn cách hạn chế hay ngăn cản sự thẩm thấu của ion clorua, khí CO2, O2, nước và các tác nhân xâm thực khác vào bê tông, nhằm làm chậm lại quá trình tích tụ điều kiện gây rỉ và kìm hãm tốc độ rỉ cốt thép.
- Tùy thuộc vào dạng kết cấu (dân dụng hay công nghiệp…); môi trường sử dụng: ngập nước, nước lên xuống, khí quyển biển…; yêu cầu về tính trang trí trên bề mặt công trình để lựa chọn phương pháp và vật liệu bảo vệ bề mặt thích hợp.
- Trong trường hợp trên bề mặt kết cấu có vết nứt thì trước hết cần sửa chữa trám bịt vết nứt như đã trình bày ở 6.4.5.2.1 sau đó mới tiến hành tạo các lớp màng bảo vệ mặt ngoài.
+ Sơn phủ bề mặt: Biện pháp này áp dụng thích hợp cho kết cấu thuộc các công trình xây dựng dân dụng nằm trong môi trường khí quyển, có yêu cầu về tính trang trí của bề mặt công trình. Các loại sơn dạng này được chế tạo trên nền nhựa epoxy, polyurethane, silicon, acrylic… pha loãng trong dung môi hoặc trong nước. Đối với kết cấu trong vùng nước lên xuống không có yêu cầu trang trí, thì có thể sử dụng sơn bitum, hoặc bitum cao su. Ngoài ra có thể sử dụng cả các loại sơn xi măng - polyme có tính năng chống thấm. Chi tiết về mô tả vật liệu, tính năng kỹ thuật và quy trình áp dụng xem hướng dẫn riêng của từng hãng sản xuất.
+ Vữa trát chống thấm: xem 6.4.5.2.2.
+ Bê tông phun khô: xem 6.4.5.2.2.
+ Bọc bê tông chống thấm: Biện pháp này áp dụng thích hợp cho phần kết cấu ngập trong nước và trong vùng nước lên xuống. Dùng bê tông chống thấm hạt nhỏ có khả năng tự đầm và tự chảy, độ chống thấm tối thiểu B10, mác tối thiểu 30 MPa, chiều dày lớp bê tông bảo vệ không nhỏ hơn 70 mm. Quy trình thi công thực hiện theo chỉ dẫn riêng.
Bảo vệ cốt thép bằng phương pháp catốt: Đối với các kết cấu quan trọng, thời gian sử dụng theo thiết kế còn dài nhưng bê tông không đủ năng lực để bảo vệ cốt thép như: chiều dày bảo vệ mỏng, bê tông đã bị nhiễm ion clorua cao trên diện rộng thì có thể áp dụng biện pháp bảo vệ trực tiếp cốt thép bằng phương pháp catốt theo nguyên lý dòng ngoài hoặc anốt hy sinh. Qui trình áp dụng được thực hiện theo chỉ dẫn riêng.
6.5.5.3. Sửa chữa kết cấu
Qui trình sửa chữa phục hồi tiết diện được thực hiện theo các bước sau:
- Chống đỡ kết cấu: Tiến hành chống đỡ kết cấu và giải phóng hoàn toàn hoặc một phần kết cấu cần sửa chữa khỏi trạng thái chịu lực. Các kết cấu lớn có thể chia ra xử lý từng phần thiết diện.
- Đục tẩy bê tông: Yêu cầu đục tẩy hoàn toàn phần bê tông đã bị ăn mòn, bong lở và phần bê tông bị nhiễm ion clorua trên mức 1,0 kg/m3. Thông thường cần đục sâu sau cốt thép từ 20 mm đến 30 mm.
- Tẩy gỉ cốt thép: xem 6.4.5.3.
- Tạo bám dính giữa bê tông/vữa mới và bê tông cũ: xem 6.4.5.3.
- Các giải pháp thi công và vật liệu sửa chữa: xem 6.4.5.3
- Việc sửa chữa phần kết cấu dưới nước được thực hiện theo chỉ dẫn riêng.
6.5.5.4. Gia cường kết cấu
Xem 3.4.5.4.
Trong một số trường hợp cần thiết, nếu sau khi sửa chữa và gia cường, kết cấu bê tông không đủ năng lực bảo vệ cốt thép như chiều dày bảo vệ mỏng, bê tông bị nhiễm ion clorua ở mức độ cao trên diện rộng… thì phải áp dụng biện pháp bảo vệ chống ăn mòn hỗ trợ như bảo vệ mặt ngoài, bảo vệ cốt thép bằng phương pháp catốt. Chi tiết xem mô tả ở 6.5.5.2.
6.5.6. Ghi chép và lưu giữ hồ sơ
Toàn bộ quá trình kiểm tra chi tiết, thiết kế phương án sửa chữa và thi công sửa chữa đều phải được ghi chép đầy đủ theo trình tự quản lý chất lượng xây dựng cơ bản hiện hành, chuyển cho chủ đầu tư lưu giữ lâu dài. Cụ thể cần lập các hồ sơ sau:
- Các báo cáo kiểm tra ban đầu, thường xuyên và định kỳ;
- Báo cáo khảo sát chi tiết hư hỏng kết cấu;
- Hồ sơ thiết kế, sửa chữa, gia cường kết cấu;
- Nhật ký thi công;
- Các biên bản kiểm tra chất lượng vật liệu và chất lượng thi công từng giai đoạn;
- Hồ sơ hoàn công.
Bảng 12 - Các phương án giải quyết khắc phục tình trạng suy thoái kết cấu trong môi trường biển
|
Cấp độ hư hỏng |
Mô tả trạng thái hư hỏng |
Mức độ hư hỏng xét theo các yêu cầu kỹ thuật |
Các phương án giải quyết |
||||
|
Sửa chữa |
Gia cường |
Tăng cường theo dõi |
Chống đỡ tạm thời và hạn chế sử dụng |
Phá bỏ |
|||
|
I |
Không có bất cứ một dấu hiệu hư hỏng nào thể hiện bên ngoài kết cấu (mặt dù vậy nhưng cốt thép có thể chớm rỉ hoặc hàm lượng ion clorua đã vướt quá ngưỡng gây rỉ) |
- Khả năng chịu lực: đạt yêu cầu: - Sự làm việc bình thường: đạt yêu cầu; - Độ bền lâu: đạt yêu cầu, hoặc có thể không đạt yêu cầu (nếu kết cấu thuộc bảo trì loại A) |
+ |
|
+ |
|
|
|
II |
Cốt thép bị rỉ nhẹ, gây nứt bê tông bảo vệ nhưng chưa bong, lở. Các dạng vết nứt khác với bề rộng nhỏ hơn 0,5 mm |
- Khả năng chịu lực: đạt yêu cầu; - Sự làm việc bình thường: đạt yêu cầu, hoặc không (nếu bề rộng vết nứt lớn hơn 0,2 mm); - Độ bền lâu: đạt yêu cầu, hoặc không (nếu kết cấu thuộc bảo trì loại A). |
+ |
|
+ |
|
|
|
III |
Bê tông bị ăn mòn, cốt thép bị rỉ nặng, bong lở hoàn toàn bê tông bảo vệ. Có thể có dấu hiệu mất ổn định kết cấu |
- Khả năng chịu lực: đạt yêu cầu, hoặc không (tùy vào tính toán cụ thể); - Sự làm việc bình thường: không đạt yêu cầu; - Độ bền lâu: không đạt yêu cầu nếu DF hoặc Dr đã vượt quá giá trị giới hạn |
+ |
+ |
+ |
+ |
|
|
IV |
Kết cấu đã bị gãy gục, sụp đổ |
- Khả năng chịu lực: không đạt yêu cầu; - Sự làm việc bình thường: không đạt yêu cầu; - Độ bền lâu: không đạt yêu cầu. |
|
|
|
|
+ |
6.6. Sửa chữa kết cấu hư hỏng do tác động của môi trường xâm thực công nghiệp
6.6.1. Phạm vi áp dụng
Mục này hướng dẫn các giải pháp kỹ thuật sửa chữa kết cấu bê tông cốt thép bị hư hỏng do ăn mòn bê tông và cốt thép trong môi trường xâm thực công nghiệp. Nội dung hướng dẫn bao gồm: kiểm tra chi tiết, xác định cơ chế suy thoái, đánh giá mức độ hư hỏng, dự báo thời gian sử dụng còn lại, lựa chọn biện pháp khắc phục và hướng dẫn một số giải pháp sửa chữa, gia cường kết cấu thường được áp dụng trong thực tế.
Trong các nhà máy công nghiệp tồn tại nhiều loại tác nhân xâm thực khác nhau và cơ chế ăn mòn của chúng đối với bê tông hay cốt thép cũng rất đa dạng và phức tạp. Phạm vi điều chỉnh của mục này chỉ đề cập tới các tác nhân xâm thực tiêu biểu thường gặp trong thực tế ở Việt Nam là các hóa chất cơ bản (axit vô cơ, kiềm NaOH, Na2CO3, các muối sunfat, muối amoni, muối clorua, muối nitrit…), phân bón tổng hợp, axit hữu cơ. Các tác nhân này tồn tại ở dạng lỏng hoặc rắn. Ngoài ra còn phải kể tới các môi trường khí chứa các tác nhân xâm thực như hơi axit, khí CO2, SO2, H2S, NH3, HF…
Các tác nhân xâm thực kể trên thường có ở các nhà máy sản xuất hoặc sử dụng hóa chất cơ bản, các nhà máy sản xuất phân bón, nhà máy chế biến thực phẩm… Kết cấu bê tông cốt thép trong các nhà máy công nghiệp thông thường được bảo trì ở loại B.
6.6.2. Kiểm tra chi tiết
6.6.2.1. Khảo sát sơ bộ và phân cấp hư hỏng kết cấu
Khảo sát sơ bộ bằng quan trắc toàn bộ kết cấu hay hệ kết cấu. Ghi chép đánh dấu trên bản vẽ kết hợp với chụp ảnh, quay phim ghi nhận các dấu hiệu hư hỏng sau đây (bao gồm dạng, vị trí và qui mô hư hỏng):
- Bong tróc, nứt vỡ các lớp sơn, vữa trát, gạch ốp lát có chức năng bảo vệ chống ăn mòn trên bề mặt kết cấu;
- Dấu hiệu ăn mòn bê tông như tiết vôi trắng, bê tông bị mủn lở, bị nứt ở dạng ăn mòn sun phát;
- Dấu hiệu ăn mòn cốt thép, biểu hiện là các vết rỉ vàng thấm ra mặt ngoài bê tông, bê tông bị nứt dọc cốt thép hoặc bị bong lở hoàn toàn để lộ cốt thép đã bị rỉ;
- Các dấu hiệu hư hỏng kết cấu khác như:
+ Các dạng nứt kết cấu do các nguyên nhân khác (ngoài nứt do rỉ cốt thép);
+ Biến dạng võng, nghiêng, lệch kết cấu;
+ Gãy, sụp đổ kết cấu.
Từ kết quả khảo sát sơ bộ như đã nêu trên, phân loại kết cấu thành từng vùng hay từng bộ phận kết cấu theo các cấp hư hỏng điển hình sau:
- Cấp I: vùng kết cấu hay bộ phận kết cấu chưa có bất cứ dấu hiệu hư hỏng nào thể hiện ra bên ngoài.
- Cấp II: Vùng kết cấu hay bộ phận kết cấu đã có dấu hiệu bị hư hỏng nhẹ. Cụ thể gồm các dấu hiệu:
+ Lớp bảo vệ chống ăn mòn trên bề mặt kết cấu (nếu có) bị hư hỏng, bong rộp hoặc nứt vỡ. Bê tông bên trong chưa bị hư hỏng hoặc hư hỏng nhẹ.
+ Bê tông bên ngoài còn nguyên vẹn nhưng có hiện tượng bị tiết vôi trắng, bề mặt bê tông bị mủn nhẹ, có mùi lạ;
+ Cốt thép bị rỉ nhẹ, có vết rỉ thấm ra mặt ngoài kết cấu, hoặc bê tông bảo vệ bị nứt nhỏ (bề rộng vết nứt tối đa 1,0 mm), gõ nhẹ bằng búa không làm bong bê tông bảo vệ;
+ Các dạng vết nứt khác với bề rộng nứt nhỏ hơn 0,5 mm.
- Cấp III: Vùng kết cấu hay bộ phận kết cấu bị hư hỏng nặng, gồm các dấu hiệu:
+ Ăn mòn bê tông ở mức độ nặng, biểu hiện bê tông bị ăn mủn lở sâu và rộng, bê tông bị nứt vỡ trên diện rộng;
+ Cốt thép bị rỉ nặng, bê tông bảo vệ bị nứt to hoặc bong lở hoàn toàn;
+ Khả năng chịu lực của kết cấu đã bị suy giảm như nứt kết cấu nghiêm trọng, biến dạng nghiêng lệch lớn…
- Cấp IV: Kết cấu bị mất khả năng chịu lực hoàn toàn.
Các kết cấu lớn như silô, bể chứa, tháp, vòm… được phân thành các vùng hư hỏng khác nhau. Đối với hệ kết cấu gồm nhiều bộ phận như cột, dầm, sàn của nhà thì từng bộ phận này được phân thành các mức hư hỏng như đã phân cấp ở trên.
Qui mô và mức độ khảo sát chi tiết cần lựa chọn tùy vào cấp hư hỏng kết cấu và tầm quan trọng của kết cấu (xem Bảng 13).
Bảng 13 - Quy mô kiểm tra chi tiết kết cấu theo cấp độ hư hỏng
|
Cấp hư hỏng kết cấu hay bộ phận kết cấu |
Số lượng mẫu, vùng hay bộ phận kết cấu cần kiểm tra tùy theo chỉ tiêu kiểm tra |
|||
|
Tính chất cơ lý bê tông |
Ăn mòn cốt thép |
Hàm lượng và chiều sâu xâm nhập tác nhân xâm thực xác định trên lõi khoan hoặc bột khoan |
Thông số đánh giá khả năng chịu lực |
|
|
Cấp I |
Tối thiểu 3 vùng hay 3 bộ phận kết cấu hư hỏng đại diện |
Tối thiểu 15 phần trăm số vùng hay bộ phận kết cấu hư hỏng đại diện |
Tối thiểu 3 mẫu khoan bột cho toàn vùng hoặc bộ phận được chọn để kiểm tra |
|
|
Cấp II |
Tối thiểu 3 vùng hay 3 bộ phận kết cấu hư hỏng đại diện |
Tối thiểu 15 phần trăm số vùng hay bộ phận kết cấu hư hỏng đại diện |
Tối thiểu 3 mẫu khoan bột cho toàn vùng hoặc bộ phận được chọn để kiểm tra |
|
|
Cấp III, cấp IV1) |
Tối thiểu 3 vùng hay 3 bộ phận kết cấu hư hỏng đại diện |
100 phần trăm số vùng hay bộ phận kết cấu hư hỏng được chọn |
Tối thiểu 3 mẫu khoan bột cho toàn vùng hoặc bộ phận được chọn để kiểm tra |
100 phần trăm số vùng hay bộ phận kết cấu |
|
CHÚ THÍCH: 1) Đối với kết cấu hay bộ phận kết cấu đã bị hư hỏng hoàn toàn (Cấp IV), không cần phải kiểm tra chi tiết nếu không có yêu cầu giám định nguyên nhân hư hỏng. |
||||
6.6.2.2. Kiểm tra tính chất cơ lý và cấu trúc bê tông
Tính chất cơ lý và cấu trúc của bê tông cần được kiểm tra trên các vùng hay bộ phận kết cấu đại diện cho các cấp hư hỏng, tập trung vào các vị trí quan trọng về yêu cầu chịu lực trên công trình. Cụ thể không ít hơn 3 vùng hoặc 3 bộ phận kết cấu đại diện cho từng cấp hư hỏng.
Chỉ tiêu cơ lý của bê tông cần được kiểm tra trong mọi trường hợp là cường độ chịu nén. Ngoài ra tùy theo tình trạng hư hỏng cụ thể mà kiểm tra thêm các chỉ tiêu khác như độ hút nước, cấu trúc bê tông, độ rỗng của bê tông, xác định định tính chiều sâu trung tính hóa bê tông, mô đun đàn hồi, độ đồng nhất về cường độ… của bê tông.
Cách thức kiểm tra được tiến hành như sau:
- Từ mỗi vùng, bộ phận kết cấu được kiểm tra khoan lấy 1 tổ mẫu theo tiêu chuẩn TCVN 3105:1993. Đối với các vị trí bê tông chưa bị ăn mòn, cường độ chịu nén và độ đồng nhất về cường độ có thể xác định bằng các phương pháp không phá hủy như siêu âm, súng bật nảy… theo các tiêu chuẩn TCVN 9334:2012 và TCVN 9357:2012.
- Tiến hành quan sát và chụp ảnh ghi nhận bề mặt lõi khoan. Xác định cấu trúc bê tông và lỗ rỗng bê tông tham khảo theo ASTM C856:88 và ASTM C457:90. Nhỏ dung dịch phenophtalein từ mặt ngoài bê tông vào trong để xác định chiều sâu trung tính hóa (là phần bê tông không chuyển sang màu hồng sau khi nhỏ phenophtalein). Tiếp theo xác định độ hút nước, lỗ rỗng, cường độ chịu nén và mô đun đàn hồi của bê tông theo các tiêu chuẩn TCVN 3118:1993, TCVN 3119:1993, TCVN 5726:1993 hay tham khảo BS 1881 Part 120:83.
- Nếu có yêu cầu về phân tích hàm lượng xi măng đã đóng rắn trong bê tông, sau khi ép, mẫu được lưu để xác định hàm lượng xi măng trong bê tông tham khảo theo ASTM 1084:97. Hàm lượng xi măng chỉ xác định tại phần bê tông chưa bị ăn mòn.
- Trong trường hợp cần phân tích kỹ hơn về thành phần và cấu trúc của đá xi măng thì trên mặt ngoài lõi khoan, tách một phần đá xi măng để nghiền mịn, phân tích thành phần hóa theo TCVN 141:2008, phân tích vi nhiệt DTA, phân tích nhiễu xạ Rơn ghen XRD, chụp bằng kính hiển vi điện tử quét SEM.
6.6.2.3. Kiểm tra tình trạng ăn mòn cốt thép
Đối với các vùng hay bộ phận kết cấu chưa bị rỉ cốt thép hoặc mới bị rỉ nhẹ, lựa chọn tối thiểu 15% số vùng hoặc bộ phận kết cấu tiêu biểu để kiểm tra tình trạng rỉ cốt thép. Phương pháp kiểm tra không phá hủy được thực hiện theo tiêu chuẩn TCVN 9348:2012 hoặc tham khảo ASTM C 876:1999 kết hợp với đục lộ cốt thép tại một vài điểm để kiểm tra đối chứng.
Đối với các vùng kết cấu hay bộ phận kết cấu đã bị rỉ cốt thép nặng (cấp III), kiểm tra toàn bộ số vùng hay bộ phận kết cấu này. Phương thức kiểm tra được thực hiện bằng cách đục lộ cốt thép, do chiều dày lớp rỉ và đường kính còn lại của cốt thép bằng thước kẹp cơ khí.
Tại các vị trí kiểm tra cốt thép cần xác định chiều dày lớp bê tông bảo vệ tương ứng. Phương pháp kiểm tra được thực hiện bằng thiết bị điện từ chuyên dụng theo tiêu chuẩn TCVN 9356:2012 hoặc tham khảo BS 1881-Part 204:88 hoặc đục lộ cốt thép để đo trực tiếp. Nên lựa chọn vị trí kiểm tra ăn mòn cốt thép trùng với vị trí kiểm tra tính chất cơ lý của bê tông và vị trí khoan mẫu bột xác định định lượng hàm lượng và chiều sâu xâm nhập các tác nhân gây ăn mòn.
6.6.2.4. Xác định hàm lượng và chiều sâu xâm nhập các tác nhân gây ăn mòn
Vị trí khoan mẫu cần đặt gần với vị trí kiểm tra các tính chất cơ lý của bê tông và tình trạng ăn mòn cốt thép trên kết cấu. Đại diện cho mỗi cấp hư hỏng, tối thiểu khoan 3 mẫu song song trên 3 vị trí khác nhau.
Mẫu được lấy ở dạng bột bằng phương pháp khoan khô. Dùng mũi khoan đường kính 12 cm đến 16 cm khoan nhiều lỗ trên một diện tích tối thiểu 400 cm2 theo các lớp từ 0 cm đến 1 cm; từ 1 cm đến 6 cm…từ 6 cm đến 8 cm hoặc sâu hơn theo hướng từ ngoài vào trong. Lượng bột lấy cho mỗi lớp tối thiểu là 200 g. Mẫu sau khi lấy cần được bảo quản ngay trong túi kín để tránh hiện tượng cacbonát hóa.
Trên tất cả các mẫu, việc xác định chỉ tiêu pH được tiến hành theo tiêu chuẩn tham khảo ASTM D 5015:95. Tùy thuộc vào loại tác nhân xâm thực có trong môi trường, có thể phải phân tích hàm lượng các ion có liên quan như SO-3, NO3, Cl-, PO3-4, Na+, K+… theo tiêu chuẩn TCVN 141:2008; hoặc tham khảo ASTM C1152:94.
6.6.2.5. Thu thập các thông số đánh giá khả năng chịu lực của kết cấu
Tại tất cả các vị trí kết cấu hay bộ phận kết cấu quan trọng về yêu cầu chịu lực, các vị trí kết cấu bị hư hỏng nặng (cấp III) cần phải thu thập các thông số cần thiết nhằm đánh giá lại khả năng chịu lực và sự làm việc bình thường thực tế của kết cấu. Cụ thể là các thông số sau:
- Kích thước hình học kết cấu, các mặt cắt tiết diện kết cấu;
- Bố trí cốt thép;
- Mức độ rỉ cốt thép, đường kính cốt thép còn lại;
- Cường độ và độ đồng nhất về cường độ của bê tông;
- Tải trọng tác động lên kết cấu;
- Các dạng vết nứt vỡ và mức độ biến dạng của kết cấu.
Trong một số trường hợp cần thiết, nếu không xác định được chính xác các thông số nói trên thì có thể gia tải kết cấu để kiểm tra trực tiếp khả năng chịu lực của chúng. Chi tiết xem hướng dẫn ở 6.1.
Kích thước của các mặt cắt tiết diện được đo vẽ trực tiếp. Bố trí cốt thép được lấy theo hồ sơ hoàn công. Trong trường hợp không có hồ sơ hoàn công thì tiến hành dò cốt thép bằng thiết bị điện từ theo tiêu chuẩn TCVN 9356:2012 hoặc tham khảo BS 1881:Part 204:88. Cường độ và độ đồng nhất của bê tông nếu chưa được kiểm tra theo 6.6.2.2 thì xác định bằng các phương pháp không phá hủy theo TCVN 9334:2012, TCVN 9357:2012 hoặc tham khảo theo TCXDVN 239:2006. Mức độ rỉ cốt thép và đường kính còn lại xác định trực tiếp bằng thước kẹp cơ khí.
Tải trọng tác động lên kết cấu được xác định trực tiếp trên hiện trường, tính toán theo tiêu chuẩn TCVN 2737:1995.
Các vết nứt và biến dạng của kết cấu dưới tác động khí hậu nóng ẩm và của tải trọng được kiểm tra, theo hướng dẫn ghi trong 6.1, 6.3.
Trong trường hợp nghi ngờ có thể có các nguyên nhân khác dẫn tới suy thoái kết cấu ngoài nguyên nhân do rỉ cốt thép và ăn mòn bê tông như lún nền móng, tác động chu kỳ của khí hậu nóng ẩm, tác động sự cố bất thường của tải trọng… thì cần khảo sát thu thập thêm một số thông số khác có liên quan tới các dạng hư hỏng này được nêu trong 6.1; 6.2 và 6.3.
Kết cấu đã bị mất khả năng chịu lực hoàn toàn thì không cần phải khảo sát chi tiết. Tuy nhiên trong trường hợp cần xác định nguyên nhân gây nên sự cố hư hỏng thì tiến hành xác định các thông số để thẩm tra lại khả năng chịu lực và sự làm việc bình thường của kết cấu như đã nói ở trên.
6.6.2.6. Kiểm tra tính chất xâm thực của môi trường
Tìm hiểu sơ đồ công nghệ và dây chuyền sản xuất của nhà máy. Xác định các hóa chất có trong nguyên liệu đầu vào, trong sản phẩm và trong các chất thải ở dạng lỏng, rắn và khí. Ghi nhận điều kiện tiếp xúc của các hóa chất này với kết cấu của công trình.
Trong trường hợp không có được thông tin rõ ràng về thành phần hóa nói trên thì có thể lấy mẫu nguyên liệu, sản phẩm và các chất thải ở dạng lỏng, rắn và khí để xác định độ pH và hàm lượng các tác nhân xâm thực dự kiến sẽ có trong chúng.
Đo nhiệt độ và độ ẩm của môi trường tiếp xúc với kết cấu.
Xác định các tác động cơ học (nếu có) trong sơ đồ công nghệ sản xuất như áp lực của hơi, tác động va đập của chất lỏng trong quá trình khuấy, rung động do máy chạy… tác động lên kết cấu.
Phân tích mối quan hệ giữa các vị trí hư hỏng nặng nhất của kết cấu với các tác động của môi trường xâm thực (tác động hóa học, vật lý và cơ học) nhằm tìm ra mối liên quan giữa chúng.
6.6.2.7. Kiểm tra các hồ sơ lưu trữ có liên quan
Các hồ sơ lưu trữ có liên quan cần được kiểm tra như sau:
- Hồ sơ thiết kế;
- Hồ sơ hoàn công;
- Nhật ký thi công;
- Hồ sơ ghi chép kết quả kiểm tra ban đầu, thường xuyên và định kỳ;
- Hồ sơ ghi chép các lần sửa chữa trước đó (nếu có);
- Nguồn vật liệu đã sử dụng như xi măng, cốt liệu, nước trộn, phụ gia. Mác bê tông, tỷ lệ N/XM, hàm lượng xi măng… đã sử dụng.
Tầm quan trọng và cấp bảo trì công trình đã được sử dụng, thời gian sử dụng còn lại theo thiết kế.
6.6.3. Xác định cơ chế và tốc độ xuống cấp của kết cấu
6.6.3.1. Xác định cơ chế xuống cấp
Để xác định được chính xác cơ chế và nguyên nhân dẫn tới sự xuống cấp của kết cấu cần căn cứ vào các dữ liệu sau:
- Tính chất xâm thực của môi trường, xác định theo 6.6.2.6;
- Dấu hiệu hư hỏng thể hiện bên ngoài, xác định theo 6.6.2.1;
- Các số liệu khảo sát chi tiết về tính chất cơ lý và cấu trúc bê tông, tình trạng ăn mòn cốt thép, hàm lượng và chiều sâu xâm nhập các tác nhân gây ăn mòn xác định theo 6.6.2.2; 6.6.2.3 và 6.6.2.4.
Nguyên nhân chủ yếu dẫn tới suy thoái kết cấu trong môi trường xâm thực công nghiệp là do bê tông bị ăn mòn và cốt thép bị rỉ.
Bê tông trong môi trường xâm thực công nghiệp có thể bị ăn mòn ở 3 dạng chính là:
- Tiết vôi (hay còn gọi là ăn mòn rửa trôi);
- Phân hủy đá xi măng do các phản ứng hóa học giữa tác nhân xâm thực và thành phần khoáng hóa của đá xi măng;
- Nứt bê tông do sự tích tụ các tinh thể mới gây nội ứng suất phá vỡ cấu trúc bê tông.
Để nhận biết bê tông bị ăn mòn ở dạng nào cần lần lượt xem xét các dữ liệu sau đây:
- Bê tông được coi là bị ăn mòn ở dạng tiết vôi khi có các bằng chứng sau:
+ Có dấu hiệu tiết vôi (Ca(OH)2) và cácbonat hóa (CaCO)3 ở mặt ngoài kết cấu;
+ Môi trường xâm thực là nước mềm;
+ Tính chất cơ lý của bê tông về cơ bản không có sự thay đổi nhiều so với bê tông tại vị trí không bị ăn mòn. Phân tích thành phần khoáng hóa có thể cho thấy sự suy giảm đáng kể của Ca2+; Ca(OH)2 kèm theo độ pH của bê tông bị giảm;
- Bê tông được coi là bị ăn mòn ở dạng phân hủy khi có các bằng chứng sau:
+ Có dấu hiệu phân rã của đá xi măng, bê tông bị mềm, mủn lở, xốp…;
+ Môi trường xâm thực mang tính axits, kiềm mạnh hoặc có chứa các muối trung tính có khả năng gây nên phản ứng trao đổi với thành phần khoáng hóa của đá xi măng tạo nên các sản phẩm ăn mòn dễ tan trong nước hoặc không có cường độ;
+ Cường độ nén bị suy giảm mạnh so với bê tông không bị ăn mòn, độ rỗng và độ hút nước tăng. So sánh, phân tích thành phần khoáng hóa của đá xi măng so với mẫu không bị ăn mòn cho thấy sự suy giảm hàm lượng Ca2+, Ca(OH)2 kèm theo độ pH của bê tông bị giảm rất mạnh.
- Bê tông được coi là bị ăn mòn ở dạng nứt vỡ do các khoáng mới kết tinh và tích tụ tạo ra ứng suất nội khi có các bằng chứng sau:
+ Bê tông bị nứt, vỡ nhưng không phải là nứt do rỉ cốt thép hoặc nứt kết cấu dưới tác động của tải trọng hoặc tác động của chu kỳ thay đổi nhiệt ẩm;
+ Môi trường xâm thực ở dạng lỏng, rắn chứa các muối có các nhóm chức SO42-, NO3-, Cl-, CO32- hoặc ở dạng khí có chứa SO3, SO2, H2S, NO…;
+ Cường độ bê tông bị suy giảm so với vị trí không bị ăn mòn. Phân tích thành phần khoáng hóa của đá xi măng cho thấy sự hình thành rõ rệt các khoáng dễ gây nở thể tích như 3CaO.Al2O3.3CaSO4.32H2O, 3CaO.Al2O3.Ca(NO3)2.10H2O, Ca(NO3)2.4H2O, CaCl2.6H2O, CaSO4.2H2O…
+ Bê tông nứt vỡ do phản ứng kiềm - silic cũng được liệt vào dạng ăn mòn này. Xem 6.5.2.1 để nhận biết các dấu hiệu của phản ứng kiềm - silic.
Cốt thép bị rỉ khi có dấu hiệu rỉ thể hiện rõ như mô tả ở 6.6.2.1 hoặc có thể chưa có các dấu hiệu này nhưng kiểm tra thế ăn mòn cho giá trị Ecorr nhỏ hơn hoặc bằng âm 350 mV. Kèm theo đó là độ pH của bê tông giảm dưới 10,5 hoặc hàm lượng ion Cl- vượt quá 1,2 kg/m3 bê tông. Trong môi trường xâm thực công nghiệp, độ pH của bê tông bị suy giảm có thể là do bê tông bị ăn mòn (chủ yếu ở dạng 1 và dạng 2) hoặc do bê tông bị cácbonat hóa như mô tả ở 6.4.
6.6.3.2. Xác định tốc độ xuống cấp
Nguyên tắc chung: Từ kết quả xác định cơ chế và nguyên nhân gây suy thoái kết cấu như đã nêu ở 6.6.3.1, phân loại suy thoái kết cấu trong môi trường xâm thực công nghiệp theo các tình huống sau:
- Trường hợp 1: Suy thoái do rỉ cốt thép dưới tác động của hiện tượng cácbonat hóa bê tông hoặc dưới tác động của ion Cl-;
- Trường hợp 2: Suy thoái do rỉ cốt thép xuất phát từ hiện tượng bê tông bị ăn mòn dẫn tới quá trình trung tính hóa bê tông;
- Trường hợp 3: Suy thoái do bê tông bị ăn mòn trực tiếp làm suy giảm khả năng chịu lực của kết cấu.
Căn cứ vào từng tình huống suy thoái cụ thể mà xác định tốc độ xuống cấp và dự báo thời gian sử dụng còn lại của công trình.
Trường hợp 1: Tốc độ suy thoái và thời gian sử dụng còn lại của kết cấu được xác định tương tự như đã trình bày ở 6.4.3.2 trong trường hợp nguyên nhân gây rỉ cốt thép là hiện tượng cácbonat hóa bê tông và 6.5.3.2 trong trường hợp nguyên nhân gây rỉ cốt thép là do tác động của ion Cl-.
Trường hợp 2: Quá trình suy thoái kết cấu trong trường hợp này được chia làm 3 giai đoạn như mô tả ở Bảng 14.
Bảng 14 - Mô tả các giai đoạn suy thoái kết cấu trong môi trường xâm thực công nghiệp do ăn mòn bê tông dẫn tới rỉ cốt thép
|
STT |
Tên gọi giai đoạn |
Bản chất hiện tượng |
Yếu tố quyết định tốc độ của quá trình suy thoái |
Giá trị giới hạn |
|
1 |
Giai đoạn tiềm ẩn 1) |
Phá hủy lớp bảo vệ chống ăn mòn trên bề mặt kết cấu |
- |
- |
|
2 |
Giai đoạn tích tụ điều kiện gây rỉ cốt thép |
Bê tông bị ăn mòn, độ pH giảm |
Tốc độ thẩm thấu chất xâm thực và tốc độ phản ứng hóa học giữa chất xâm thực và thành phần khoáng hóa của đá xi măng |
Chiều sâu trung tính hóa sát vị trí cốt thép |
|
3 |
Giai đoạn phát triển rỉ cốt thép |
Cốt thép rỉ gây nứt và bong lở bê tông bảo vệ cho tới khi làm mất khả năng chịu lực của kết cấu |
Tốc độ rỉ cốt thép |
Tiết diện cốt thép tối thiểu còn đảm bảo khả năng chịu lực |
Thông thường không thể dự báo được thời điểm lớp bê tông bảo vệ bề mặt bắt đầu bị phá hủy. Do vậy, thời lượng của giai đoạn tiềm ẩn chỉ có thể xác định bằng thực tế sau khi lớp bảo vệ bề mặt đã bị phá hủy và tác nhân xâm thực có điều kiện tiếp cận trực tiếp lên lớp bề mặt bê tông. Kể từ đây, quá trình tích tụ điều kiện gây rỉ và sau đó là phát triển gỉ bắt đầu xảy ra. Phương pháp dự báo tốc độ suy thoái của 2 giai đoạn này được thực hiện như sau:
- Tốc độ suy thoái trong giai đoạn tích tụ điều kiện gây rỉ được biểu thị bằng sự phát triển chiều sâu trung tính hóa bê tông theo thời gian, xác định bằng công thức:
x = k (15)
trong đó:
x: Chiều dầy lớp bê tông bị trung tính hóa, tính bằng milimét (mm);
k: Hệ số phản ánh tốc độ trung tính hóa;
tin: Thời gian bê tông chịu tác động xâm thực của các tác nhân gây ăn mòn, tính bằng năm (năm).
Từ công thức trên có thể dự báo thời điểm cốt thép sẽ bắt đầu rỉ như sau:
tin max = ( )2 (16)
trong đó:
tin max: Thời gian kết cấu bắt đầu bị các tác nhân xâm thực tiếp cận cho tới khi cốt thép bắt đầu rỉ, tính bằng năm (năm).
C: Chiều dày lớp bê tông bảo vệ cốt thép, tính bằng milimet (mm);
k: hệ số phản ánh tốc độ trung tính hóa tính từ biểu thức (14) khi các giá trị x và t được lấy bằng các số liệu khảo sát thực tế theo 6.6.2.2 và 6.6.2.4.
Phương pháp xác định tốc độ xuống cấp trong giai đoạn tích tụ điều kiện gây rỉ được mô tả trên đây thường chỉ phù hợp với ăn mòn bê tông ở dạng 1 và dạng 2. Đối với ăn mòn bê tông ở dạng 3 cần thiết phải tiến hành thí nghiệm mô phỏng để kiểm chứng lại phương pháp dự báo này.
Tốc độ suy thoái kết cấu trong giai đoạn phát triển gỉ và dự báo thời gian sử dụng còn lại của kết cấu trong giai đoạn này được xác định tương tự như đã trình bày ở 6.4.3.2.
Trường hợp 3: Tốc độ suy thoái kết cấu trong trường hợp này được biểu thị bằng tốc độ ăn mòn bê tông, phản ánh qua sự suy giảm cường độ bê tông theo thời gian và tiếp theo là suy giảm mặt cắt tiết diện kết cấu và hệ quả là suy giảm khả năng chịu lực của kết cấu. Trong trường hợp này, không thể đưa ra trước một mô hình tính toán cố định. Để lượng hóa được tốc độ xuống cấp cần căn cứ vào kết quả khảo sát thực tế, trên cơ sở quy hoạch thực nghiệm lựa chọn mô hình toán chỉ rõ sự thay đổi cường độ bê tông và khả năng chịu lực của kết cấu theo thời gian.
6.6.4. Xác định mức độ xuống cấp và lựa chọn biện pháp khắc phục
6.6.4.1. Yêu cầu chung
Xác định mức độ xuống cấp được thực hiện thông qua việc kiểm tra các chỉ số công năng về khả năng chịu lực (an toàn), sự làm việc bình thường và độ bền lâu hiện tại của kết cấu (Ptt) so với các giá trị yêu cầu (Pyc). Có thể kiểm tra toàn bộ kết cấu hay từng bộ phận kết cấu trên công trình. Việc kiểm tra công năng được tiến hành cả trước và sau khi sửa chữa kết cấu.
6.6.4.2. Phân loại kết cấu theo mức độ xuống cấp
Toàn bộ kết cấu cần được kiểm tra các chỉ số công năng về độ an toàn và khả năng làm việc bình thường, so sánh với các giá trị giới hạn quy định ở 6.6.4.2 và phân thành các mức như sau:
- Khả năng chịu lực: Kết cấu hay bộ phận kết cấu được xếp vào mức không còn đáp ứng được khả năng chịu lực nếu có một trong các dấu hiệu sau:
+ Kết cấu đã bị gãy, sụp đổ hoặc hư hỏng cục bộ nghiêm trọng;
+ Kết cấu bị rỉ cốt thép nặng ở cấp III, mức độ rỉ cốt thép vượt quá giới hạn DFmax hoặc Drmax xác định theo TCVN 5574:1991;
+ Kết cấu bị ăn mòn bê tông nặng ở cấp III. Suy giảm cường độ và mặt cắt tiết diện vượt quá giới hạn tối thiểu tính theo TCVN 5574:1991;
+ Kết cấu tại các vị trí xung yếu tuy chưa có các dấu hiệu hư hỏng kể trên nhưng qua thẩm tra lại khả năng chịu lực của kết cấu theo 6.6.2.5, đối chiếu với các giá trị giới hạn theo 6.6.4.2 không còn đáp ứng được yêu cầu tối thiểu về môment, lực dọc trục, lực cắt mà nó phải chịu.
- Sự làm việc bình thường: Các kết cấu được xếp vào mức không đáp ứng được yêu cầu về sự làm việc bình thường nếu có các dấu hiệu sau:
+ Độ võng, độ rộng vết nứt hiện tại vượt quá giá trị giới hạn quy định theo 6.6.4.2;
+ Bê tông đã bị bong rộp hoàn toàn hoặc dùng búa gõ nhẹ có thể bong ra được;
+ Trong môi trường xâm thực mạnh, lớp bảo vệ chống ăn mòn trên bề mặt kết cấu bị hư hỏng, tác nhân xâm thực đã tiếp cận trực tiếp tới bề mặt bê tông.
- Độ bền lâu: Kết cấu được coi là đã vượt quá giới hạn về độ bền lâu nếu hao hụt tiết diện cốt thép do rỉ, suy giảm cường độ bê tông và mặt cắt tiết diện kết cấu do ăn mòn bê tông vượt quá giới hạn qui định ở 6.6.4.2.
6.6.4.3. Lựa chọn giải pháp khắc phục
Căn cứ vào mức độ suy thoái (xác định theo 6.6.4.3) vào tốc độ suy thoái và dự báo thời gian sử dụng còn lại của kết cấu (xác định theo 6.6.3.2), vào tầm quan trọng của kết cấu hay bộ phận kết cấu và khả năng tài chính của chủ đầu tư… để cân nhắc lựa chọn các hướng giải quyết tình trạng hư hỏng như trình bày trong Bảng 14. Cụ thể được lập luận như sau:
- Kết cấu bị hư hỏng ở cấp I: Tiến hành sửa chữa và bảo vệ phòng ngừa đối với một số kết cấu hay bộ phận kết cấu quan trọng khi cốt thép đã bị chớm rỉ hoặc các thông số như hàm lượng ion Cl-, độ pH của bê tông… đã vượt quá ngưỡng gây rỉ. Ở các trường hợp khác chỉ cần tiếp tục theo dõi thường xuyên và định kỳ.
- Kết cấu bị hư hỏng ở cấp II:
Trong trường hợp thời gian sử dụng kết cấu còn dài, tiến hành sửa chữa các hư hỏng nhẹ và bảo vệ phòng ngừa đối với các kết cấu hay bộ phận kết cấu quan trọng. Cụ thể như sau:
+ Sửa chữa lớp bảo vệ chống ăn mòn trên bề mặt kết cấu;
+ Sửa chữa các vị trí bê tông bị ăn mòn nhẹ và các vết nứt kết cấu. Bảo vệ và phòng ngừa tại các vị trí cốt thép đã bị chớm rỉ.
Trong các trường hợp khác chỉ cần tiếp tục tăng cường theo dõi thường xuyên và định kỳ.
- Kết cấu bị hư hỏng cấp III: Sửa chữa các hư hỏng và gia cường kết cấu nếu cần. Tuy nhiên đối với các kết cấu mà thời gian sử dụng còn lại không còn nhiều hoặc bị hư hỏng quá nặng thì có thể chỉ tăng cường theo dõi, hạn chế sử dụng, chống đỡ tạm thời (nếu cần) hoặc phá bỏ.
- Kết cấu bị hư hỏng cấp IV: Dỡ bỏ kết cấu trong mọi trường hợp.
Bảng 15 - Các phương án khắc phục tình trạng suy thoái kết cấu trong môi trường xâm thực công nghiệp
|
Cấp độ hư hỏng kết cấu |
Mô tả trạng thái hư hỏng |
Mức độ hư hỏng xét theo các yêu cầu kỹ thuật |
Các phương án giải quyết |
||||
|
Sửa chữa |
Gia cường |
Tăng cường theo dõi |
Chống đỡ tạm thời và hạn chế sử dụng |
Phá bỏ |
|||
|
I |
Không có dấu hiệu hư hỏng thể hiện mặt ngoài kết cấu. Mặc dù vậy cốt thép có thể chớm rỉ hoặc hàm lượng ion Cl-, độ pH của bê tông đã vượt quá ngưỡng gây rỉ |
- Khả năng chịu lực: trên mức giới hạn - Sự làm việc bình thường: trên mức giới hạn - Độ bền lâu: trên mức giới hạn |
+ |
|
+ |
|
|
|
II |
Lớp bảo vệ bề mặt bị hư hỏng cục bộ, bê tông bị ăn mòn nhẹ, cốt thép bị rỉ nhẹ, nứt kết cấu với bề rộng nhỏ hơn 0,5 mm |
- Khả năng chịu lực: trên mức giới hạn - Sự làm việc bình thường: trên mức giới hạn hoặc dưới mức nếu lớp bảo vệ bề mặt đã bị hỏng, bề rộng vết nứt lớn hơn 0,2mm. - Độ bền lâu: trên mức giới hạn hoặc dưới mức giới hạn nếu kết cấu thuộc bảo trì nhóm A |
+ |
|
+ |
|
|
|
III |
Lớp bảo vệ bề mặt bị phá hủy trên diện rộng, bê tông bị ăn mòn nặng, cốt thép rỉ nặng. Có thể có dấu hiệu mất ổn định về mặt chịu lực |
- Khả năng chịu lực: trên hoặc dưới mức giới hạn tùy vào tính toán cụ thể; - Sự làm việc bình thường: Dưới mức giới hạn; - Độ bền lâu: Dưới mức giới hạn nếu ăn mòn cốt thép và bê tông đã vượt quá qui định ở 3.6.4.2. |
+ |
+ |
+ |
+ |
|
|
IV |
Kết cấu đã bị gãy gục, sụp đổ |
- Khả năng chịu lực: dưới mức giới hạn - Sự làm việc bình thường: dưới mức giới hạn - Độ bền lâu: dưới mức giới hạn |
|
|
|
|
+ |
6.6.5. Sửa chữa và gia cường kết cấu
6.6.5.1. Lựa chọn biện pháp sửa chữa
Tùy thuộc vào cấp hư hỏng, dấu hiệu hư hỏng và mục đích sửa chữa mà lựa chọn biện pháp sửa chữa thích hợp. Cách làm như sau:
Kết cấu hư hỏng cấp I, II.
+ Khi các dấu hiệu hư hỏng là lớp bảo vệ chống ăn mòn bề mặt bị hư hỏng cục bộ, cốt thép bị chớm rỉ hoặc độ pH hay hàm lượng ion Cl- trong bê tông đã vượt quá giới hạn gây rỉ mặc dù cốt thép chưa có dấu hiệu rỉ: Sửa chữa lại lớp bảo vệ chống ăn mòn bề mặt (xem 6.6.5.7), bảo vệ dự phòng chống ăn mòn cốt thép bằng các lớp phủ bề mặt (xem 6.6.5.3) hoặc bảo vệ trực tiếp cốt thép bằng phương pháp catốt nếu cần (xem 6.6.5.4).
+ Khi dấu hiệu hư hỏng là nứt kết cấu, nứt bê tông do rỉ cốt thép, bê tông bị ăn mòn nhẹ. Sửa chữa các vết nứt bê tông (xem 6.6.5.2), sửa chữa phần bê tông đã bị ăn mòn (xem 3.6.5.5) và bảo vệ dự phòng chống ăn mòn cốt thép và bảo vệ trực tiếp cốt thép bằng phương pháp bảo vệ catốt nếu cần (xem 3.6.5.3 và 3.6.5.4).
6.6.5.2. Kết cấu bị hư hỏng loại III, khả năng chịu lực còn trên mức giới hạn
Sửa chữa phục hồi tiết diện kết cấu (xem 6.6.5.5), bảo vệ dự phòng chống ăn mòn cốt thép hoặc bảo vệ trực tiếp cốt thép bằng phương pháp catốt nếu cần (xem 6.6.5.3 và 6.6.5.4). Sửa chữa hoặc bổ sung lớp bảo vệ chống ăn mòn trên bề mặt kết cấu (xem 6.6.5.7).
6.6.5.3. Kết cấu bị hư hỏng loại III, khả năng chịu lực còn dưới mức giới hạn
Sửa chữa phục hồi tiết diện kết hợp gia cường kết cấu (xem 6.6.5.5 và xem 6.6.5.6), bảo vệ dự phòng chống ăn mòn cốt thép hoặc bảo vệ trực tiếp cốt thép bằng phương pháp catốt nếu cần (xem 6.6.5.3 và 3.6.5.4). Sửa chữa hoặc bổ sung lớp bảo vệ chống ăn mòn trên bề mặt kết cấu (xem 6.6.5.7).
6.6.5.4. Song song với hiện tượng ăn mòn bê tông và rỉ cốt thép có thể còn có các nguyên nhân khác gây nên suy thoái kết cấu như: lún nền móng, tác động của tải trọng, tác động chu kỳ của khí hậu nóng ẩm… Trong các trường hợp này, khi lựa chọn phương án sửa chữa cần tham khảo chỉ dẫn kỹ thuật ở 6.1, 6.2 và 6.3.
6.6.5.5. Sửa chữa vết nứt
Tùy thuộc vào nguyên nhân gây nứt, dạng vết nứt, độ mở rộng vết nứt, trạng thái biến động của vết nứt… để chọn biện pháp sửa chữa vết nứt thích hợp. Chi tiết mô tả các phương pháp sửa chữa vết nứt xem 6.4.5.2.1.
6.6.5.6. Bảo vệ dự phòng chống ăn mòn cốt thép
Biện pháp bảo vệ là tạo các lớp (màng) có khả năng chống thẩm thấu ion Cl-, khí CO2, H2O, O2 và các tác nhân xâm thực khác thẩm thấu vào kết cấu nhằm làm chậm lại quá trình gỉ cốt thép. Chi tiết mô tả các phương pháp bảo vệ dự phòng chống ăn mòn cốt thép xem 6.4.5.2.
6.6.5.7. Bảo vệ trực tiếp cốt thép bằng phương pháp catot
Đối với các kết cấu quan trọng, thời gian sử dụng còn dài nhưng bê tông đã không còn đủ năng lực bảo vệ cốt thép như chiều dày lớp bảo vệ mỏng, bê tông bị trung tính hóa hoặc bị nhiễm ion Cl- ở mức độ cao mà không thể loại bỏ được hết phần bê tông này thì nên áp dụng biện pháp bảo vệ catốt theo nguyên lý dòng ngoài hoặc anốt hy sinh. Qui trình áp dụng theo chỉ dẫn riêng.
6.6.5.8. Sửa chữa phục hồi tiết diện kết cấu bị ăn mòn
Qui trình sửa chữa áp dụng tương tự như trong 6.4.5.3. Riêng việc đục tẩy bê tông đã bị ăn mòn hoặc đã bị nhiễm các tác nhân gây ăn mòn và làm sạch bề mặt bê tông thì cần được thực hiện kỹ hơn. Cụ thể như sau:
- Đục bỏ toàn bộ phần bê tông cũ đã bị ăn mòn hoặc bị nhiễm các tác nhân xâm thực cho tới phần bê tông còn tốt biểu hiện bằng các tính chất sau:
+ Cường độ bê tông và thành phần khoáng hóa của đá xi măng ở vị trí này tương đương với bê tông ở vị trí không bị ăn mòn;
+ Độ pH của bê tông lớn hơn 11, hàm lượng ion Cl- nhỏ hơn 1,2 kg/m3 bê tông.
Trong trường hợp không thể đáp ứng được yêu cầu trên thì cần áp dụng biện pháp quét sơn chống rỉ cốt thép, bảo vệ phòng ngừa bằng các lớp phủ bề mặt hoặc bảo vệ trực tiếp cốt thép bằng phương pháp catốt (xem 6.6.5.3 và 6.6.5.4).
Tẩy sạch bề mặt bê tông cũ bằng các biện pháp cơ học như cọ bằng bàn chải, thổi cát hoặc thổi bằng khí nén. Sau đó, rửa bề mặt bê tông bằng nước sạch dưới áp lực cao.
6.6.5.9. Gia cường kết cấu
Trong trường hợp kết cấu bị hư hỏng quá nặng, khả năng chịu lực hiện tại đã dưới giá trị giới hạn thì cần phải gia cường kết cấu. Về nguyên tắc có một số giải pháp sau:
- Bổ sung cốt thép bị hư hỏng cục bộ, không tăng tiết diện kết cấu.
- Tăng tiết diện kết cấu bằng phương pháp ốp thép hình hoặc thép tròn.
- Gia cường bằng dán bản thép.
- Gia cường bằng phương pháp ứng lực trước căng ngoài.
- Gia cường bằng biện pháp dùng kết cấu hỗ trợ hoặc thay thế.
Nguyên tắc lựa chọn giải pháp gia cường, thiết kế gia cường và thực hiện gia cường kết cấu tham khảo 6.1 của tiêu chuẩn này.
6.6.5.10. Bảo vệ chống ăn mòn trên bề mặt kết cấu
Trong môi trường xâm thực công nghiệp, cụ thể là các môi trường mang tính xâm thực mạnh và trung bình đối với bê tông (đối chiếu theo Quy phạm CHuП 2.03.11-85 (phiên bản tiếng Nga Matxcơva 1986), nhất thiết phải có lớp bảo vệ chống ăn mòn trên bề mặt kết cấu.
Vật liệu và cấu tạo lớp bảo vệ chống ăn mòn bề mặt được lựa chọn một cách thích hợp tùy thuộc vào dạng và tính chất xâm thực của môi trường, yêu cầu về chống va đập cơ học, mài mòn và các tác động nhiệt ẩm.
Có thể tham khảo chỉ dẫn kỹ thuật về cấu tạo lớp bảo vệ chống ăn mòn trên bề mặt kết cấu bê tông và bê tông cốt thép theo Qui phạm CHuП 2.03.11-85 (phiên bản tiếng Nga Matxcơva 1986) để lựa chọn vật liệu và cấu tạo lớp bê tông bảo vệ chống ăn mòn.
6.6.6. Ghi chép và lưu giữ hồ sơ
Toàn bộ quá trình kiểm tra chi tiết, thiết kế phương án sửa chữa và thi công sửa chữa đều phải được ghi chép đầy đủ theo trình tự quản lý chất lượng xây dựng cơ bản hiện hành, chuyển cho chủ đầu tư lưu giữ lâu dài. Cụ thể cần lập các hồ sơ sau:
- Các báo cáo kiểm tra ban đầu, thường xuyên và định kỳ;
- Báo cáo khảo sát chi tiết hư hỏng kết cấu;
- Hồ sơ thiết kế, sửa chữa, gia cường kết cấu;
- Nhật ký thi công;
- Các biên bản kiểm tra chất lượng vật liệu và chất lượng thi công từng giai đoạn;
- Hồ sơ hoàn công.
THƯ MỤC TÀI LIỆU THAM KHẢO
[1] TCXD 205:1998, Móng cọc - Tiêu chuẩn thiết kế.
[2] TCXDVN 239:2006, Bê tông nặng - Chỉ dẫn đánh giá cường độ bê tông trên kết cấu công trình
[3] Bê tông phun khô - Chỉ dẫn kỹ thuật thi công và nghiệm thu ban hành theo QĐ số 20/1999/QĐ-BXD.
[4] ACI 201. 2R-2002, Guide to durable concrete.
[5] ACI 224.1R-2002, Cause, evaluation and repair of crack in concrete structures.
[6] ACI 318 - 2002 (chapter 20) Strength evaluation of existing structures.
[7] ACI 503.2-1979, Standard specification for bonding plastic concrete to hardened concrete with a multi-component system epoxy adhesive.
[8] ASTM C 475:1990, Standard test method for microscope determination of parameters of the air void system in hardened concrete.
[9] ASTM C 856:1988, Standard practice for petrographic examination of hardened concrete.
[10] ASTM C 876:1999, Test method for half-cell potentials of uncoated reinforcing steel in concrete.
[11] ASTM 1084:1997, Test method for portland cement content of hardened hydraulic cement concrete.
[12] ASTM C 1152:1994, Test method for acid-soluble chloride in mortar and concrete.
[13] ASTM D 1293-95, Standard test methods for pH of water.
[14] ASTM C 1509:1990, Latex bonding agent for bonding fresh to hardened concrete.
[15] ASTM D 3963/D 3963M-93a, Standard specification for epoxy-coated reinforcing steel.
[16] ASTM D 5015:95, Test method for pH of atmospheric wet deposition samples by electrometric determination.
[17] CHuÕ 2.03.11-85, 3ащuma cmpomeльных консmрукцuϋ om коррозue (Phiên bản tiếng Nga Matxcơva 1986).
[18] BS 1881, Part 120:83, Method for determination of concrete compressive strength of concrete core.
[19] BS 1881-part 204:88, Recommendation on use of electromagnetic covermeter.
MỤC LỤC
Lời nói đầu
1 Phạm vi áp dụng
2 Tài liệu viện dẫn
3 Thuật ngữ và định nghĩa
4 Những vấn đề cơ bản của bảo trì
4.1 Yêu cầu chung
4.2 Nội dung bảo trì
4.3 Phân loại bảo trì
4.4 Các dạng hư hỏng của kết cấu
4.5 Kiểm tra công năng của kết cấu trong quá trình bảo trì
4.6 Quản lý kỹ thuật công tác bảo trì
5 Công tác kiểm tra
5.1 Nguyên tắc chung
5.2 Tay nghề và công cụ kiểm tra
5.3 Kiểm tra ban đầu
5.4 Kiểm tra thường xuyên
5.5 Kiểm tra định kỳ
5.6 Kiểm tra bất thường
5.7 Theo dõi
5.8 Yêu cầu đối với kiểm tra chi tiết
6 Sửa chữa kết cấu
6.1 Sửa chữa kết cấu hư hỏng do các nguyên nhân thuộc về thiết kế
6.2 Sửa chữa kết cấu hư hỏng do lún nền móng
6.3 Sửa chữa kết cấu hư hỏng do tác động của điều kiện khí hậu nóng ẩm
6.4 Sửa chữa kết cấu hư hỏng do cacbonat hóa bề mặt bê tông
6.5 Sửa chữa kết cấu hư hỏng do tác động của môi trường vùng biển
6.6 Sửa chữa kết cấu hư hỏng do tác động của môi trường xâm thực công nghiệp